LEMON Manuals: Even more car manuals for everyone: 1960-2025
Home >> Ford >> 1994 >> Mustang Base, 2D Convertible, Automatic >> Repair and Diagnosis >> Engine Performance >> System >> Engine Controls - Tests W/Codes - EEC-V (3.8L) >> Circuit Tests >> Circuit Test He - EGR System >> Diagnostic Aids
April 5, 2026: LEMON Manuals is launched! Read the announcement.

Diagnostic Aids

Perform this test when instructed by QUICK TEST. This test is only intended to diagnose:

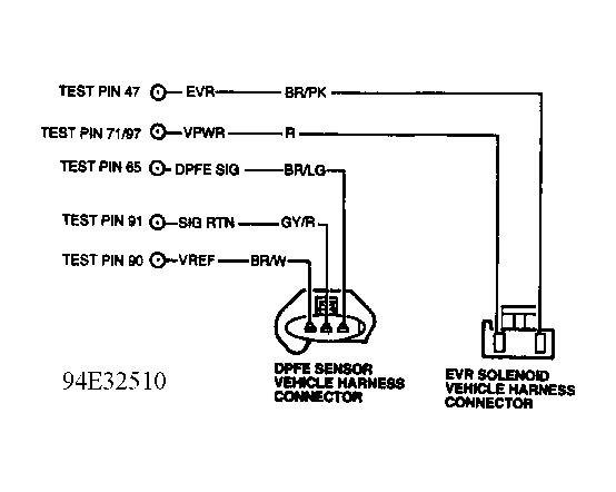
Fig 1: Circuits & Connector Terminal ID (HE1)
G94E32510
Fig 2: DPFE Vacuum Circuit (HE2)
G94F32511

  1. 1) Code P1400: Check DPFE Voltage

    This code indicates open in DPFE SIG circuit. Possible causes for this fault are:
    • Leaking upstream pressure hose.
    • DPFE SIG shorted to GND or SIG RTN circuit.
    • VREF shorted to GND or SIG RTN circuit.
    • Faulty DPFE sensor.
    • Faulty PCM.

    Turn ignition off. Connect scan tester to DLC. Turn ignition on. Using scan tester, access DPFE PID. If voltage is less than 0.2 volt, go to next step. If voltage is 0.2 volt or more, go to step 6).

  2. 2) Generate Opposite DPFE Signal

    Turn ignition off. Disconnect DPFE wiring harness connector. Using a jumper wire, connect DPFE SIG and VREF terminals at wiring harness connector. Turn ignition on. Using scan tester, access DPFE SIG PID. If scan tester error occurs, disconnect jumper wire and go to step 3). If DPFE PID value is not 4-6 volts, go to step 3). If DPFE PID value is 4-6 volts, replace DPFE sensor and repeat QUICK TEST.
  3. 3) Measure VREF Voltage At DPFE Sensor

    Leave DPFE sensor disconnected. Turn ignition on. Measure voltage between SIG RTN terminal and VREF terminal at DPFE wiring harness connector. If voltage is 4-6 volts, go to step 4). If voltage is not 4-6 volts, go to CIRCUIT TEST C  .
  4. 4) Check DPFE SIG For Short To Ground

    Leave DPFE sensor disconnected. Turn ignition off. Disconnect PCM 104-pin connector. Inspect for damaged pins and repair if necessary. Connect EEC-V Breakout Box (014-000950) leaving PCM disconnected. Measure resistance between test pin No. 65 (DPFE SIG) and 91 (SIG RTN) and test pins No. 51 and 103 (PWR GND). If each measurement is 10,000 ohms or more, replace PCM and repeat QUICK TEST. If each measurement is less than 10,000 ohms, repair short circuit and repeat QUICK TEST  .
    NOTE: A break in step numbering sequence occurs at this point. Procedure skips from step 4) to step 6). No test procedures have been omitted.
  5. 6) Wiggle Test Sensor & Harness

    With ignition off, connect scan tester to DLC. Turn ignition on. Access DPFE PID with scan tester. Observe DPFE PID for indication of fault while shaking and bending DPFE sensor wiring harness and connector. Tap lightly on DPFE sensor to simulate road shock. An indication of fault is a sudden change in DPFE PID voltage. If fault is indicated, isolate and repair as necessary. If no fault is indicated, go to CIRCUIT TEST Z  .
    NOTE: A break in step numbering sequence occurs at this point. Procedure skips from step 6) to step 10). No test procedures have been omitted.
  6. 10) Code P1401: Check DPFE Signal Voltage

    This code indicates PCM has detected DPFE SIG circuit input above maximum. Possible causes for this fault are:
    • Open circuit in DPFE SIG or SIG RTN circuit.
    • DPFE SIG shorted to VREF or PWR circuit.
    • VREF shorted to PWR circuit.
    • Faulty DPFE sensor.
    • Faulty PCM.

    With ignition off, connect scan tester to DLC. Turn ignition on. Access DPFE PID. If voltage is more than 4.0 volts, go to next step. If voltage is 4.0 volts or less, go to step 19).

  7. 11) Check DPFE SIG For Short To Power

    Turn ignition off. Disconnect DPFE wiring harness connector. Turn ignition on. Measure voltage between DPFE SIG terminal at wiring harness connector and negative battery terminal. If voltage is 10.5 volts or more, go to step 12). If voltage is less than 10.5 volts, go to step 13).
  8. 12)  Leave ignition off and DPFE sensor disconnected. Disconnect PCM 104-pin connector. Inspect for damaged pins and repair if necessary. Connect EEC-V Breakout Box (014-000950) leaving PCM disconnected. Turn ignition on. Measure voltage between test pin No. 65 (DPFE SIG) and test pins No. 51 and 103 (PWR GND) at breakout box. If voltage is 10.5 volts or more, repair short between DPFE SIF and PWR circuit. Repeat QUICK TEST. If voltage is less than 10.5 volts, replace PCM and repeat QUICK TEST.
  9. 13) Generate Opposite DPFE Signal

    Turn ignition off. Disconnect DPFE wiring harness connector. Using a jumper wire, connect DPFE SIG and SIG RTN terminals at wiring harness connector. Turn ignition on. Using scan tester, access DPFE SIG PID. If scan tester error occurs, disconnect jumper wire and go to step 18). If DPFE PID value is .05 volt or more, go to step 16). If DPFE PID value is less than .05 volt, go to next step.
  10. 14) Verify VREF Is Within Range

    Leave DPFE sensor disconnected. Turn ignition on. Measure voltage between SIG RTN terminal and VREF terminal at DPFE wiring harness connector. If voltage is 4-6 volts, go to step 15). If voltage is not 4-6 volts, go to CIRCUIT TEST C  .
  11. 15) Check DPFE SIG For Short To VREF

    Leave DPFE sensor disconnected. Turn ignition off. Disconnect PCM 104-pin connector. Inspect for damaged pins and repair if necessary. Connect EEC-V Breakout Box (014-000950) leaving PCM disconnected. Measure resistance between test pin No. 65 (DPFE SIG) and 90 (VREF) at breakout box. If resistance is 10,000 ohms or more, replace DPFE sensor and repeat QUICK TEST. If resistance is less than 10,000 ohms, repair short circuit and repeat QUICK TEST.
  12. 16) Check DPFE SIG For Open Circuit

    Leave ignition off and DPFE sensor disconnected. Disconnect PCM 104-pin connector. Inspect for damaged pins and repair if necessary. Connect EEC-V Breakout Box (014-000950) leaving PCM disconnected. Measure resistance between test pin No. 65 (DPFE SIG) and DPFE SIG terminal at DPFE sensor wiring harness connector. If resistance is less than 5 ohms, go to next step. If resistance is 5 ohms or more, repair open circuit and repeat QUICK TEST.
  13. 17) Check SIG RTN For Open Circuit

    Leave ignition off and DPFE sensor disconnected. Measure resistance between test pin No. 91 (SIG RTN) and SIG RTN terminal of DPFE sensor wiring harness connector. If resistance is less than 5 ohms, replace PCM and repeat QUICK TEST. If resistance is 5 ohms or more, repair open in SIG RTN circuit and repeat QUICK TEST.
  14. 18) Check DPFE SIG For Short To VREF

    Leave ignition off and DPFE sensor disconnected. Disconnect PCM 104-pin connector. Inspect for damaged pins and repair if necessary. Connect EEC-V Breakout Box (014-000950) leaving PCM disconnected. Measure resistance between test pin No. 65 (DPFE SIG) and 90 (VREF) at breakout box. If resistance is more than 10,000 ohms, replace PCM and repeat QUICK TEST. If resistance is 10,000 ohms or less, repair short between DPFE SIG and VREF circuit. Repeat QUICK TEST.
  15. 19) Wiggle Test Sensor & Harness

    With ignition off, connect scan tester to DLC. Turn ignition on. Access DPFE PID with scan tester. Observe DPFE PID for indication of fault while shaking and bending DPFE sensor wiring harness and connector. An indication of fault is a sudden change in DPFE PID voltage. Tap lightly on DPFE sensor to simulate road shock. If fault is indicated, isolate and repair as necessary. If no fault is indicated, go to CIRCUIT TEST Z  .
  16. 20) Code P0402: Check EGR Flow At Idle

    This code indicates PCM has detected EGR flow at idle. Possible causes for this fault are:
    • EGR valve stuck open.
    • EVR solenoid vent plugged.
    • EVR circuit shorted to ground.
    • Excessively worn or damaged vacuum hose.
    • Faulty EVR solenoid.
    • Faulty PCM.
    NOTE: If Continuous Memory Code P0405 is present, go to step 50).

    With ignition off, disconnect and plug EGR vacuum hose. Perform KOER self-test. If Code P0402 is present, service or replace EGR valve. If Code P0402 is not present, go to next step.

  17. 21)  Turn ignition off. Reconnect EGR vacuum hose. Perform KOER self-test. If Code P0402 is present, go to next step. If Code P0402 is not present, go to step 30).
  18. 22) Check EGR System

    Using vehicle's vacuum diagram label, check EGR system vacuum hoses for damage, tight connections and correct routing. If hoses are okay, go to next step. If hoses are not okay, repair as necessary. Clear PCM memory and repeat QUICK TEST.
  19. 23) Check EGR Flow With EVR Disconnected

    Turn ignition off. Disconnect EVR solenoid wiring harness connector. Perform KOER self-test. If Code P0402 is present, go to next step. If Code P0402 is not present, go to step 25).
  20. 24) Check EVR Vent

    Turn ignition off. Disconnect EVR solenoid vent cap and vacuum hoses. Remove EVR filter and inspect for restriction. Using a vacuum pump, apply 15 in. Hg to EVR vent. If EVR solenoid is plugged or restricted, repair or replace as necessary. Clear PCM memory and repeat QUICK TEST. If solenoid is not plugged or restricted, replace EVR solenoid. Clear PCM memory and repeat QUICK TEST.
  21. 25) Check EVR Solenoid Coil Resistance

    Turn ignition off. Disconnect EVR solenoid wiring harness connector. Measure resistance between EVR terminals. If resistance is 26-40 ohms, go to next step. If resistance is not 26-40 ohms, replace EVR solenoid. Clear PCM memory and repeat QUICK TEST.
  22. 26) Check EVR Circuit For Short To Ground

    Leave ignition off and EVR solenoid disconnected. Disconnect PCM 104-pin connector. Inspect for damaged pins and repair if necessary. Connect EEC-V Breakout Box (014-000950) leaving PCM disconnected. Measure resistance between test pin No. 47 (EVR) and test pins No. 51 and 103 (PWR GND) at breakout box. If resistance is more than 10,000 ohms, replace PCM and repeat QUICK TEST. If resistance is 10,000 ohms or less, repair short between EVR circuit and ground.
    NOTE: A break in step numbering sequence occurs at this point. Procedure skips from step 26) to step 30). No test procedures have been omitted.
  23. 30) Check DPFE Sensor Output

    Leave ignition off. Connect scan tester to DLC. Disconnect pressure hoses at DPFE sensor. Connect vacuum pump to DPFE sensor port marked REF. Turn ignition on. Using scan tester, access DPFE PID. PID voltage should be 0.2-0.7 volt. Apply 9 in. Hg to DPFE sensor. PID voltage should be more than 4.0 volts. Release vacuum from sensor. PID voltage should drop to less than one volt in less than 3 seconds. If voltage readings are as specified, go to next step. If voltages are not as specified, replace DPFE sensor. Clear PCM memory and repeat QUICK TEST.
  24. 31) Check DPFE SIG Voltage

    Leave ignition on. Using scan tester, access DPFE PID. PID voltage should be 0.2-0.7 volt. Connect vacuum hose to EGR valve and plug hose. Start engine and allow to idle. Observe DPFE PID voltage at idle and compare to static voltage. If voltage is higher at idle, apply 2-3 in. Hg to EGR valve and release vacuum. Repeat several times while observing DPFE PID voltage on scan tool. DPFE PID voltage should increase as valve begins to open and return to initial value as vacuum is released. A slow to return voltage is an indication of a slow closing EGR valve. If DPFE PID does not indicate fault, go to next step. If fault is indicated by DPFE PID, service or replace EGR VALVE. Clear PCM memory and repeat QUICK TEST.
  25. 32) Check EGR Valve Vacuum While Wiggling EVR Circuit

    Turn ignition off. Disconnect vacuum hose at EGR valve and connect to vacuum gauge. Turn ignition on. Observe vacuum gauge for indication of fault while wiggling EVR wiring harness and connector. Fault is indicated by a sudden jump in vacuum reading. Tap lightly on sensor to simulate road shock. If not fault is not indicated, go to next step. If fault is indicated, isolate and repair as necessary. Clear PCM memory and repeat QUICK TEST.
  26. 33) Check EVR Solenoid For Restriction

    Turn ignition off. Disconnect EVR solenoid vent filter. Inspect for contamination or water. Remove EGR vacuum hose and inspect for restriction. Repair or replace as necessary. If no faults can be found, problem is intermittent and cannot be identified at this time. Go to CIRCUIT TEST Z  .
    NOTE: A break in step numbering sequence occurs at this point. Procedure skips from step 33) to step 40). No test procedures have been omitted.
  27. 40) Code P1403: Check For Reversed Pressure Hoses

    Check hoses for proper connection. DPFE port marked HI should connect to exhaust side of orifice tube. DPFE port marked REF should connect to intake side of orifice tube. See Fig 2 . If hoses are not routed correctly, repair as necessary. Clear PCM memory and repeat QUICK TEST. If hoses are routed correctly, problem cannot be identified at this time. Clear PCM memory and repeat QUICK TEST.
    NOTE: A break in step numbering sequence occurs at this point. Procedure skips from step 40) to step 50). No test procedures have been omitted.
  28. 50) Code P1405: Check For Upstream Pressure Hose Connection

    Check upstream hose for clean, tight connection. See Fig 2 . Repair as necessary. Clear PCM memory and repeat QUICK TEST. If hose is okay, go to next step.
  29. 51) Inspect Upstream Pressure Hose

    Check upstream hose for clean, tight connection. Ensure hose is not pinched, wet or contaminated. Repair as necessary. Clear PCM memory and repeat QUICK TEST. If hose is okay, go to next step.
  30. 52) Inspect Orifice Tube Assembly & DPFE Sensor

    Check DPFE sensor port for restriction or damage. Inspect exhaust manifold side pressure pick-up tube at the orifice tube assembly for restriction or damage. Repair as necessary. Clear PCM memory and repeat QUICK TEST. If no faults are found, clear PCM memory and repeat QUICK TEST. If hose is okay, go to next step.
    NOTE: A break in step numbering sequence occurs at this point. Procedure skips from step 52) to step 60). No test procedures have been omitted.
  31. 60) Code P1406: Check For Downstream Pressure Hose Connection

    Check downstream hose for clean, tight connection. See Fig 2 . Repair as necessary. Clear PCM memory and repeat QUICK TEST. If hose is okay, go to next step.
  32. 61) Inspect Downstream Pressure Hose

    Check downstream hose for clean, tight connection. Ensure hose is not pinched, wet or contaminated. Repair as necessary. Clear PCM memory and repeat QUICK TEST. If hose is okay, go to next step.
  33. 62) Inspect Orifice Tube Assembly & DPFE Sensor

    Check DPFE sensor port for restriction or damage. Inspect intake manifold side pressure pick-up tube at the orifice tube assembly for restriction or damage. Repair as necessary. Clear PCM memory and repeat QUICK TEST. If no faults are found, go to next step.
  34. 63) DPFE Sensor Vacuum Check

    Turn ignition off. Connect scan tester to DLC. Disconnect pressure hoses at DPFE sensor. Connect vacuum pump to DPFE sensor port marked REF. Turn ignition on. Using scan tester, access DPFE PID. PID voltage should be 0.2-0.7 volt. Apply 8-9 in. Hg to DPFE sensor. PID voltage should be more than 4.0 volts. Release vacuum from sensor. PID voltage should drop to less than one volt in less than 3 seconds. If voltage readings are as specified, fault is not present at this time. Clear PCM memory and repeat QUICK TEST. If voltages are not as specified, replace DPFE sensor. Clear PCM memory and repeat QUICK TEST.
    NOTE: A break in step numbering sequence occurs at this point. Procedure skips from step 63) to step 70). No test procedures have been omitted.
  35. 70) Code P1407

    This code indicates self-test has detected no EGR flow. Possible causes are as follows:
    • EGR valve stuck closed.
    • EGR valve diaphragm leak.
    • EGR flow plugged or restricted.
    • Faulty EGR hose.
    • EVR VPWR circuit open.
    • EVR VPWR circuit to PCM open or shorted to PWR.
    • DPFE sensor VPWR circuit open.
    • DPFE sensor hoses faulty.
    • Faulty DPFE sensor.
    • Faulty EVR solenoid.
    • Faulty PCM.

    If fault is currently present, KOER Code P1408 should be present. Perform KOER self-test. If Code P1408 is present, go to next step. If Code P1408 is not present, go to step 90).

  36. 71) Code P1408

    This code indicates KOER self-test has detected EGR flow out of range. Possible causes are as follows:
    • EGR valve stuck closed.
    • EGR valve diaphragm leak.
    • EGR flow plugged or restricted.
    • Faulty EGR hose.
    • EVR VPWR circuit open.
    • EVR VPWR circuit to PCM open or shorted to PWR.
    • DPFE sensor VPWR circuit open.
    • DPFE sensor hoses faulty or reversed.
    • Downstream pressure hoses plugged or removed.
    • Faulty orifice tube assembly.
    • Faulty DPFE sensor.
    • Faulty EVR solenoid.
    • Faulty PCM.

    Retrieve Continuous Memory Codes. If any codes except Codes P1403 or P1406 are present, service as necessary before continuing. If Code 1403 is present, go to step 40). If Code 1406 is present, go to step 60). If no codes are present, go to next step.

  37. 72) Perform KOER SELF-TEST While Monitoring EGR Vacuum

    Disconnect vacuum hose from EGR valve. Connect hose to vacuum gauge. Perform KOER self-test while monitoring gauge. About 30 seconds into test, EGR vacuum should rise to 1.6 in Hg or more. If vacuum is correct, go to next step. If vacuum is incorrect, go to step 80).
  38. 73) Inspect DPFE Pressure Hoses

    Check both hoses for correct routing. Ensure hoses are not restricted or plugged or leaking. Inspect DPFE sensor and orifice tube assembly for restriction or damage at pick-up tube. If no faults are found, go to next step. If faults are found, repair or replace as necessary. Clear PCM memory and repeat QUICK TEST.
  39. 74) Check VREF Voltage at DPFE Sensor

    Turn ignition off. Disconnect DPFE sensor wiring harness connector. Turn ignition on. Measure voltage between VREF terminal and SIG RTN terminal at DPFE sensor wiring harness connector. If voltage is 4-6 volts, go to next step. If voltage is not 4-6 volts, go to CIRCUIT TEST C  .
  40. 75) Vacuum Check DPFE Sensor Output

    Turn ignition off. Connect scan tester to DLC. Disconnect pressure hoses at DPFE sensor. Connect vacuum pump to DPFE sensor port marked REF. Turn ignition on. Using scan tester, access DPFE PID. PID voltage should be 0.2-0.7 volt. Apply 8-9 in. Hg to DPFE sensor. PID voltage should be more than 4.0 volts. Release vacuum from sensor. PID voltage should drop to less than one volt in less than 3 seconds. If voltage readings are as specified, replace DPFE sensor. Clear PCM memory and repeat QUICK TEST. If voltages are not as specified, go to next step.
  41. 76) Vacuum Check DPFE Sensor Output

    Turn ignition off. Leave scan tester connected to DLC. Disconnect and plug hose at EGR valve. Connect vacuum pump to EGR valve. Start engine and allow to idle. Using scan tester, access DPFE and RPM PIDs. Slowly apply 5-10 in. Hg to EGR valve and hold for 10 seconds. It may be necessary to increase engine speed to avoid stalling. As vacuum increases, PID voltage should rise (up to 2.5 volts). When vacuum is held steady, PID voltage should hold steady. If vacuum is as specified, reconnect all components and go to step 85). If vacuum is not as specified, service or replace EGR valve. Clear PCM memory and repeat QUICK TEST.
    NOTE: A break in step numbering sequence occurs at this point. Procedure skips from step 76) to step 80). No test procedures have been omitted.
  42. 80) Check EVR Solenoid Vacuum

    Inspect EVR solenoid and EGR vacuum hoses for leaks, restrictions, damage or incorrect routing. Repair as necessary. Disconnect vacuum hoses at EVR solenoid. Connect vacuum pump to EVR solenoid vacuum supply hose. Start engine and allow to idle. If vacuum gauge reading is 15 in. Hg or more, go to next step. If vacuum gauge reading is less than 15 in. Hg, isolate fault and repair as necessary. Clear PCM memory and repeat QUICK TEST.
  43. 81) Check VPWR To EVR Solenoid

    Turn ignition off. Disconnect EVR solenoid wiring harness connector. Turn ignition on. Measure voltage between VPWR terminal at EVR solenoid wiring harness connector and chassis ground. If voltage is 10.5 volts or more, go to next step. If voltage is less than 10.5 volts, repair open in VPWR circuit. Clear PCM memory and repeat QUICK TEST.
  44. 82) Check Resistance at EVR Solenoid

    Turn ignition off. Leave EVR solenoid wiring harness connector disconnected. Measure resistance across EVR solenoid terminals. If resistance is 26-40 ohms, go to next step. If resistance is not 26-40 ohms, replace EVR solenoid. Clear PCM memory and repeat QUICK TEST.
  45. 83) Check EVR For Short To PWR

    Leave EVR solenoid disconnected. Turn ignition off. Disconnect PCM 104-pin connector. Inspect for damage pins and repair if necessary. Connect EEC-V Breakout Box (014-000950) leaving PCM disconnected. Turn ignition on. Measure voltage between test pin No. 47 (EVR) at breakout box and chassis ground. If voltage is less than one volt, go to next step. If voltage is one volt or more, repair EVR circuit short to PWR. Clear PCM memory and repeat QUICK TEST.
  46. 84) Check EVR Circuit For Open In Harness

    Leave ignition off and EVR solenoid disconnected. Measure resistance between test pin No. 47 (EVR) and EVR terminal at EVR solenoid wiring harness connector. If resistance is less than 5 ohms, go to next step. If resistance is 5 ohms or more, repair open in EVR circuit. Clear PCM memory and repeat QUICK TEST.
  47. 85) Check EVR Solenoid Vacuum Output Capability

    Leave ignition off. Connect EVR solenoid to wiring harness connector. Connect PCM to breakout box. Disconnect hose from EGR valve. Connect EGR vacuum hose to vacuum gauge. Start engine and allow to idle. Connect test pin No. 47 (EVR) at breakout box to chassis ground. If vacuum gauge reading is 4 in. Hg or more, replace PCM and repeat QUICK TEST. If vacuum gauge is less than 4 in. Hg, replace EVR solenoid. Clear PCM memory and repeat QUICK TEST.
    NOTE: A break in step numbering sequence occurs at this point. Procedure skips from step 85) to step 90). No test procedures have been omitted.
  48. 90) Check EGR System

    Leave ignition off. Check entire EGR system for deterioration or signs of failure. Repair or replace as necessary. If system is okay, go to next step.
  49. 91) Check EGR Valve Operation

    Leave ignition off. Disconnect EGR valve. Connect vacuum pump to EGR valve. Connect scan tester to DLC. Disconnect and plug hose at EGR valve. Connect vacuum pump to EGR valve. Start engine and allow to idle. Using scan tester, access DPFE PIDs. Slowly apply 5-10 in. Hg to EGR valve and hold for 5 seconds. It may be necessary to increase engine speed to avoid stalling. When vacuum increases, PID voltage should increase as EGR valve opens. EGR operation should be smooth with no binding. If EGR valve opens smoothly and holds vacuum, go to next step. If EGR valve is not as specified, service or replace EGR valve. Clear PCM memory and repeat QUICK TEST.
    NOTE: In cold climate, EGR valve may freeze shut and thaw when engine warms, causing intermittent trouble code to be set in PCM memory.
  50. 92) Check EVR For Short To PWR

    Turn ignition off. Leave EGR valve hose connected to vacuum gauge. Disconnect PCM 104-pin connector. Inspect for damage pins and repair if necessary. Connect EEC-V Breakout Box (014-000950) leaving PCM disconnected. Turn ignition on. Connect jumper wire between test pin No. 47 (EVR) at breakout box and chassis ground. Vacuum gauge reading should be more than 4.0 in. Hg. Observe vacuum gauge for fault while tapping lightly on EVR solenoid. Fault will be indicated by a sudden drop of vacuum. Wiggle EVR vacuum hoses, wiring harness and connector. If fault is indicated, isolate and repair as necessary. Clear PCM memory and repeat QUICK TEST. If no faults are indicated, symptom cannot be identified at this time. Go to CIRCUIT TEST Z  .