LEMON Manuals: Even more car manuals for everyone: 1960-2025
Home >> Ford >> 1994 >> Probe Base, Automatic >> Repair and Diagnosis >> External Pages >> Different car >> Section 38 (Engine Controls - System/Component Tests - EEC-IV (2.3L)) >> Ignition System >> Di System >> Diagnostic Aids
April 5, 2026: LEMON Manuals is launched! Read the announcement.

Diagnostic Aids

WARNING: This page is about a different car, the 1994 Mercury Topaz and 1994 Ford Tempo. However, it is still accessible from the selected car via links, so may be relevant.

PINPOINT TESTS A, AA, AAA, B and C are intended to diagnose hard faults. Intermittent failures may be difficult to diagnose using these procedures. Following information should be noted during testing:

NOTE: Start all diagnostics with QUICK TEST. See TESTS W/CODES - EEC-IV (2.3L) article in the ENGINE PERFORMANCE section. These tests are dependent on results and diagnostic trouble codes received during QUICK TEST.
DI PINPOINT TEST INDEX

Application Pinpoint Test/Step
No Start & No Codes Present
Distributor Mounted ICM A/1
Remote Mounted ICM AA/1
No Start & Code 211 Or 212 Present (PIP At PCM Fault)
Distributor Mounted ICM A/1
Remote Mounted ICM AA/1
Vehicle Runs Normal Until SPOUT In-Line Connector Disconnected (1) AAA/1
Code 212 (Engine Runs, IDM Missing B/1
Code 213 (Timing Incorrect, SPOUT Open, Poor Fuel Economy Or Poor Driveability) C/1
(1) Vehicles with remote mounted ICM only.
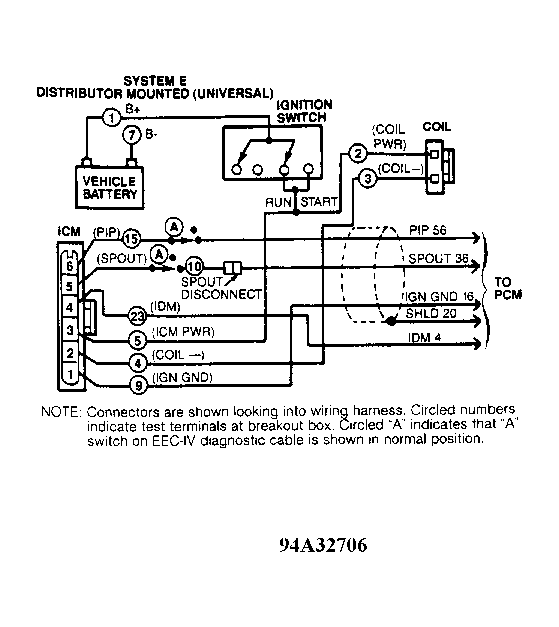
Fig 1: Distributor Mounted ICM System Diagram (2.3L HSC)
G94A32706