LEMON Manuals: Even more car manuals for everyone: 1960-2025
Home >> Ford >> 1994 >> Probe Base, Automatic >> Repair and Diagnosis >> External Pages >> Different car >> Section 41 (Engine Controls - System/Component Tests - EEC-IV (3.8L)) >> Ignition System >> Pinpoint Test A: No Start Distributor Mounted ICM
April 5, 2026: LEMON Manuals is launched! Read the announcement.

Pinpoint Test A: No Start Distributor Mounted ICM

WARNING: This page is about a different car, the 1994 Mercury Sable, 1994 Mercury Cougar, 1994 Lincoln Continental, 1994 Ford Thunderbird, and 1994 Ford Taurus. However, it is still accessible from the selected car via links, so may be relevant.
  1. Check For Codes Perform QUICK TEST. See TESTS W/CODES - EEC-IV (3.8L) article in the ENGINE PERFORMANCE section. If diagnostic trouble codes are present, service codes as required. If codes are not present, go to next step.
  2. Check Battery Turn ignition on. Check battery voltage. If battery voltage is less than 12 volts, service battery as necessary. If battery voltage is more than 12 volts, go to next step.
  3. Check For Spark While Cranking Using Neon Bulb Spark Tester (D89P6666-A), check for spark at coil wire while cranking. If spark is present, go to step 9). If spark is not present, go to next step.
  4. Check Power To ICM Turn ignition off. Connect EEC-IV Diagnostic Cable (007-00097) to EEC-IV Breakout Box (T83L-50-EECIV), negative battery terminal and ICM. Ensure PIP OPEN/NORMAL/SPOUT OPEN switch is in NORMAL position. Apply DI overlay on breakout box.
    WARNING: DO NOT connect EEC-IV Diagnostic Cable and PCM to EEC-IV Breakout Box simultaneously.

    Turn ignition on. Put DVOM on DC voltage scale. Measure voltage between J5 (ICM PWR) and J7 (B -). If voltage is 10 volts or less, repair open in ICM PWR circuit to ICM. If voltage is more than 10 volts, put DVOM on AC voltage scale and go to next step.

    Fig 1: EEC-IV Diagnostic Cable (007-00097)- Installation Arrangement ID (DI)
    G93F41496
  5. Check PIP Signal Measure voltage between J7 (B -) and J15 (PIP) while cranking engine. If AC voltage is not 3.0-8.5 volts, go to step 11). If AC voltage is 3.0-8.5 volts, go to next step.
  6. Check SPOUT Signal Measure voltage between J7 (B -) and J10 (SPOUT) while cranking engine. If AC voltage is not 3.0-8.5 volts, go to step 15). If AC voltage is 3.0-8.5 volts, go to next step.
  7. Check COIL PWR At Coil Turn ignition off. Connect diagnostic cable to ignition coil wiring harness connector. Leave ignition coil disconnected. Set DVOM on DC voltage scale. Turn ignition on. Measure voltage between J2 (COIL PWR) and J7 (B -). If DC voltage is 10 volts or less, repair open circuit in ignition coil circuit. If DC voltage is more than 10 volts, go to next step.
  8. Check COIL- Signal Turn ignition off. Connect B+ lead of diagnostic cable to positive battery terminal. Connect test light to J1 (B +) and J3 (COIL-). Crank engine. If test light does not flash brightly, go to step 23). If test light flashes brightly, replace coil. Remove test equipment, reconnect all components, and repeat QUICK TEST.
  9. Check For Spark Using Neon Bulb Spark Tester (D89P6666-A), check for spark at each spark plug wire while cranking. If spark is consistent at all spark plug wires, go to next step. If spark is not consistent, service distributor cap, rotor, plugs or plug wires.
  10. Check Spark Plugs Remove and inspect spark plugs. Replace plugs as necessary. If spark plugs are okay, no-start condition is not ignition related. See TESTS W/O CODES - EEC-IV (3.8L) article in the ENGINE PERFORMANCE section for symptom diagnosis.
  11. Check PIP Signal From ICM If AC voltage is not 3.0-8.5 volts in step 5), turn diagnostic cable switch to PIP OPEN position. Measure voltage between J7 (B -) and J15 (PIP) while cranking engine. If AC voltage is not 3.0-8.5 volts, go to step 14). If AC voltage is 3.0-8.5 volts, go to next step.
  12. Check For Short To Power In PIP Circuit Turn ignition off. Turn diagnostic cable switch to NORMAL position. Put DVOM on DC voltage scale. Disconnect diagnostic cable from ICM. Leave diagnostic cable attached to ICM wiring harness connector. Disconnect PCM connector. Turn ignition on. Measure voltage between J7 (B -) and J15 (PIP). If DC voltage is 0.5 volt or more, repair short in PIP circuit between PCM and ICM. If DC voltage is less than 0.5 volt, go to next step.
  13. Check For Short To Ground In PIP Circuit Turn ignition off. Measure resistance between J7 (B -) and J15 (PIP). If resistance is more than 10,000 ohms, replace PCM. If resistance is 10,000 ohms or less, repair short in PIP circuit between PCM and ICM.
  14. Check ICM Resistance If AC voltage was not 3.0-8.5 volts in step 11), turn ignition off. Remove ICM from distributor. Measure resistance of ICM circuits. See ICM RESISTANCE table. See Fig 2. If resistance is not as specified, replace ICM. If resistance is as specified, check stator and wiring inside distributor. Repair as necessary. If stator and wiring are okay, replace Camshaft Position (CMP) sensor.
    ICM RESISTANCE

    Between Terminals Ohms
    PIP (In) & PIP (Out) Less Than 150
    CMP PWR & ICM PWR Less Than 150
    GND & PIP (In) More Than 500
    GND & IGN GND Less Than 5
    PIP (In) & CMP PWR 900-1500
    Fig 2: Distributor Mounted ICM Terminal ID
    G94B32707
  15. Check SPOUT Signal If AC voltage was not 3.0-8.5 volts in step 6), turn diagnostic cable switch to SPOUT OPEN position. Measure voltage between J7 (B -) and J10 (SPOUT) while cranking engine. If AC voltage is 3.0-8.5 volts, replace ICM. Remove test equipment, reconnect all components, and repeat QUICK TEST. If AC voltage is not 3.0-8.5 volts, go to next step.
  16. Check SPOUT Circuit Voltage Turn ignition off. Turn diagnostic cable switch to NORMAL position. Disconnect diagnostic cable from ICM. Leave diagnostic cable attached to ICM wiring harness connector. Turn ignition on. Measure voltage between J7 (B -) and J10 (SPOUT). If DC voltage is less than 0.5 volt, go to step 18). If DC voltage is 0.5 volt or more, go to next step.
  17. Check For Short To Power In SPOUT Circuit Turn ignition off. Disconnect PCM. Turn ignition on. Measure voltage between J7 (B -) and J10 (SPOUT). If DC voltage is less than 0.5 volt, go to step 20). If DC voltage is 0.5 volt or more, repair short to power in SPOUT circuit between PCM and ICM.
  18. Check SPOUT Circuit Resistance Turn ignition off. Measure resistance between test pin J7 (B -) and J10 (SPOUT). If resistance is 10,000 ohms or less, go to next step. If resistance is more than 10,000 ohms, go to step 20).
  19. Check For Short To Ground In SPOUT Circuit Disconnect PCM. Measure resistance between J7 (B -) and J10 (SPOUT). If resistance is still 10,000 ohms or less, repair short to ground in SPOUT circuit between PCM and ICM. If resistance is more than 10,000 ohms, go to next step.
  20. Check For Open In PIP Circuit Ensure ignition is still off and PCM is disconnected. Measure resistance between breakout box test pin J15 (PIP) and PCM wiring harness connector terminal No. 56 (PIP). If resistance is 5 ohms or more, repair open in PIP circuit between PCM and ICM. If resistance is less than 5 ohms, go to next step.
  21. Check IGN GND At PCM Connect diagnostic cable to ICM. Measure resistance between breakout box test pin J7 (B -) and PCM wiring harness connector terminal No. 16 (IGN GND). If resistance is less than 5 ohms, replace PCM. If resistance is 5 ohms or more, go to next step.
  22. Check For Open In IGN GND Circuit Disconnect diagnostic cable from ICM. Leave diagnostic cable attached to ICM wiring harness connector. Measure resistance between breakout box test pin J9 (IGN GND) and PCM wiring harness connector terminal No. 16 (IGN GND). If resistance is less than 5 ohms, replace ICM. If resistance is 5 ohms or more, repair open in IGN GND circuit between PCM and ICM.
  23. Check For Open In COIL- Circuit If test light does not flash brightly in step 8), disconnect diagnostic cable from ICM. Leave diagnostic cable attached to ICM wiring harness connector. Disconnect diagnostic cable from positive battery cable. Measure resistance between J3 (COIL-) and J4 (COIL-). If resistance is 5 ohms or more, repair open in COIL- circuit between ignition coil and ICM. If resistance is less than 5 ohms, go to next step.
  24. Check For Short To Power In COIL- Circuit Put DVOM on DC voltage scale. Turn ignition on. Measure voltage between J3 (COIL-) and J7 (B -). If DC voltage is 5.5 volts or more, repair short to power in COIL- circuit between ignition coil and ICM. If DC voltage is less than 5.5 volts, go to next step.
  25. Check For Short To Ground In COIL- Circuit Turn ignition off. Measure resistance between J3 (COIL-) and J7 (B -). If resistance is 10,000 ohms or less, repair short in COIL- circuit between ignition coil and ICM. If resistance is more than 10,000 ohms, replace ICM.
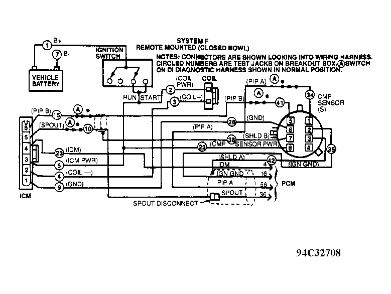
Fig 3: Remote Mounted ICM Sys. Diag. (Continental, Cougar (Calif.), Thunderbird (Calif.), Sable & Taurus)
G94C32708