LEMON Manuals: Even more car manuals for everyone: 1960-2025
Home >> Ford >> 1994 >> Probe Base, Automatic >> Repair and Diagnosis >> External Pages >> Different variant/trim >> Section 2 (Engine Controls - Tests W/Codes - EEC 2.5L) >> Circuit Tests >> Circuit Test VPWR - Vehicle Power
April 5, 2026: LEMON Manuals is launched! Read the announcement.

Circuit Test VPWR - Vehicle Power

WARNING: This page is about a different variant/trim than selected.
Fig 1: Power Relay Ckt. & Connector Terminal ID (VPWR - 2.5L)
G93A39776
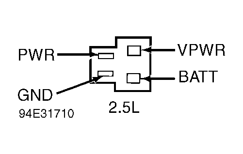
Fig 2: Power Relay Ckt. & Connector Terminal ID (VPWR - 2.5L)
G94E31710
NOTE: Enter this test only when directed here by other circuit tests. To prevent replacement of good components, check for faults in following non-EEC components: ignition switch, alternator, battery cables, ground straps and voltage regulator. This test is only intended to diagnose following circuits: VPWR and GND.
CIRCUIT PIN IDENTIFICATION

Circuit Breakout Box Pin No. PCM Pin Wire Color
GND 46 3D Black/Blue
GND 49 3C Black/Red
GND 20 3B Black
GND 40 & 60 3A Black
VPWR 37 & 57 1B Red/Black

1) Check Circuit Integrity  Visually check all wiring, connectors and components for evidence of damage, shorting or looseness. If fault is found, repair as necessary. If no fault is found, check battery voltage and charge condition. Service as necessary, and go to next step.

2) Check VPWR To PCM  Turn ignition off. Install breakout box, leaving PCM disconnected. Turn ignition on. Measure voltage at VPWR test pin at breakout box. If voltage is more than 10 volts, go to next step. If voltage is 10 volts or less, go to step 4).

3) Check PCM Grounds  Turn ignition off. With breakout box installed and PCM disconnected, measure resistance between ground and each GND test pin at breakout box. If all resistances are less than 5 ohms, VPWR circuit is okay. Return to circuit test that sent you here. If one or more resistances is 5 ohms or more, repair open in GND wire(s).

4) Check VPWR Wire From Main Relay To PCM  Ensure ignition is off, breakout box is installed and PCM is disconnected. Remove main relay. Relay is located inside engine compartment fuse/relay box. Measure resistance between VPWR test pin at breakout box and VPWR at main relay connector. If voltage is less than 5 ohms, go to next step. If voltage is 5 ohms or more, repair open VPWR wire.

5) Check Ground At Main Relay  Turn ignition off. Remove main relay. Measure resistance between ground and GND terminal at main relay connector. If resistance is less than 5 ohms, go to next step. If resistance is 5 ohms or more, repair open main relay ground wire.

6) Check Voltage At Main Relay  Turn ignition off. Measure voltage at BATT terminal at main relay connector. If voltage is more than 10 volts, go to next step. If voltage is 10 volts or less, check 30-amp F/P INJ fuse. Fuse is located in engine compartment fuse/relay box. Replace fuse if blown. If fuse is okay, repair wire between fuse and main relay.

7) Check Power To Main Relay  With main relay removed, turn ignition on. Measure voltage at PWR terminal at main relay connector. If voltage is more than 10 volts, replace main relay. If voltage is 10 volts or less, check 15-amp ENGINE fuse. Fuse is located in instrument panel fuse block. Replace fuse if blown. If fuse is okay, repair PWR wire.