LEMON Manuals: Even more car manuals for everyone: 1960-2025
Home >> Ford >> 1994 >> Taurus V6-232 3.8L >> Repair and Diagnosis >> Heating and Air Conditioning >> Refrigerant Filter >> Service and Repair
April 5, 2026: LEMON Manuals is launched! Read the announcement.

Refrigerant Filter: Service and Repair

A/C SYSTEM FILTERING

NOTE: Vehicles that have an inoperative A/C compressor, due to internal causes, should have the refrigerant system cleaned to remove any debris or contaminants that may be present to prevent damage to the replacement A/C compressor.

A Filter Kit should be installed in the refrigerant system prior to the installation of the replacement A/C compressor. The pancake filter, supplied with each kit, should be temporarily installed in the liquid line between the A/C condenser core and the A/C evaporator core orifice. The suction filter, supplied with each kit, should be installed in the suction line between the suction accumulator/drier and the A/C compressor. Install the replacement A/C compressor and the filters as outlined in the following procedure. The filter Kit for systems with the nylon lined suction hose is Ford part number F2VY-19E773-C.

CAUTION: Follow all the refrigerant system safety and service precautions.

INSTALLATION
1. Before removing any refrigerant system components, Recover the A/C system refrigerant following the approved recycling methods.
2. Remove the suction accumulator/drier and drain the oil into a calibrated container.

NOTE: Due to the internal design of the suction accumulator/drier, it will be necessary to drill two 13 mm (1/2 inch) holes in the suction accumulator/drier cylinder to drain the oil from the suction accumulator/drier.

3. Install a new suction accumulator/drier and add new refrigerant oil to replace the old oil. The quantity of new oil to be added is the amount to match that drained from the accumulator/drier plus 60 ml (2 oz).
4. Install a new A/C evaporator core orifice. If the A/C evaporator core orifice is located in the liquid line between the A/C condenser core and the A/C evaporator core, replace the liquid line assembly or install an orifice replacement kit.

Pancake Filter Installation:






5. Temporarily install the pancake filter in the liquid line between the A/C condenser core and the A/C evaporator core orifice. Be sure the filter inlet is toward the A/C condenser core. Connections can be made using the A/C Test Fitting Set, D88P-19703-B, and a flexible refrigerant hose of 2500 psi burst rating. Individual fittings are also available.
6. Remove the old A/C compressor and drain the oil into a calibrated container.
7. Drain the oil from the replacement A/C compressor into a clean calibrated container.

NOTE: It will be necessary to transfer the A/C clutch from the old A/C compressor to the replacement A/C compressor.

8. A new service replacement FS-10 A/C compressor contains 207 m1 (7 oz) of refrigerant oil. If the amount of oil drained from the removed A/C compressor is between 90 and 148 ml (3 to 5 oz), pour the same amount of clean refrigerant oil into the new A/C compressor. If the amount of oil drained from the old A/C compressor is greater than 148 ml (5 oz) pour the same amount of clean refrigerant oil into the new A/C compressor. If the amount of refrigerant oil drained from the old A/C compressor is less than 90 ml (3 oz), pour 90 ml (3 oz) of clean refrigerant oil into the new A/C compressor.
9. Install the new A/C compressor. Be sure all mounting bolts are tightened properly. Check the tension of the A/C compressor drive belt. Adjust it if necessary.

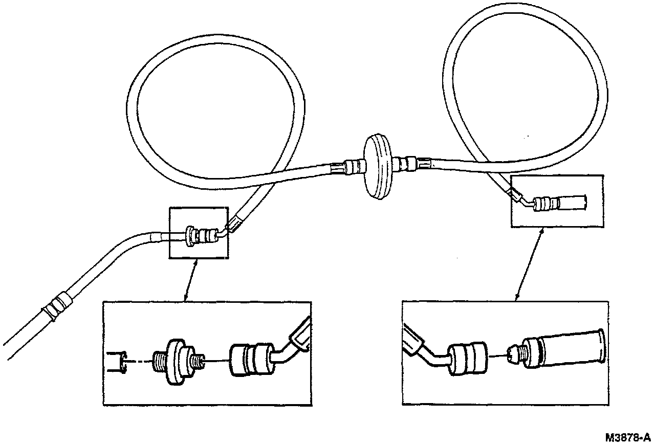
Filter For Nylon Hose:






10. Install the suction filter in the suction hose close to the A/C compressor. The suction filter shown in the illustration is for the nylon lined core hose. These filters have two grooves in the end tubes to accommodate 0-ring seals.
11. Remove a length of the suction hose (close to the A/C compressor end) to accommodate the suction filter and install the filter using A/C hose clamps. Be sure the filter is correctly oriented for the refrigerant system flow. Check the label on the filter. If using the filter for a nylon lined hose, install 0-ring seals included in the kit (two on each filter tube).
12. Leak test, evacuate, and charge the A/C system.
13. Check all refrigerant system hoses, lines, and the positioning of the newly installed filters to be sure they do not interfere with the other engine compartment components. If necessary, use tie straps to make adjustments.
14. Set the A/C control on MAX A/C, high A/C blower motor operation and the temperature control at full cold. Start the engine and let it idle briefly. Make sure the A/C system is operating properly.
15. Gradually bring the engine up to 1200 rpm by running it at lower rpms for short periods (first at 800 rpm, then at 1000 rpm). Set the engine at 1200 rpm and run it for an hour with the A/C system operating.
16. Stop the engine.
17. Recover the refrigerant from the A/C system using a recovery machine.
18. Allow the engine to cool sufficiently to remove the fittings, flexible hoses, and pancake filter from the liquid line.
19. Discard the pancake filter. It can be used one time only.
20. Reconnect the liquid line back into the system.
21. Evacuate, charge, and leak test the system. Make any necessary adjustments.
22. Check the operation of the A/C system in all control function selector lever positions.