LEMON Manuals: Even more car manuals for everyone: 1960-2025
Home >> Ford >> 1994 >> Thunderbird V8-281 4.6L SOHC >> Repair and Diagnosis >> Powertrain Management >> Computers and Control Systems >> Testing and Inspection >> Pinpoint Tests >> X - Constant Control Relay Module (CCRM) >> Test Schematic
April 5, 2026: LEMON Manuals is launched! Read the announcement.

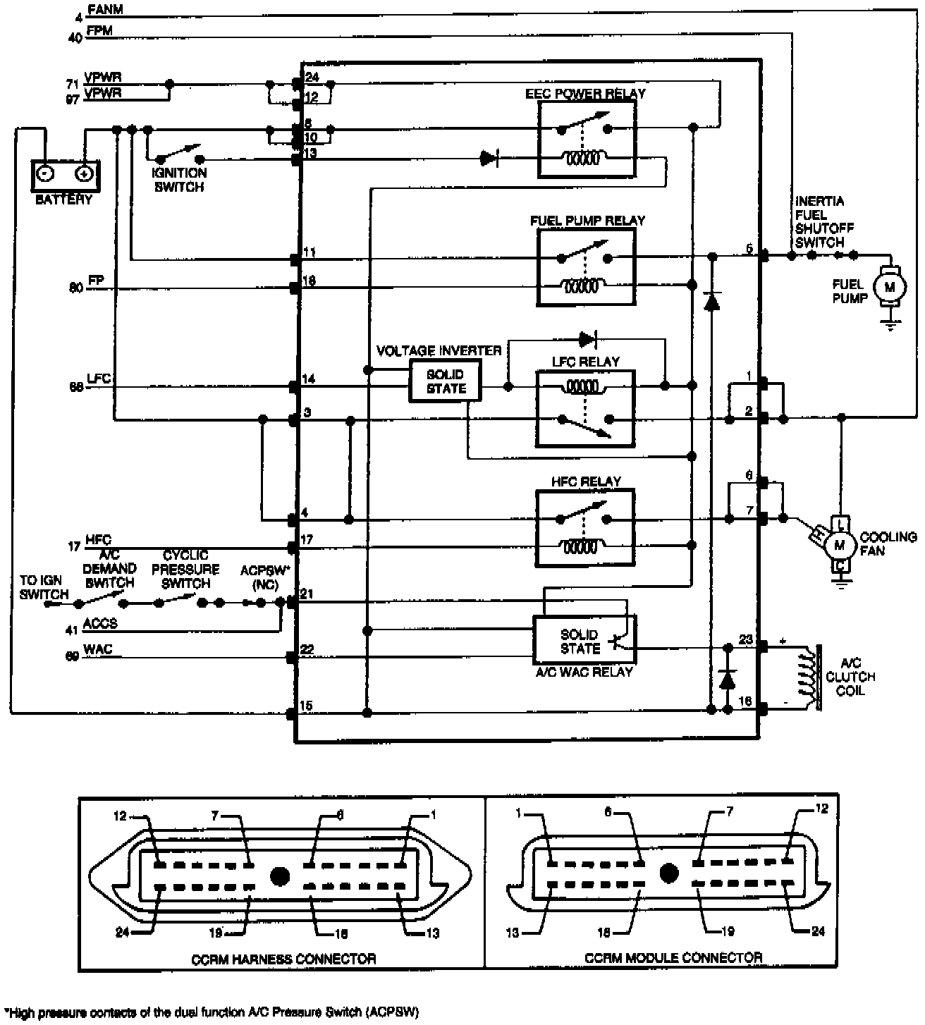
Test Schematic

Constant Control Relay Module Schematic: