LEMON Manuals: Even more car manuals for everyone: 1960-2025
Home >> Ford >> 1995 >> Probe Base, Automatic >> Repair and Diagnosis >> External Pages >> Different variant/trim >> Section 2 (Engine Controls - Tests W/Codes - EEC (2.5L)) >> Self-Diagnostic System >> Switch Monitor Test >> Analog VOM Or MIL
April 5, 2026: LEMON Manuals is launched! Read the announcement.

Analog VOM Or MIL

WARNING: This page is about a different variant/trim than selected.

1)  Turn engine off and allow to cool. Turn all accessories off. Disconnect PCM STI jumper from ground. Place shift lever in Park (A/T) or Neutral (M/T).

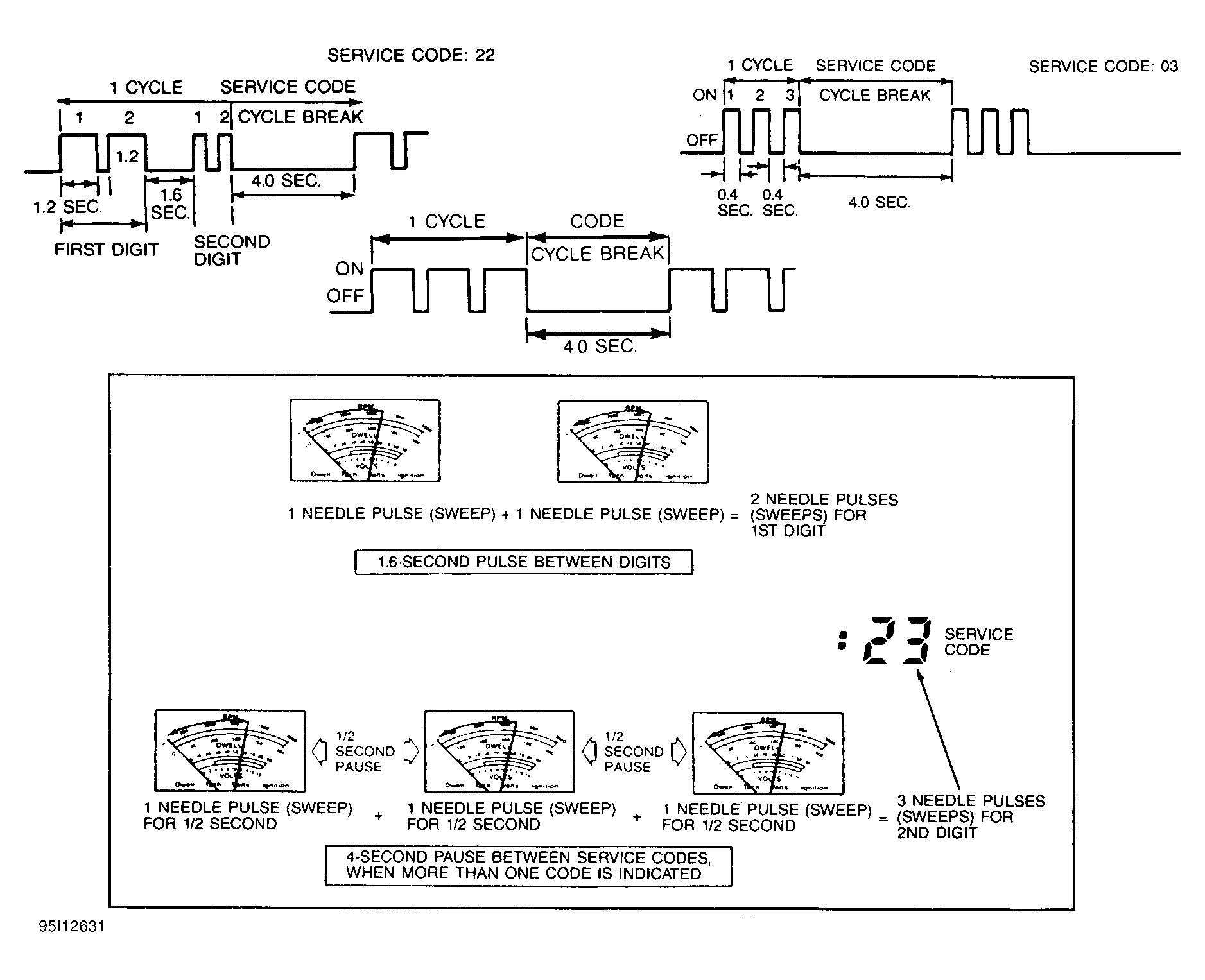
2)  Reconnect jumper wire between ground and PCM STI terminal at Data Link Connector (DLC). Using VOM, connect positive (+) lead to SML terminal at DLC. See Figure. Connect negative (-) lead to engine ground.

3)  Turn ignition on. Operate input switches individually while watching VOM (or MIL). See SWITCH MONITOR TEST SPECIFICATIONS  table. Ensure input switch is deactivated after each test. Leaving switch on while testing another switch may produce false results and cause misdiagnosis.

4)  If input switch fails test (reading on VOM is not as specified or MIL does not blink), perform related circuit test. See SWITCH MONITOR TEST SPECIFICATIONS  table. If all input devices fail, check Switch Monitor Light (SML) circuit. See CIRCUIT TEST SML. If all input devices test okay and no code is stored in PCM memory, EEC self-diagnostic system test is complete.

SWITCH MONITOR TEST SPECIFICATIONS

Switch/ Relay Condition Super Star II/ VOM Indication (1) Circuit Test
A/C Switch A/C & Blower Switch On LED On. Less Than 1.5 Volts STG 
Blower Motor Switch Blower Switch On High LED On. Less Than 1.5 Volts STG 
Brake On/Off Switch Brake Pedal Depressed LED On. Less Than 1.5 Volts STP 
Headlight Switch Headlight Switch On LED On. Less Than 1.5 Volts STP 
High Cooling Fan Relay Accelerator Pedal Depressed LED On. Less Than 1.5 Volts ROC 
Idle Switch (2)Accelerator Pedal Depressed LED On. Less Than 1.5 Volts STG 
Knock Sensor Tap On Engine While Running LED On. Less Than 1.5 Volts KS 
Manual LeverPosition Sw. (A/T) (3) LED On. Less Than 1.5 Volts STP 
Park/NeutralClutch PedalPosition Sw. (M/T) Transaxle In Gear & Clutch Pedal Released LED On. Less Than 1.5 Volts STG 
Rear Defrost Switch Rear Defroster Switch On LED On. Less Than 1.5 Volts STP 
(1) Proceed to circuit testindicated if Super Star II/VOM indication is incorrect. See CIRCUIT TESTS.
(2) Fan should operate at high speed.
(3) Set selector lever in "R", "D", 2 or 1.