LEMON Manuals: Even more car manuals for everyone: 1960-2025
Home >> Ford >> 1996 >> Taurus V6-182 3.0L >> Repair and Diagnosis >> Windows and Glass >> Windows >> Power Window Switch >> Testing and Inspection
April 5, 2026: LEMON Manuals is launched! Read the announcement.

Power Window Switch: Testing and Inspection

Master Window Control Switch - Component Testing Procedure:




Master Window Control Switch - Component Testing Procedure:




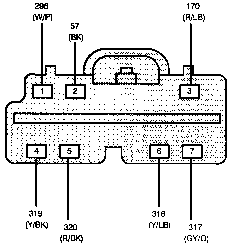
Master Window Control Switch - Terminal Locations:




Master Window Control Switch - Terminal Locations:




Master Window Control Switch - Schematic: