LEMON Manuals: Even more car manuals for everyone: 1960-2025
Home >> Ford >> 1997 >> Probe Base, Automatic >> Repair and Diagnosis >> External Pages >> Different car >> Section 32 (Mirrors - Power Memory) >> System Testing >> System Test "C" Memory Mirror Inoperative
April 5, 2026: LEMON Manuals is launched! Read the announcement.

System Test "C" Memory Mirror Inoperative

WARNING: This page is about a different car, the 1997 Lincoln Continental. However, it is still accessible from the selected car via links, so may be relevant.
  1. Driver Seat Module (DSM) Diagnostic Trouble Code (DTC) Check  - Connect New Generation Star (NGS) tester to Data Link Connector (DLC). Enter DIAGNOSTIC DATA LINK. Enter DSM (Driver Seat Module). Enter DIAGNOSTIC TEST mode. Retrieve continuous DTCs. If DTCs U1237 or U1067 are not indicated, go to next step. If specified codes are indicated, go to MODULE COMMUNICATIONS NETWORK article.
  2. Lighting Control Module (LCM) DTC Check  - Connect New Generation Star (NGS) tester ton Data Link Connector (DLC). Enter DIAGNOSTIC DATA LINK. Enter Lighting Control Module. Enter DIAGNOSTIC TEST mode. Retrieve continuous DTCs. If DTC U1237 is not indicated, go to next step. If DTC U1237 is indicated, go to MODULE COMMUNICATIONS NETWORK article.
  3. OFF LED Test  - Connect New Generation Star (NGS) tester to Data Link Connector (DLC). Enter DIAGNOSTIC DATA LINK. Enter DSM (Driver Seat Module). Select ACTIVE COMMAND modes. Select RECALL LED ILLUMINATE. Command OFF LED on. If OFF light illuminates, command OFF LED off and go to next step. If OFF light does not illuminate, check fuse No. 39 (10-amp) in dash fuse panel. Replace fuse if necessary and go to step 15).
  4. Switch Input ON Test  - Connect New Generation Star (NGS) tester to Data Link Connector (DLC). Enter DIAGNOSTIC DATA LINK. Enter DDM (Driver's Door Module). Enter PID/DATA MONITOR and record. Select PID MEM1SW (Memory 1 Switch). Press START button. If NGS tester does not indicate switch is active, go to next step. If NGS tester indicates switch is active, check Brown/Light Green wire for short to battery voltage. Also check for stuck switch. Repair or replace as necessary. Retest system.
  5. Switch Input OFF Test  - Connect New Generation Star (NGS) tester to Data Link Connector (DLC). Enter DIAGNOSTIC DATA LINK. Enter DDM (Driver's Door Module). Enter PID/DATA MONITOR and record. Select PID MEMSSW (Memory Off Switch). Press START button. If NGS tester does not indicate switch is active, go to next step. If NGS tester indicates switch is active, check Brown/Orange wire for short to batter voltage. Also check for stuck switch. Repair or replace as necessary. Retest system.
  6. Switch Input OFF Test  - Connect New Generation Star (NGS) tester to Data Link Connector (DLC). Enter DIAGNOSTIC DATA LINK. Enter DDM (Driver's Door Module). Enter PID/DATA MONITOR and record. Select PID MEM2SW (MEMORY "2" Switch). Press START button. If NGS tester does not indicate switch is active, go to next step. If NGS tester indicates switch is active, check Black/Orange wire for short to battery voltage. Also check for stuck switch. Repair or replace as necessary. Retest system.
  7. OFF Switch Test  - Repeat procedure in step 5). Press OFF switch. If NGS does not indicate OFF switch active, check for open in Brown/Orange wire. Also check for damaged switch. Repair or replace as necessary. Retest system.
  8. "1" Switch Test  - Repeat procedure in step 4). Press "1" switch. If NGS indicates OFF switch active, go to next step. If NGS does not indicate OFF switch active, check for open in Brown/Light Green wire. Also check for damaged switch. Repair or replace as necessary. Retest system.
  9. "2" Switch Test  - Repeat procedure in step 6). Press "2" switch. If NGS indicates OFF switch active, go to next step. If NGS does not indicate OFF switch active, check for open in Black/Orange wire. Also check for damaged switch. Repair or replace as necessary. Retest system.
  10. Seat & Mirror MEMORY "1" Test  - Turn ignition on. Set gear selector in Park. Press "1" switch. Seat and mirrors may move. Move seat and mirrors to desired position. This position will be saved as MEMORY "1". If message center displays SAVED TO DRIVER 1, 2 seconds after switch is released, go to next step. If specified message is not displayed, go to step 19).
  11. Autolamp Delay & Panel Intensity MEMORY "1" Test  - Turn park lights on. Adjust panel light intensity. This adjustment will be saved as MEMORY "1". Adjust autolamp delay time. This adjustment will be saved as MEMORY "1". If message center displays SAVED TO DRIVER 1, 2 seconds after switch is released, go to next step. If specified message is not displayed, replace lighting control module and retest system.
  12. Seat & Mirror MEMORY "2" Test  - Turn ignition on. Set gear selector in Park. Press "2" switch. Seat and mirrors may move. Move seat and mirrors to desired position. This position will be saved as MEMORY "2". If message center displays SAVED TO DRIVER 2, 2 seconds after switch is released, go to next step. If specified message is not displayed, go to step 19).
  13. Autolamp Delay & Panel Intensity MEMORY "2" Test  - Turn park lights on. Adjust panel light intensity. This adjustment will be saved as MEMORY "2". Adjust autolamp delay time. This adjustment will be saved as MEMORY "2". If message center displays SAVED TO DRIVER 2, 2 seconds after switch is released, go to next step. If specified message is not displayed, replace lighting control module and retest system.
  14. Memory Recall Setting "1" Test  - Turn ignition on. Press MEMORY "1" switch. If seat and mirrors move to position 1, go to next step. If seat and mirrors do not move as expected, replace driver's seat module and retest system.
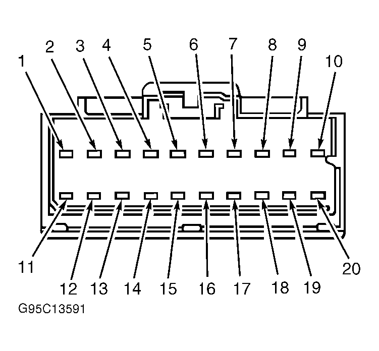
  15. Driver's Door Module (DDM) Power Test  - Unplug connectors C524 and C506 from DDM. Check for battery voltage at DDM connector C524 pin No. 6. See Fig 1 . If battery voltage exists, go to next step. If battery voltage does not exist, check fuse No. 39 (30-amp) in dash fuse panel. Also check for open in Light Green/Purple wire between fuse panel and power mirror switch. Repair or replace as necessary. Retest system.
    Fig 1: Identifying Driver's Door Module (DSM) Connector C524 Terminals
    G95E13593Courtesy of FORD MOTOR CO.
  16. LED Output Test  - Using a jumper wire, connect pin No. 6 of DDM connector C524 to pin No. 11 of DDM connector C506. See Figure and Fig 1 . If memory LED does not illuminate, reconnect DDM and go to next step. If memory LED illuminates, replace DDM and retest system.
  17. Circuit No. 272 Test (White/Orange Wire)  - Unplug memory set switch. Repeat procedure in step 3) to Command OFF LED on. Check White/Orange wire for voltage at set switch connector. If battery voltage exists, go to next step. If battery voltage does not exist, repair open in White/Orange wire. Retest system.
  18. Ground Circuit Test  - Check Black wire for continuity between ground and set switch. If continuity exists, replace set switch and retest system. If continuity does not exist, repair open in Black wire and retest system.
  19. Autolamp Delay & Panel Intensity MEMORY "1" Test  - Turn park lights on. Adjust panel light intensity. This adjustment will be saved as MEMORY "1". Adjust autolamp delay time. This adjustment will be saved as MEMORY "1". If message center displays SAVED TO DRIVER 1, 2 seconds after switch is released, go to next step. If specified message is not displayed, replace Driver Seat Module (DSM) and retest system.
  20. Memory Recall Test  - Turn ignition on. Set gear selector in Park. Press OFF switch. Move seat and mirrors. Press MEMORY "1" switch. Press MEMORY "2" switch (if MEMORY "2" was set previously). If seat and mirrors adjust to positions "1" and "2", service instrument cluster. See INSTRUMENT PANEL - ELECTRONIC article. Retest system. If seat and mirrors do not adjust as expected, replace DDM. Retest system.
  21. Memory OFF Check  - With ignition on, press OFF button on driver's door. If OFF LED illuminates, system is operating normally. If OFF LED does not illuminate, replace DDM and retest system.