LEMON Manuals: Even more car manuals for everyone: 1960-2025
Home >> Ford >> 1998 >> Escort L4-122 2.0L SOHC >> Repair and Diagnosis >> Powertrain Management >> Computers and Control Systems >> Air Flow Meter/Sensor >> Service and Repair
April 5, 2026: LEMON Manuals is launched! Read the announcement.

Air Flow Meter/Sensor: Service and Repair

REMOVAL
1. Disconnect the battery ground cable.
2. Remove the air cleaner outlet tube and the engine air cleaner.







3. Slide the grommet out of the engine air cleaner.







4. Disconnect the electrical connector.







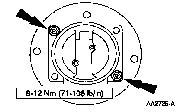
5. Use a suitable tool to remove the MAF sensor cover.







6. Remove the two nuts and remove the mass air flow sensor.







INSTALLATION
1. Follow the removal procedure in reverse order.