LEMON Manuals: Even more car manuals for everyone: 1960-2025
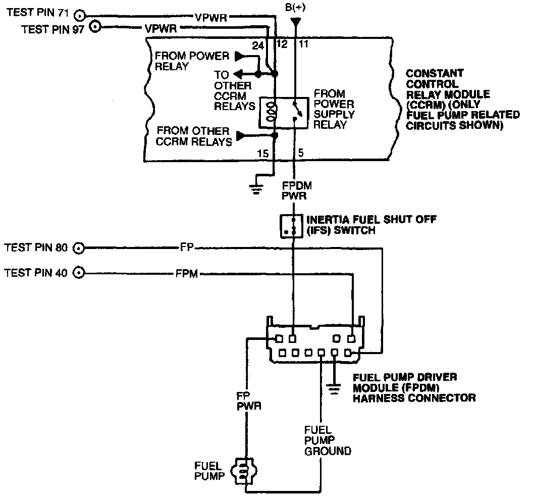
Home >> Ford >> 1998 >> Escort L4-122 2.0L SOHC >> Repair and Diagnosis >> Powertrain Management >> Computers and Control Systems >> Testing and Inspection >> Pinpoint Tests >> KB - Fuel Pump Driver Module (FPDM) >> Pinpoint Test Schematics
April 5, 2026: LEMON Manuals is launched! Read the announcement.

Pinpoint Test Schematics