LEMON Manuals: Even more car manuals for everyone: 1960-2025
Home >> Ford >> 1998 >> Escort L4-122 2.0L SOHC >> Repair and Diagnosis >> Powertrain Management >> Computers and Control Systems >> Transmission Position Sensor/Switch >> Service and Repair
April 5, 2026: LEMON Manuals is launched! Read the announcement.

Transmission Position Sensor/Switch: Service and Repair

REMOVAL





1. Disconnect the battery ground cable.
2. Remove the air cleaner outlet tube.





3. Remove the (A) shift cable and bracket nut and the (B) control cable front clamp.





4. Remove the (A) manual control lever nut and the (B) manual control lever.





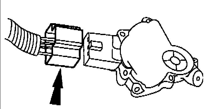
5. Disconnect the Transmission Range (TR) sensor electrical connector.





6. Remove the TR sensor bolts and remove the TR sensor.

INSTALLATION





1. Shift the transmission into neutral then align the marks on the Transmission Range (TR) sensor and the manual control lever while installing and hand-tightening the two bolts.





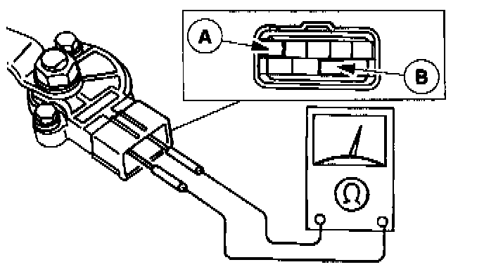
2. Connect an ohmmeter between (A) terminal A and (B) terminal H.





3. Adjust the TR sensor to the point where there is no continuity between the terminals by rotating the TR sensor housing on the manual control lever.





4. Tighten the TR sensor bolts while holding the switch in place.





5. Connect the TR sensor electrical connector.





6. Position the manual control lever into place and tighten the manual control lever nut to specification.





7. Install the shift cable and bracket and nut to specification.
8. Install the air cleaner outlet tube.





9. Connect the battery ground cable.

NOTE: When the battery is disconnected and reconnected, some abnormal drive symptoms may occur while the vehicle relearns its adaptive strategy. The vehicle may need to be driven 16 km (10 miles) or more to relearn the strategy.