LEMON Manuals: Even more car manuals for everyone: 1960-2025
Home >> Ford >> 1998 >> Mustang Base, 2D Convertible, Automatic >> Repair and Diagnosis >> External Pages >> Different car >> Section 238 (Anti-Lock Control) >> Diagnosis And Testing >> Anti-Lock Control >> Pinpoint Tests >> Pinpoint Test P: DTC C1440 - Pressure Transducer Input Circuit Failure >> Pinpoint Test P: DTC C1440 - PRESSURE TRANSDUCER INPUT CIRCUIT FAILURE
April 5, 2026: LEMON Manuals is launched! Read the announcement.

Pinpoint Test P: DTC C1440 - PRESSURE TRANSDUCER INPUT CIRCUIT FAILURE

WARNING: This page is about a different car, the 2005 Lincoln LS. However, it is still accessible from the selected car via links, so may be relevant.
NOTE: Excessive clearance between brake pad and rotor, leaks, or air in the hydraulic brake system can also set DTC C1440.
  1. P1 CHECK FOR DTCs 
    • Key in ON position.
    • Connect the diagnostic tool.
    • Retrieve the DTCs.
    • Is DTC C1483, C1287, B2734, B2736, B2737, B2738 or B2740 present? 
    • Yes  : SERVICE these DTCs first. GO to the appropriate pinpoint test for each DTC received.
    • No  : GO to  P2.
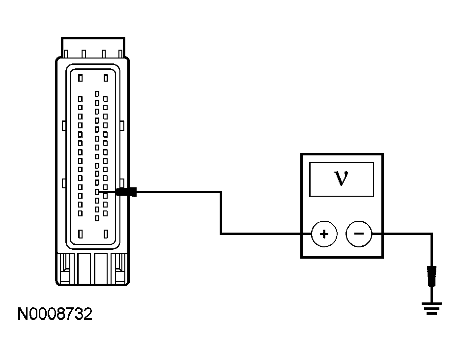
  2. P2 CHECK FOR 5 VOLT REFERENCE VOLTAGE TO THE PRESSURE TRANSDUCER 
    • Key in OFF position.
    • Disconnect: Pressure Transducer C147.
    • Key in ON position.
    • Measure the voltage between pressure transducer C147-1, circuit 9-CF64 (BN/YE), harness side and pressure transducer C147-3, circuit 7-CF64 (YE/BK), harness side.
      Fig 1: Measuring Voltage Between Pressure Transducer C147-1, Circuit 9-CF64 (BN/YE), Harness Side And Pressure Transducer C147-3, Circuit 7-CF64 (YE/BK), Harness Side
      G03995561Courtesy of FORD MOTOR CO.
    • Is the voltage approximately 5 volts? 
    • Yes  : GO to  P6.
    • No  : GO to  P3.
  3. P3 CHECK CIRCUITS FOR A SHORT TO VOLTAGE 
    • Key in OFF position.
    • Disconnect: ABS Module C155.
    • Key in ON position.
    • Measure the voltage between pressure transducer C147-3, circuit 7-CF64 (YE/BK), harness side and ground; and between pressure transducer C147-1, circuit 9-CF64 (BN/YE), harness side and ground; and between pressure transducer C147-2, circuit 8-CF64 (WH/BK), harness side and ground.
      Fig 2: Measuring Voltage Between Pressure Transducer Circuits, Harness Side And Ground
      G03995562Courtesy of FORD MOTOR CO.
    • Is any voltage present? 
    • Yes  : REPAIR the circuit in question. CLEAR the DTC. REPEAT the self-test.
    • No  : GO to  P4.
  4. P4 CHECK CIRCUITS FOR A SHORT TO GROUND 
    • Key in OFF position.
    • Measure the resistance between pressure transducer C147-3, circuit 7-CF64 (YE/BK), harness side and ground; between pressure transducer C147-1, circuit 9-CF64 (BN/YE), harness side and ground; and between pressure transducer C147-2, circuit 8-CF64 (WH/BK), harness side and ground.
      Fig 3: Measuring Resistance Between Pressure Transducer Circuits, Harness Side And Ground
      G03995563Courtesy of FORD MOTOR CO.
    • Is the resistance greater than 10,000 ohms? 
    • Yes  : GO to  P5.
    • No  : REPAIR the circuit in question. CLEAR the DTC. REPEAT the self-test.
  5. P5 CHECK CIRCUIT RESISTANCE 
    • Measure the resistance between ABS module C155 and pressure transducer C147 pins.
      ABS Module C155 Pressure Transducer C147 Circuit
      Pin 18 Pin 3 7-CF64 (YE/BK)
      Pin 20 Pin 2 8-CF64 (WH/BK)
      Pin 19 Pin 1 9-CF64 (BN/YE)
    • Is the resistance less than 5 ohms? 
    • Yes  : GO to  P6.
    • No  : REPAIR the circuit in question. CLEAR the DTC. REPEAT the self-test.
  6. P6 CHECK THE SIGNAL FROM THE PRESSURE TRANSDUCER 
    • Connect: Pressure Transducer C147.
    • Disconnect: ABS Module C155-20, circuit 8-CF64 (WH/BK).
    • Connect: ABS Module C155.
    • Key in ON position.
    • Measure the voltage between ABS C155-20, circuit 8-CF64 (WH/BK), harness side and ground while applying and releasing the brake pedal.
      Fig 4: Measuring Voltage Between ABS C155-20, Circuit 8-CF64 (WH/BK), Harness Side And Ground
      G03995564Courtesy of FORD MOTOR CO.
    • Is any voltage present? 
    • Yes  : INSTALL a new ABS module. REFER to ANTI-LOCK BRAKE SYSTEM (ABS) MODULE  in this article .
    • No  : INSTALL a new pressure transducer. CLEAR the DTC. REPEAT the self-test.