LEMON Manuals: Even more car manuals for everyone: 1960-2025
Home >> Ford >> 1999 >> Contour SVT >> Repair and Diagnosis >> External Pages >> Different car >> Section 1190 (Climate Control System - General Information And Diagnostics) >> Diagnostic Tests >> Climate Control System >> Vacuum System
April 5, 2026: LEMON Manuals is launched! Read the announcement.

Vacuum System

WARNING: This page is about a different car, the 2008 Ford RV Cutaway, 2008 Ford Econoline, 2008 Ford E450 Super Duty, and 2008 Ford Cutaway. However, it is still accessible from the selected car via links, so may be relevant.
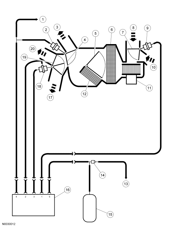
Fig 1: Vacuum Schematic
GF0012614Courtesy of FORD MOTOR CO.
Item Part Number Description
1 - Vacuum to the auxiliary A/C system (if equipped)
2 18A318 Vacuum control motor - floor/panel door
3 - Panel vent airflow
4 - Floor/panel door (full vacuum position) (part of 18471)
5 18B545 Temperature blend door (full heat position)
6 19860 Evaporator core
7 19A813 Air inlet door (full vacuum position)
8 - Outside air inlet
9 18A318 Vacuum control motor - air inlet duct door
10 - Recirculated air inlet
11 19805 Blower motor
12 18476 Heater core
13 - Vacuum from the engine intake manifold (gas engine) or vacuum pump (diesel engine)
14 19A563 A/C vacuum check valve
15 19A566 A/C vacuum reservoir tank and bracket
16 19B888 Function selector switch
17 - Floor airflow
18 18A318 Vacuum control motor - floor/defrost door
19 - Floor/defrost door (full vacuum position) (part of 18471)
20 - Defrost airflow
Fig 2: Vacuum Connector End View
GF0012615Courtesy of FORD MOTOR CO.
Port Hose Color Function
1 White Recirculation air duct door
2 Red Floor/defrost door
3 Yellow Floor/defrost door
4 Blue Floor/panel door
5 Black Vacuum source
6 - Not used
VACUUM APPLICATION CHART

Switch Port Color Function Function Selector Switch Position
MAX A/C NORM A/C VENT OFF FLOOR MIX DEF
1 White Recirc/fresh V NV NV V NV NV NV
2 Red Floor/defrost V V V V V NV NV
3 Yellow Floor/defrost V V V V V V NV
4 Blue Floor/panel V V V NV NV NV NV
5 Black Vacuum source V V V V V V V
V = Vacuum
NV = No Vacuum