LEMON Manuals: Even more car manuals for everyone: 1960-2025
Home >> Ford >> 1999 >> Windstar V6-3.8L VIN 4 >> Repair and Diagnosis >> Powertrain Management >> Relays and Modules - Powertrain Management >> Relays and Modules - Computers and Control Systems >> Engine Control Module >> Service and Repair >> Removal and Replacement
April 5, 2026: LEMON Manuals is launched! Read the announcement.

Removal and Replacement

REMOVAL
1. Disconnect the battery ground cable.
2. Remove cowl top vent panel.







3. Remove the Powertrain Control Module (PCM) connector.
1 Remove the bolt.
2 Remove the connector.







4. Remove the PCM cover.
- Remove the nuts.
- Remove the cover.
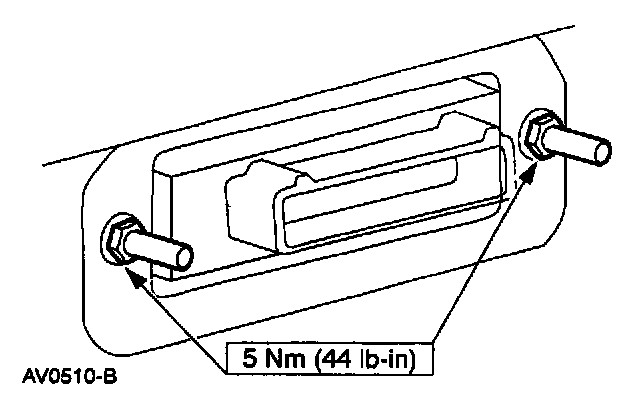
5. Remove the powertrain control module.

INSTALLATION












1. To install, reverse the removal procedure.

NOTE: When the battery is disconnected and reconnected, some abnormal drive symptoms may occur while the vehicle relearns its adaptive strategy. The vehicle may need to be driven 16 km (10 miles) or more to relearn the strategy.