LEMON Manuals: Even more car manuals for everyone: 1960-2025
Home >> Ford >> 2000 >> Contour SE, 2.5 L, Automatic >> Repair and Diagnosis >> External Pages >> Different car >> Section 1304 (Navigation System) >> Diagnosis And Testing >> Navigation System >> Pinpoint Test J: DTC B2633 Driver - Front Microphone Circuit Failure >> Pinpoint Test J: DTC B2633 Driver - Front Microphone Circuit Failure
April 5, 2026: LEMON Manuals is launched! Read the announcement.

Pinpoint Test J: DTC B2633 Driver - Front Microphone Circuit Failure

WARNING: This page is about a different car, the 2005 Lincoln LS. However, it is still accessible from the selected car via links, so may be relevant.
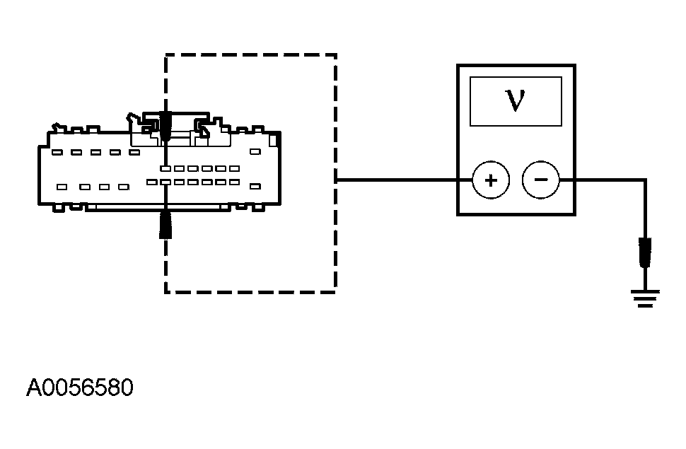
  1. J1 CHECK VOICE SIGNAL FROM THE MICROPHONE 
    • Key in OFF position.
    • Disconnect: Navigation System Module C4209.
    • Key in ON position.
    • Measure the voltage between the navigation system module C4209-7, circuit 8-MC8 (WH/RD), harness side and between the navigation system module C4209-19, 9-MC8 (BN/RD), harness side while speaking loudly into the rear view mirror microphone.
      Fig 1: Checking Voice Signal From Microphone
      G03931282Courtesy of FORD MOTOR CO.
    • Is any AC voltage indicated? 
    • Yes  : GO to  J6.
    • No  : GO to  J2.
  2. J2 CHECK CIRCUIT 75-AD15 (YE/BU) FOR VOLTAGE 
    • Key in OFF position.
    • Disconnect: Rear View Mirror C911.
    • Key in ON position.
    • Measure the voltage between the rear view mirror C911-13, circuit 75-AD15 (YE/BU), harness side and ground.
      Fig 2: Checking Circuit 75-AD15 (YE/BU) For Voltage
      G03931283Courtesy of FORD MOTOR CO.
    • Is the voltage greater than 10 volts? 
    • Yes  : GO to  J3.
    • No  : REPAIR the circuit. CLEAR the DTCs. REPEAT the self-test.
  3. J3 CHECK CIRCUIT 31-AD15 (BK) FOR AN OPEN 
    • Key in OFF position.
    • Measure the resistance between the rear view mirror C911-2, circuit 31-AD15 (BK/OG), harness side and ground.
      Fig 3: Checking Circuit 31-Ad15 (BK) For Open
      G03931284Courtesy of FORD MOTOR CO.
    • Is the resistance less than 5 ohms? 
    • Yes  : GO to  J4.
    • No  : REPAIR the circuit. CLEAR the DTCs. REPEAT the self-test.
  4. J4 CHECK CIRCUITS 8-MC8 (WH/RD) AND 9-MC8 (BN/RD) FOR AN OPEN AND A SHORT TO GROUND 
    • Measure the resistances between the navigation system module C4209 pins, harness side and the rear view mirror C911 pins, harness side; and between the navigation system module C4209 pins, harness side and ground as follows:
      Navigation System Module Pin Rear View Mirror Pin Circuit
      C4209-7 C911-9, 8-MC8 (WH/RD)
      C4209-19 C911-10 9-MC8 (BN/RD)
      Fig 4: Checking Circuits 8-MC8 (WH/RD) And 9-MC8 (BN/RD) For Open And Short To Ground
      G03999189Courtesy of FORD MOTOR CO.
    • Are the resistances less than 5 ohms between the navigation system module and the rear view mirror; and greater than 10,000 ohms between the navigation system module and ground? 
    • Yes  : GO to  J5.
    • No  : REPAIR the circuit in question. CLEAR the DTCs. REPEAT the self-test.
  5. J5 CHECK CIRCUITS 8-MC8 (WH/RD) AND 9-MC8 (BN/RD) FOR A SHORT TO VOLTAGE 
    • Key in ON position.
    • Measure the voltage between the navigation system module C4209-7, circuit 8-MC8 (WH/RD), harness side and ground; and between the navigation system module C4209-19, circuit 9-MC8 (BN/RD), harness side and ground.
      Fig 5: Checking Circuits 8-MC8 (WH/RD) And 9-MC8 (BN/RD) For Short To Voltage
      G03931286Courtesy of FORD MOTOR CO.
    • Is any voltage indicated? 
    • Yes  : REPAIR the circuit in question. CLEAR the DTCs. REPEAT the self-test.
    • No  : INSTALL a new rear view mirror. REFER to REAR VIEW MIRRORS . CLEAR the DTCs. REPEAT the self-test.
  6. J6 CHECK FOR CORRECT NAVIGATION SYSTEM MODULE OPERATION 
    • Disconnect all the navigation system module connectors.
    • Check for:
      • corrosion
      • pushed-out pins
    • Connect all the navigation system module connectors and make sure they seat correctly.
    • Operate the system and verify the concern is still present.
    • Is the concern still present? 
    • Yes  : INSTALL a new navigation system module. REFER to NAVIGATION SYSTEM MODULE  in this article. TEST the system for normal operation.
    • No  : The system is operating correctly at this time. The concern may have been caused by a loose or corroded connector. CLEAR the DTCs. REPEAT the self-test.