LEMON Manuals: Even more car manuals for everyone: 1960-2025
Home >> Ford >> 2000 >> Contour SVT >> Repair and Diagnosis >> External Pages >> Different car >> Section 1035 (Cruise Control System -- F150 Pickup) >> Diagnosis And Testing >> Speed Control >> Pinpoint Tests >> Pinpoint Test C: DTC P0579 or DTC P0581 - Speed Control Switch Circuit Failure >> Pinpoint Test C: DTC P0579 Or DTC P0581 - Speed Control Switch Circuit Failure
April 5, 2026: LEMON Manuals is launched! Read the announcement.

Pinpoint Test C: DTC P0579 Or DTC P0581 - Speed Control Switch Circuit Failure

WARNING: This page is about a different car, the 2005 Ford Pickup. However, it is still accessible from the selected car via links, so may be relevant.
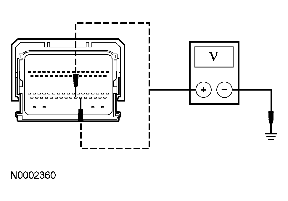
  1. C1 CHECK THE SPEED CONTROL SWITCH CIRCUITRY FOR A SHORT TO VOLTAGE 
    • Key in OFF position.
    • Disconnect: PCM C175b.
    • Key in ON position.
    • Turn the parking lamps on.
    • Measure the voltage between the PCM C175b-56, circuit 151 (LB/BK), harness side and ground; and between the C175b-57, circuit 848 (DG/OG), harness side and ground.
      Fig 1: Checking Speed Control Switch Circuitry For Short To Voltage
      G03965101Courtesy of FORD MOTOR CO.
    • Is any voltage present? 
    • Yes  : TURN the parking lamps off. GO to  C2.
    • No  : TURN the parking lamps off. GO to  C5.
  2. C2 CHECK THE AUDIO UNIT 
    • Key in OFF position.
    • Disconnect: Audio Unit C290a.
    • Key in ON position.
    • Turn the parking lamps on.
    • Measure the voltage between the PCM C175b-57, circuit 848 (DG/OG), harness side and ground.
      Fig 2: Measuring Voltage Between PCM C175b-57, Circuit 848 (DG/OG), Harness Side And Ground
      G03965102Courtesy of FORD MOTOR CO.
    • Is any voltage present? 
    • Yes  : TURN the parking lamps off. GO to  C3.
    • No  : REMOVE the audio unit. REFER to AUDIO UNIT . SEND the audio unit to an authorized repair facility. CLEAR the DTCs. REPEAT the self-test.
  3. C3 CHECK CIRCUITS 151 (LB/BK) AND 848 (DG/OG) FOR A SHORT TO VOLTAGE 
    • Key in OFF position.
    • Disconnect: Clockspring C218b.
    • Key in ON position.
    • Turn the parking lamps on.
    • Measure the voltage between the PCM C175b-56, circuit 151 (LB/BK), harness side and ground; and between the C175b-57, circuit 848 (DG/OG), harness side and ground.
      Fig 3: Checking Circuits 151 (LB/BK) And 848 (DG/OG) For Short To Voltage
      G03965101Courtesy of FORD MOTOR CO.
    • Is any voltage present? 
    • Yes  : REPAIR the circuit in question. CLEAR the DTCs. REPEAT the self-test.
    • No  : GO to C4.
  4. C4 CHECK THE CLOCKSPRING FOR A SHORT TO VOLTAGE 
    • Key in OFF position.
    • Connect: Clockspring C218b.
    • Remove the driver air bag module. Refer to SUPPLEMENTAL RESTRAINT SYSTEM .
    • Connect the restraint system diagnostic tool (418-F403) to the upper clockspring air bag connector.
    • Disconnect: Clockspring C218c.
    • WARNING: Make sure there is no one inside the vehicle and that there is nothing blocking or set in front of any air bag module when the battery is connected. Failure to follow these instructions may result in personal injury.
    • Connect the battery.
    • Key in ON position.
    • Turn the parking lamps on.
    • Test Step
    • Measure the voltage between the PCM C175b-56, circuit 151 (LB/BK), harness side and ground; and between the C175b-57, circuit 848 (DG/OG), harness side and ground.
      Fig 4: Checking Clockspring For Short To Voltage
      G03965101Courtesy of FORD MOTOR CO.
    • Is any voltage present? 
  5. C5 CHECK THE SPEED CONTROL SWITCH CIRCUITRY FOR A SHORT TO GROUND 
    • Key in OFF position.
    • Measure the resistance between the PCM C175b-56, circuit 151 (LB/BK), harness side and ground.
      Fig 5: Measuring Resistance Between PCM C175b-56, Circuit 151 (LB/BK), Harness Side And Ground
      G03965105Courtesy of FORD MOTOR CO.
    • Is the resistance greater than 10,000 ohms? 
    • Yes  : GO to  C8.
    • No  : GO to C6.
  6. C6 CHECK THE CLOCKSPRING FOR A SHORT TO GROUND 
    • Remove the driver air bag module. Refer to SUPPLEMENTAL RESTRAINT SYSTEM .
    • Disconnect: Clockspring C218c.
    • Measure the resistance between the PCM C175b-56, circuit 151 (LB/BK), harness side and ground.
      Fig 6: Measuring Resistance Between PCM C175b-56, Circuit 151 (LB/BK), Harness Side And Ground
      G03965105Courtesy of FORD MOTOR CO.
    • Is the resistance greater than 10,000 ohms? 
  7. C7 CHECK CIRCUIT 151 (LB/BK) FOR A SHORT TO GROUND 
    • Disconnect: Clockspring C218b.
    • Measure the resistance between the PCM C175b-56, circuit 151 (LB/BK), harness side and ground.
      Fig 7: Measuring Resistance Between PCM C175b-56, Circuit 151 (LB/BK), Harness Side And Ground
      G03965105Courtesy of FORD MOTOR CO.
    • Is the resistance greater than 10,000 ohms? 
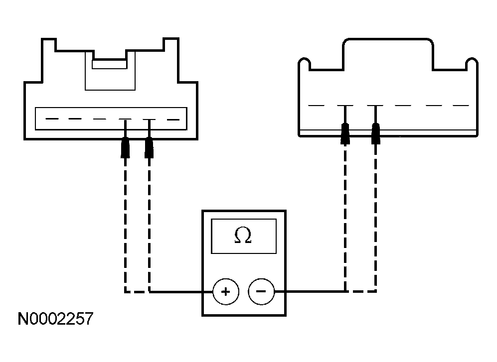
  8. C8 CHECK THE SPEED CONTROL SWITCH CIRCUITRY FOR AN OPEN 
    • Measure the resistance between the PCM C175b-56, circuit 151 (LB/BK), harness side and the PCM C175b-57, circuit 848 (DG/OG), harness side.
      Fig 8: Checking Speed Control Switch Circuitry For An Open
      G03930449Courtesy of FORD MOTOR CO.
    • Is the resistance between 3,965 and 4,655 ohms? 
    • Yes  : GO to  C11.
    • No  : GO to C9.
  9. C9 CHECK CIRCUITS 151 (LB/BK) AND 848 (DG/OG) FOR AN OPEN 
    • Disconnect: Clockspring C218b.
    • Measure the resistance between the PCM C175b-56, circuit 151 (LB/BK), harness side and the clockspring C218b-4, circuit 151 (LB/BK), harness side; and between the PCM C175b-57, circuit 848 (DG/OG), harness side and the clockspring C218b-5, circuit 848 (DG/OG), harness side.
      Fig 9: Checking Circuits 151 (LB/BK) And 848 (DG/OG) For An Open
      G03965109Courtesy of FORD MOTOR CO.
    • Are the resistances less than 5 ohms? 
    • Yes  : GO to  C10.
    • No  : REPAIR the circuit in question. CLEAR the DTCs. REPEAT the self-test.
  10. C10 CHECK THE CLOCKSPRING 
    • Remove the driver air bag. Refer to SUPPLEMENTAL RESTRAINT SYSTEM .
    • Disconnect: Clockspring C218c.
    • Measure the resistance between the clockspring C218b pin 4, component side and the clockspring C218c pin 3, component side; and between the clockspring C218b pin 5, component side and the clockspring C218c pin 2, component side.
      Fig 10: Checking Clockspring
      G03965110Courtesy of FORD MOTOR CO.
    • Are the resistances less than 5 ohms? 
  11. C11 CHECK FOR CORRECT PCM OPERATION 
    • Disconnect all the PCM connectors.
    • Check for:
      • Corrosion
      • Pushed-out pins
    • Connect all the PCM connectors and make sure they seat correctly.
    • Operate the system and verify the concern is still present.
    • Is the concern still present? 
    • Yes  : INSTALL a new PCM. REFER to ELECTRONIC ENGINE CONTROLS . TEST the system for normal operation.
    • No  : The system is operating correctly at this time. The concern may have been caused by a loose or corroded connector. INSTALL the driver air bag. REFER to SUPPLEMENTAL RESTRAINT SYSTEM . CLEAR the DTCs. REPEAT the self-test.