LEMON Manuals: Even more car manuals for everyone: 1960-2025
Home >> Ford >> 2000 >> Contour SVT >> Repair and Diagnosis >> External Pages >> Different car >> Section 1232 (Component Testing -- F150 Pickup) >> Component Testing >> Ignition switch >> Schematic
April 5, 2026: LEMON Manuals is launched! Read the announcement.

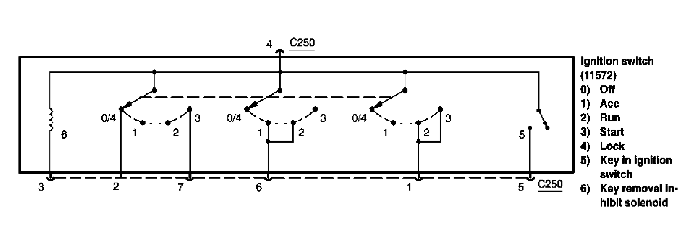
Ignition switch: Schematic

WARNING: This page is about a different car, the 2005 Ford Pickup. However, it is still accessible from the selected car via links, so may be relevant.
Fig 1: Ignition Switch - Schematic
G03993657Courtesy of FORD MOTOR CO.