LEMON Manuals: Even more car manuals for everyone: 1960-2025
Home >> Ford >> 2000 >> Contour SVT >> Repair and Diagnosis >> External Pages >> Different car >> Section 1248 (Driveshaft) >> Disassembly And Assembly >> Driveshaft Alignment Bushing >> Assembly
April 5, 2026: LEMON Manuals is launched! Read the announcement.

Driveshaft Alignment Bushing: Assembly

WARNING: This page is about a different car, the 2005 Lincoln LS. However, it is still accessible from the selected car via links, so may be relevant.
    NOTE: Install the alignment bushing with the seal facing outboard.
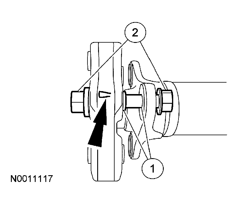
    Fig 1: Installing Alignment Bushing
    G03995174Courtesy of FORD MOTOR CO.
  1. Using the special tools, align the bushing with the driveshaft.
  2. Using the special tools, drive the alignment bushing until the tool contacts the end yoke face.
  3. CAUTION: There are 6 bushings in each flex coupling. Three of the bushings protrude from one side of the flex coupling and 3 protrude from the other side. The arrows on the side of the flex coupling point toward the protruding end of the bushing. When installing the flex coupling, the protruding end of the bushing must seat in the driveshaft flange counterbore or damage will occur to the flex coupling during driveshaft operation.
    Fig 2: Installing Flex Coupling-To-Driveshaft Bolt Nuts
    G03995175Courtesy of FORD MOTOR CO.
  4. Install the flex coupling.
    1. Position the protruding end of the bushing against the driveshaft flange.
    2. CAUTION: The bolt heads must seat against the driveshaft flange and the nuts against the flex coupling.
    3. Install the flex coupling-to-driveshaft bolt nuts and flex coupling-to-driveshaft bolts in their original locations.
  5. NOTE: The bolt heads are serrated. Hold the bolt and tighten the nut.
  6. Tighten the flex coupling-to-driveshaft bolt nuts and flex coupling-to-driveshaft bolts.
    • Coat the bolt threads with Threadlock 262.
    • Tighten to 81 Nm (60 lb-ft).
  7. Repeat for the other end of the driveshaft.
  8. CAUTION: Align the index marks or driveshaft imbalance can occur.
  9. Assemble the front driveshaft to the rear shaft.
  10. CAUTION: Add 1 gram of grease to both alignment bushing cavities before installing the driveshaft.
  11. Install the driveshaft. For additional information, refer to DRIVESHAFT  in this article .