LEMON Manuals: Even more car manuals for everyone: 1960-2025
Home >> Ford >> 2000 >> Contour SVT >> Repair and Diagnosis >> External Pages >> Different car >> Section 1289 (Parking Aid) >> General Procedures >> Azimuth System Check >> Maximum Detectable Object Locations
April 5, 2026: LEMON Manuals is launched! Read the announcement.

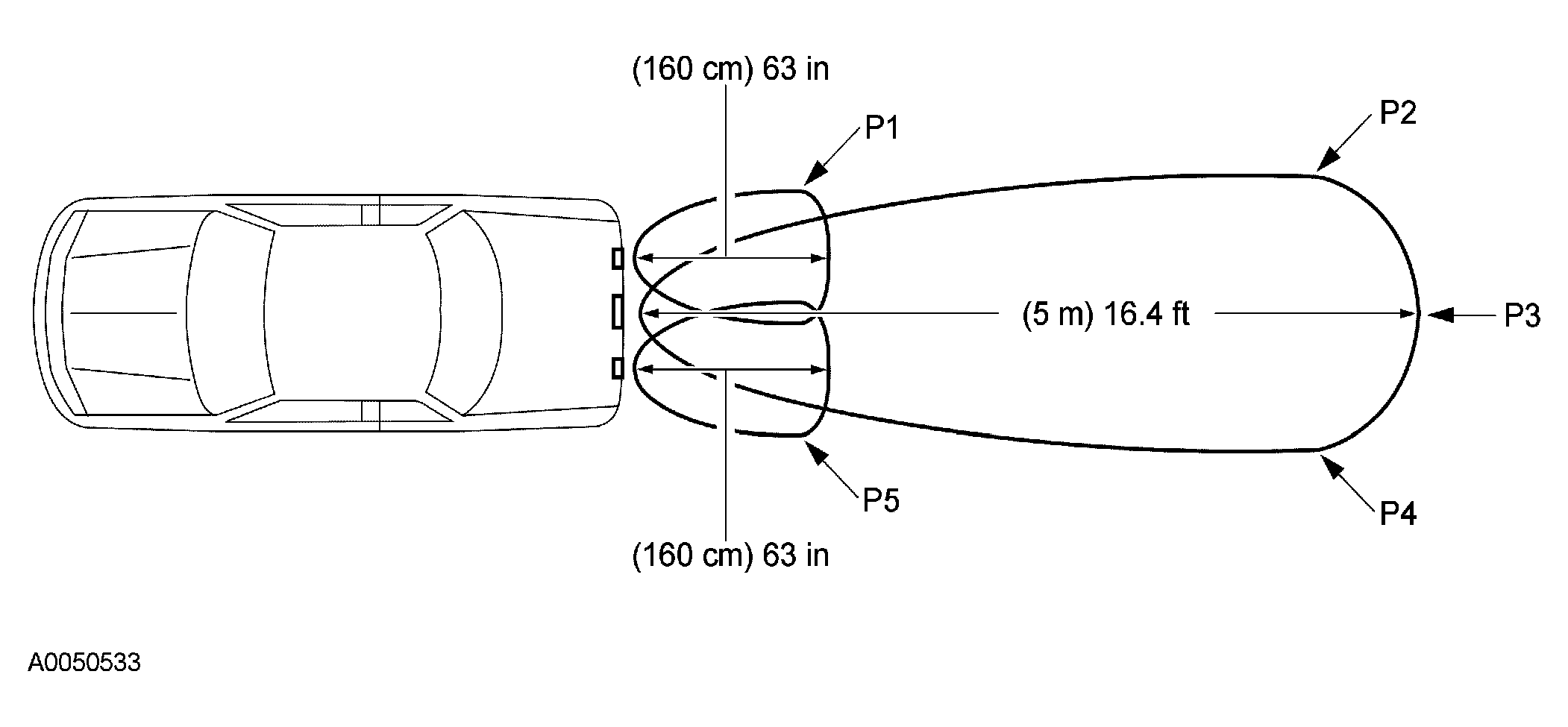
Maximum Detectable Object Locations

WARNING: This page is about a different car, the 2005 Lincoln LS. However, it is still accessible from the selected car via links, so may be relevant.
Fig 1: Checking Azimuth System (Maximum Detectable Object Locations)
G03998429Courtesy of FORD MOTOR CO.
    NOTE: The object used in this system check can be fabricated from a 7.62 cm (3 in) diameter plastic pipe, 1 m (39 in) in length (available as PVC pipe or similar from a hardware or plumbing supply).
    NOTE: The following system check should be carried out with the vehicle on a level surface.
    NOTE: The parking aid system defaults to on when the ignition key is cycled from OFF to ON.
  1. Key in the ON position, engine OFF.
  2. Set the parking brake.
  3. Place the transmission selector lever in REVERSE.
  4. Verify that the parking aid system detects the specified object when placed within the 5 specified locations (P1, P2, P3, P4, P5). These zones are shown ideally and are not absolute. The pipe should be inside of the locations.