LEMON Manuals: Even more car manuals for everyone: 1960-2025
Home >> Ford >> 2000 >> Contour SVT >> Repair and Diagnosis >> External Pages >> Different car >> Section 1319 (Supplemental Restraint System) >> Removal And Installation >> Side Air Curtain Module >> Installation
April 5, 2026: LEMON Manuals is launched! Read the announcement.

Side Air Curtain Module: Installation

WARNING: This page is about a different car, the 2005 Lincoln LS. However, it is still accessible from the selected car via links, so may be relevant.
    WARNING: The side air curtain must be installed in the vehicle using new torque-prevailing type U-nuts, part number W709759 or W520822. Use of this U-nut is mandatory so as to reduce the risk of loss of fastener effectiveness. Failure to follow these instructions may result in personal injury in the event of a side air curtain deployment.
  1. Remove all U-nut fasteners and install new.
  2. WARNING: Before installing the side air curtain module, inspect the roofline for any damage. If necessary, the sheet metal must be reworked to its original condition and structural integrity. Install new fasteners and remove any foreign objects. Failure to do so may result in personal injury in the event of a side air curtain deployment.
    WARNING: Before installing the side air curtain module, if the module is damaged or the cover has separated or the side air curtain material has been exposed, install a new side air curtain module. Do not attempt to repair the side air curtain. Failure to follow these instructions could result in personal injury in the event of a side air curtain deployment.
    WARNING: Never put any type of fastener or tie strap around any part of the side air curtain module or interior trim panel. This will prevent the side air curtain module from deploying correctly. Failure to do so can result in personal injury in the event of a side air curtain module deployment.
    Fig 1: Installing Side Air Curtain Module Alignment
    G04000110Courtesy of FORD MOTOR CO.
  3. Align and install the side air curtain module alignment ear into the sheet metal opening at the top of the A-pillar.
  4. Install the side air curtain module canister pin-type retainer.
    Fig 2: Installing Side Air Curtain Module Canister Pin-Type Retainer
    G04000112Courtesy of FORD MOTOR CO.
  5. Install the side air curtain module pin-type retainer.
    Fig 3: Installing Side Air Curtain Module Pin-Type Retainer
    G04000113Courtesy of FORD MOTOR CO.
  6. Install the side air curtain module pin-type retainer.
    Fig 4: Installing Side Air Curtain Module Pin-Type Retainer
    G04000114Courtesy of FORD MOTOR CO.
  7. Install the 2 A-pillar tether pin-type retainers.
    Fig 5: Installing A-Pillar Tether Pin-Type Retainers
    G04000115Courtesy of FORD MOTOR CO.
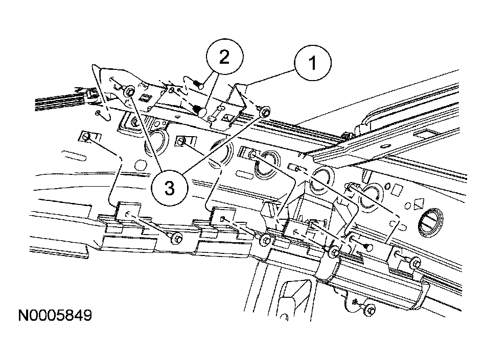
  8. Install the side air curtain module screws located near the A-pillar.
    1. Install the side air curtain module screw.
      • Tighten to 4 Nm (35 lb-in).
    2. Install the 2 side air curtain module canister screws.
      • Tighten to 4 Nm (35 lb-in).
    Fig 6: Installing Side Air Curtain Module Canister Screws
    G04000116Courtesy of FORD MOTOR CO.
  9. Install the A-pillar tether anchor screw.
    • Tighten to 4 Nm (35 lb-in).
    Fig 7: Installing A-Pillar Tether Anchor Screw
    G04000117Courtesy of FORD MOTOR CO.
  10. Install the 2 side air curtain module screws.
    • Tighten to 4 Nm (35 lb-in).
    Fig 8: Installing Side Air Curtain Module Screws
    G04000118Courtesy of FORD MOTOR CO.
  11. Install the side air curtain module screws located near the B-pillar.
    1. Install the 2 screws.
      • Tighten to 4 Nm (35 lb-in).
    2. Install the 3 screws.
      • Tighten to 4 Nm (35 lb-in).
    Fig 9: Installing The Side Air Curtain Module Screws Located Near The B-Pillar
    G04000119Courtesy of FORD MOTOR CO.
  12. Install the 3 side air curtain module screws located near the C-pillar.
    • Tighten to 4 Nm (35 lb-in).
    Fig 10: Installing Side Air Curtain Module Screws Located Near C-Pillar
    G04000120Courtesy of FORD MOTOR CO.
  13. NOTE: If the side air curtain is being serviced on the passenger side, install the front row bracket also.
    Fig 11: Installing Pin-Type Retainers
    G04000121Courtesy of FORD MOTOR CO.
  14. Install the grab handle bracket.
    1. Position the grab handle bracket.
    2. Install the 2 pin-type retainers.
    3. Install the 2 screws.
  15. Connect the side air curtain module electrical connector.
    Fig 12: Connecting Side Air Curtain Module Electrical Connector
    G04000031Courtesy of FORD MOTOR CO.
  16. WARNING: Anytime the side air curtain has deployed, the headliner, and all A-, B-, and C-pillar upper trim panels and attaching hardware must be replaced along with any other damaged components and hardware. Failure to do so may result in personal injury in the event of a side air curtain deployment.
  17. Install the headliner. For additional information, refer to INTERIOR TRIM AND ORNAMENTATION .
  18. Repower the system. For additional information, refer to SUPPLEMENTAL RESTRAINT SYSTEM (SRS) DEPOWERING AND REPOWERING  in this article.