LEMON Manuals: Even more car manuals for everyone: 1960-2025
Home >> Ford >> 2000 >> Contour SVT >> Repair and Diagnosis >> External Pages >> Different car >> Section 1376 (Automatic Transmission) >> Assembly >> Transmission
April 5, 2026: LEMON Manuals is launched! Read the announcement.

Section 1376 (Automatic Transmission): Assembly: Transmission

WARNING: This page is about a different car, the 2006 Mercury Grand Marquis and 2006 Ford Crown Victoria. However, it is still accessible from the selected car via links, so may be relevant.
SPECIAL TOOL DESCRIPTION

G04584668
Dial Indicator Gauge with Holding Fixture
100-002 (TOOL-4201-C)
G04584669
Rubber Tip Air Nozzle
100-D009 (D93L-7000-A)
G04584670
Alignment Gauge, TR Sensor
307-351 (T97L-70010-A)
G04584671
Slide Hammer
100-001 (T50T-100-A)
G04584672
Installer, Shift Shaft Fluid Seal
307-050 (T74P-77498-A)
G04584673
Shim Selection Gauge
307-072 (T80L-77003-A)
G04584674
Installer, Servo Piston
307-073 (T80L-77030-A)
G04584675
Remover/Installer, Transmission Extension Housing
307-077 (T80L-77110-A)
G04584676
Handle, Torque Converter
307-091 (T81P-7902-C)
G04584677
Test Plate Screw Set, Transmission
307-126 (T82P-7006-C)
G04584678
Air Test Plate, Transmission
307-246 (T92P-7006-A)
G04584679
Remover/Installer, Servo Piston
307-251 (T92P-70023-A)
G04584680
Installer, Transmission Extension Housing Fluid Seal
308-002 (T61L-7657-A)
G04584681
Gauge, Transmission Solenoid Connectors
307-426
MATERIAL DESCRIPTION

Item Specification
MERCON® V Automatic Transmission Fluid
XT-5-QM
MERCON® V
Multi-Purpose Grease
XG-4 and/or XL-5
ESB-M1C93-B
Fig 1: Disassembled View Of Automatic Transmission (1 Of 2)
G04584682Courtesy of FORD MOTOR CO.
Fig 2: Disassembled View Of Automatic Transmission (2 Of 2)
G04584683Courtesy of FORD MOTOR CO.
Fig 3: Disassembled View Of Automatic Transmission Legend (1 Of 4)
G04584684Courtesy of FORD MOTOR CO.
Fig 4: Disassembled View Of Automatic Transmission Legend (2 Of 4)
G04584685Courtesy of FORD MOTOR CO.
Fig 5: Disassembled View Of Automatic Transmission Legend (3 Of 4)
G04584686Courtesy of FORD MOTOR CO.
Fig 6: Disassembled View Of Automatic Transmission Legend (4 Of 4)
G04584687Courtesy of FORD MOTOR CO.
CAUTION: Before beginning assembly, carry out and inspect the following:
When building up subassemblies and assembling the transmission, ALWAYS use new gaskets and seals.
All fasteners must be tightened to the torque specification indicated. In addition to appearing in the section, the necessary torques can be found in the General Specifications Chart.
When building up subassemblies, each component part should be lubricated with clean transmission fluid. It is also good practice to lubricate the subassemblies as they are installed in the case.
Needle bearings, thrust washers and seals should be lightly coated with petroleum jelly during subassembly buildup or transmission assembly.
Many components and surfaces in the transmission are precision machined. Careful handling during disassembly, cleaning, inspection and assembly can prevent unnecessary damage to machined surfaces.
  1. Use the special tools to install the rear case bushing if removed.
    1. Position the rear case bushing and the special tool inside the case.
    2. Assemble the special tools through the back of the case.
      Fig 7: Installing Rear Case Bushing
      G04584688Courtesy of FORD MOTOR CO.
  2. Place the transmission in the vertical position.
  3. Coat the No. 9 case rear bearing with petroleum jelly and install on the case boss.
    Fig 8: Locating No. 9 Case Rear Bearing
    G03888750Courtesy of FORD MOTOR CO.
  4. CAUTION: Be sure the No. 7 needle bearing and direct clutch hub are installed as shown in the Subassembly section. Internal damage and shift problems may occur.
    Fig 9: Installing Output Shaft And Output Shaft Ring Gear
    G04584690Courtesy of FORD MOTOR CO.
  5. Install the output shaft and output shaft ring gear.
  6. Install the No. 8 bearing.
    Fig 10: Locating No. 8 Bearing
    G03888748Courtesy of FORD MOTOR CO.
  7. Install the direct clutch.
    Fig 11: Identifying Direct Clutch Pack
    G03888747Courtesy of FORD MOTOR CO.
  8. NOTE: The reverse band support retaining ring is used for assembly purposes during production. The reverse band support retaining ring is not required during assembly and it will not affect the operation of the transmission.
    Fig 12: Installing Reverse Band Support Retaining Ring
    G04584693Courtesy of FORD MOTOR CO.
  9. Install the reverse band support retaining ring.
  10. NOTE: Make sure the band is seated on the anchor pins.
    Fig 13: Installing Reverse Band
    G04584694Courtesy of FORD MOTOR CO.
  11. Install the reverse band.
  12. NOTE: The planetary assembly and planetary gear support cannot be installed unless the notch cut in the planetary gear support is aligned with the overdrive band anchor pin.
    NOTE: The top of the planetary gear support must be below the snap ring groove.
  13. Install the planetary assembly and planetary gear support as a unit.
    • Rotate the output shaft to fully seat the planetary assembly.
      Fig 14: Installing Planetary Assembly And Planetary Gear Support
      G04584695Courtesy of FORD MOTOR CO.
  14. NOTE: The planet support spring must be compressed and installed below the snap ring groove. When the planet support spring is installed correctly both ends of the spring will be visible.
    Fig 15: Installing Case To Planet Support Spring
    G04584696Courtesy of FORD MOTOR CO.
  15. Install the case to the planet support spring located at the 1 o'clock position.
  16. NOTE: When installing the center support retaining ring the opening of the center support retaining ring should be toward the hole in the case where the turbine shaft speed (TSS) sensor would go.
    Fig 16: Installing Center Support Retaining Ring
    G04584697Courtesy of FORD MOTOR CO.
  17. Install the center support retaining ring.
  18. Install the forward clutch sun gear, the No. 5 forward clutch sun gear 2 piece bearing and the reverse sun gear.
    Fig 17: Installing Forward Clutch Sun Gear, Forward Clutch Sun Gear Piece Bearing And Reverse Sun Gear
    G04584698Courtesy of FORD MOTOR CO.
  19. Install the No. 4 forward clutch hub bearing.
    Fig 18: Installing No. 4 Forward Clutch Hub Bearing
    G04584699Courtesy of FORD MOTOR CO.
  20. Install the intermediate stub shaft.
    Fig 19: Installing Intermediate Stub Shaft
    G04584700Courtesy of FORD MOTOR CO.
  21. Install the forward clutch hub and the No. 3 forward clutch hub front bearing.
    Fig 20: Installing Forward Clutch Hub And No. 3 Forward Clutch Hub Front Bearing
    G04584701Courtesy of FORD MOTOR CO.
  22. Install the forward clutch assembly.
    Fig 21: Installing Forward Clutch Assembly
    G04584702Courtesy of FORD MOTOR CO.
  23. NOTE: Make sure the reverse clutch cylinder lugs are completely seated in the notches of the reverse sun gear.
  24. Install the reverse clutch cylinder assembly.
    1. Install the reverse clutch cylinder.
    2. Install the No. 2 forward clutch bearing.
      Fig 22: Installing Reverse Clutch Cylinder Assembly
      G04584703Courtesy of FORD MOTOR CO.
  25. Install the overdrive band.
    • Position the overdrive band pocket onto the anchor pin.
      Fig 23: Installing Overdrive Band
      G04584704Courtesy of FORD MOTOR CO.
  26. Install the overdrive servo spring.
    1. Install the overdrive servo piston return spring.
    2. Install the overdrive servo piston.
      Fig 24: Installing Overdrive Servo Piston
      G04584705Courtesy of FORD MOTOR CO.
  27. Verify the tip of the piston assembly engages the pocket of the overdrive band.
    Fig 25: Engaging Pocket Of Overdrive Band
    G04584706Courtesy of FORD MOTOR CO.
  28. Using the special tool, compress the overdrive servo assembly and install the overdrive servo retaining ring.
    Fig 26: Installing Overdrive Servo Retaining Ring
    G04584707Courtesy of FORD MOTOR CO.
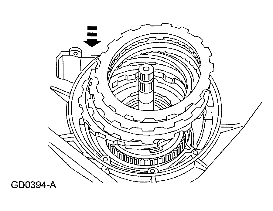
  29. Install the intermediate clutch pressure plate.
    Fig 27: Installing Intermediate Clutch Pressure Plate
    G04584708Courtesy of FORD MOTOR CO.
  30. NOTE: Before assembly, soak the new clutch discs in clean automatic transmission fluid.
    Fig 28: Installing Intermediate Clutch Pack And Selective Steel Plate
    G04584709Courtesy of FORD MOTOR CO.
  31. Install the intermediate clutch pack and selective steel plate.
  32. Using the special tool, check the intermediate clutch clearance.
    1. Position the special tool on the pump case mounting surface.
    2. Maintaining downward pressure, use a depth micrometer to measure and verify intermediate clutch clearance is within specification.

    If the intermediate clutch is not within specification, install a correct selective plate.

    SELECTIVE STEEL PLATES SPECIFICATION

    Specification
    1.80-1.70 mm (0.071-0.067 inch)
    2.05-1.95 mm (0.081-0.077 inch)
    2.31-2.20 mm (0.091-0.087 inch)
    2.56-2.46 mm (0.101-0.097 inch)
    Fig 29: Checking Intermediate Clutch Clearance
    G04584710Courtesy of FORD MOTOR CO.
  33. Using the special tool, measure end clearance for the No. 1 front pump thrust washer.
    1. Position the special tool on the pump case mounting surface.
    2. Maintaining downward pressure, use a depth micrometer to measure end play clearance. Use the No. 1 thrust washer chart to select the correct washer.
    NO.1 THRUST WASHER CHART

    Depth Thickness Color Code
    37.706-38.184 mm (1.485-1.503 inch) 1.270-1.372 mm (0.050-0.054 inch) Green
    38.185-38.641 mm (1.504-1.521 inch) 1.727-1.829 mm (0.068-0.072 inch) Yellow
    38.642-39.073 mm (1.522-1.538 inch) 2.159-2.261 mm (0.085-0.089 inch) Natural
    39.074-39.505 mm (1.539-1.555 inch) 2.591-2.692 mm (0.102-0.106 inch) Red
    39.506-40.165 mm (1.556-1.581 inch) 3.023-3.124 mm (0.119-0.123 inch) Blue
    Fig 30: Measuring End Clearance For No. 1 Front Pump Thrust Washer
    G04584711Courtesy of FORD MOTOR CO.
  34. Install the intermediate anti-rattle clip, if equipped.
    Fig 31: Identifying Intermediate Clutch Anti-Rattle Clip
    G03888735Courtesy of FORD MOTOR CO.
  35. Install the intermediate clutch return spring support with the lip facing upward and place the wave spring on the retainer.
    1. Install the intermediate clutch return spring support.
    2. Install the wave spring.
      Fig 32: Installing Intermediate Clutch Return Spring Support
      G04584713Courtesy of FORD MOTOR CO.
  36. Install the No. 1 front pump support thrust washer.

    Use petroleum jelly to hold the washer in place.

    Fig 33: Locating No. 1 Front Pump Support Thrust Washer
    G03888769Courtesy of FORD MOTOR CO.
  37. NOTE: The alignment pin is a fabricated M8 x 1.25 mm (0.05 in) bolt with the head removed.
    Fig 34: Installing Alignment Pin At Top Of Case
    G04584715Courtesy of FORD MOTOR CO.
  38. Install an alignment pin at the top of the case.
  39. NOTE: Make sure the gasket is positioned correctly and the case passages are not covered.
  40. Install the pump gasket.
  41. NOTE: To aid assembly, shake the input shaft while pushing down on the pump.
    Fig 35: Installing Pump Assembly
    G04584716Courtesy of FORD MOTOR CO.
  42. Install the pump assembly.
  43. Remove the alignment pin and install the front pump bolts.
    • Alternate bolt tightening to set the pump.
      • Tighten to 27 Nm (20 lb-ft).
        Fig 36: Removing Alignment Pin And Front Pump Bolts
        G04584717Courtesy of FORD MOTOR CO.
  44. Rotate the transmission to the horizontal position.
  45. Install the parking pawl.
    1. Position the parking pawl return spring
    2. Position the parking pawl.
    3. Install the parking pawl shaft.
      Fig 37: Installing Parking Pawl Shaft
      G04584718Courtesy of FORD MOTOR CO.
  46. Install a new extension housing gasket and the extension housing.
    1. Position the extension housing.
    2. Install the 4 bolts and 2 nuts.
      • Tighten to 28 Nm (21 lb-ft).
        Fig 38: Installing Extension Housing Gasket And Extension Housing
        G04584719Courtesy of FORD MOTOR CO.
  47. NOTE: When installing the new seal, make sure that the drain hole in the seal is in the 6 o'clock position.
    Fig 39: Installing Extension Housing Seal
    G04584720Courtesy of FORD MOTOR CO.
  48. Using the special tool, install a new extension housing seal.
  49. Install the output shaft speed (OSS) sensor and the turbine shaft speed (TSS) sensor.
    1. Install the TSS speed sensor and the bolt.
      • Tighten to 11 Nm (8 lb-ft).
    2. Install the OSS speed sensor and the bolt.
      • Tighten to 12 Nm (9 lb-ft).
        Fig 40: Installing OSS Speed Sensor And Bolt
        G04584721Courtesy of FORD MOTOR CO.
  50. Using the special tool, install the manual control lever seal.
    Fig 41: Installing Manual Control Lever Seal
    G04584722Courtesy of FORD MOTOR CO.
  51. NOTE: Lubricate the electronic pressure control (EPC) solenoid O-rings with clean automatic transmission fluid.
    Fig 42: Lubricating Electronic Pressure Control (EPC) Solenoid O-Rings With Clean Automatic Transmission Fluid
    G04584723Courtesy of FORD MOTOR CO.
  52. Lubricate the electronic pressure control (EPC) solenoid and install it into the case.
  53. Install the manual valve detent lever and parking lever actuating rod.
    Fig 43: Installing Manual Valve Detent Lever And Parking Lever Actuating Rod
    G04584724Courtesy of FORD MOTOR CO.
  54. Install the manual control lever shaft.
    1. Slide the manual control shaft into the case.
    2. Install the manual lever shaft inner nut.
      • Tighten to 31 Nm (23 lb-ft).
    3. Install the manual lever shaft retaining pin.
      Fig 44: Installing Manual Lever Shaft Retaining Pin
      G04584725Courtesy of FORD MOTOR CO.
  55. Install the 1-2 accumulator piston assembly.
    1. Install the 1-2 accumulator upper spring.
    2. Install the 1-2 accumulator.
    3. Install the inner and outer 1-2 lower accumulator spring.
    4. Install the 1-2 accumulator cover and seal.
      Fig 45: Installing 1-2 Accumulator Cover And Seal
      G04584726Courtesy of FORD MOTOR CO.
  56. Install the 1-2 accumulator retaining ring.
    Fig 46: Locating Accumulator Piston Retaining Ring
    G03888654Courtesy of FORD MOTOR CO.
  57. NOTE: This is not an ordinary installation procedure and does not compensate for band wear. When new piston and rod assembly installation becomes necessary or when a new reverse band has been installed, the reverse piston and rod length must be adjusted.
    NOTE: Lubricate the reverse piston seal with clean automatic transmission fluid to facilitate assembly and prevent damage to the seal.
    NOTE: Do not install the reverse servo piston cover and seal at this time.
    Fig 47: Installing Reverse Servo Piston And Rod Assembly
    G04584728Courtesy of FORD MOTOR CO.
  58. Install the reverse servo piston and rod assembly.
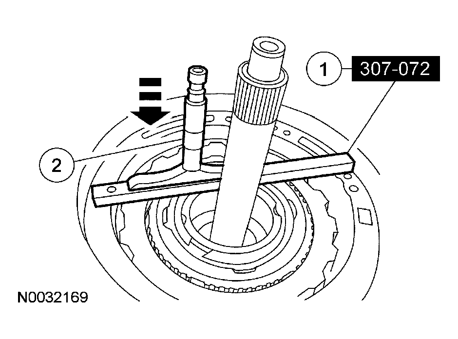
  59. Install the special tool.
    Fig 48: Installing Special Tool
    G04584729Courtesy of FORD MOTOR CO.
  60. Install the special tool.
    • Position the indicator stem on the flat portion of the reverse servo piston and zero the dial indicator.
      Fig 49: Positioning Indicator Stem On Flat Portion Of Reverse Servo Piston And Zero Dial Indicator
      G04584730Courtesy of FORD MOTOR CO.
  61. Loosen the bolt until the piston stops against the tool.
    Fig 50: Loosening Bolt
    G04584731Courtesy of FORD MOTOR CO.
  62. Verify that the amount of piston travel on the dial indicator is within specification.
    Fig 51: Verifying Amount Of Piston Travel On Dial Indicator
    G04584732Courtesy of FORD MOTOR CO.
  63. If piston travel is not within specification, select and install the correct servo assembly to bring the servo piston travel within specification.
    1. One groove
    2. Two grooves
    3. Three grooves
      Fig 52: Identifying Correct Servo Assembly
      G04584733Courtesy of FORD MOTOR CO.
  64. Remove the special tools.
    Fig 53: Removing Special Tools
    G04584734Courtesy of FORD MOTOR CO.
  65. Install the reverse servo assembly.
    1. Install the rod.
    2. Install the piston assembly.
    3. Install the reverse servo piston cover and seal.
      Fig 54: Installing Reverse Servo Piston Cover And Seal
      G04584735Courtesy of FORD MOTOR CO.
  66. Using the special tool, install the reverse servo retaining ring.
    1. Compress the reverse band servo.
    2. Install the reverse band servo retaining ring.
      Fig 55: Installing Reverse Band Servo Retaining Ring
      G04584736Courtesy of FORD MOTOR CO.
  67. Install the 2-3 accumulator assembly.
    1. Install the accumulator piston.
    2. Install the accumulator piston spring.
    3. Install the accumulator spring retainer.
      Fig 56: Installing Accumulator Spring Retainer
      G04584737Courtesy of FORD MOTOR CO.
  68. Using the special tools, apply regulated air pressure to the test ports. Verify that the components are applied and released.
    Fig 57: Applying Regulated Air Pressure To Test Ports
    G04584738Courtesy of FORD MOTOR CO.
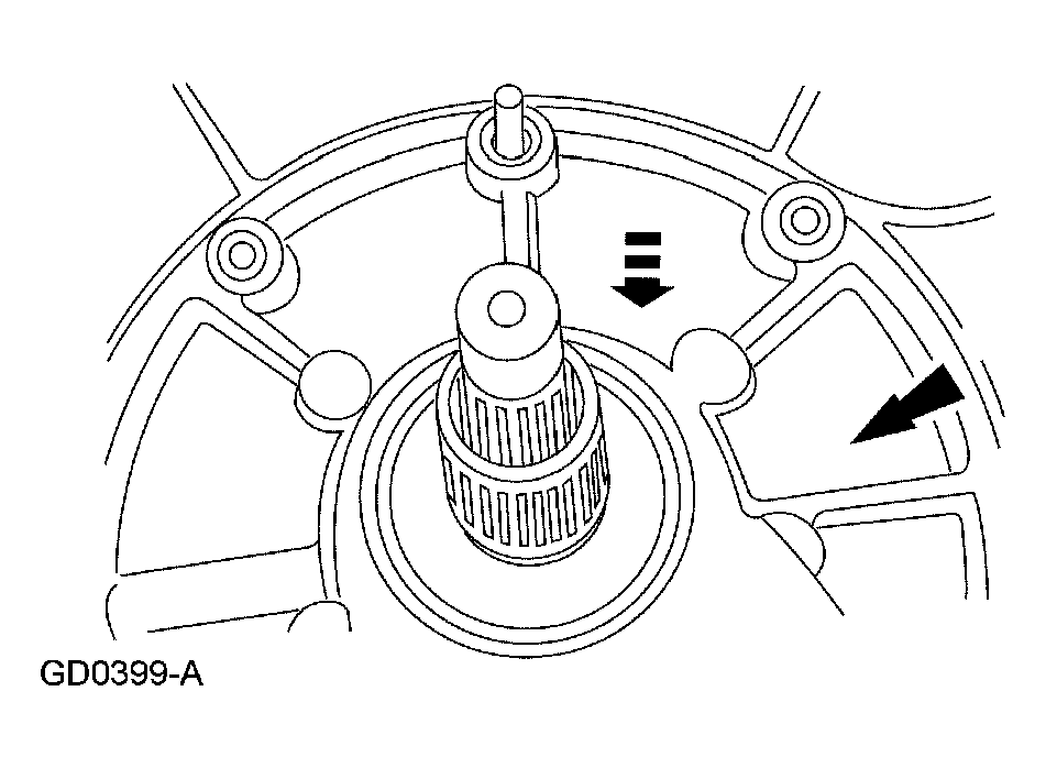
  69. NOTE: The tab on the electrical connector is secured by main control valve body.
    Fig 58: Installing Electrical Connector Into Case
    G04584739Courtesy of FORD MOTOR CO.
  70. Install the electrical connector into the case.
  71. NOTE: The alignment bolts are valve body assembly bolts and are in the valve body.
    Fig 59: Identifying Main Control Valve Body
    G03888560Courtesy of FORD MOTOR CO.
  72. Align the main control valve body alignment bolts and position the main control valve body.
  73. NOTE: The main control valve body bolts will be tightened in later steps.
    Fig 60: Locating Long Main Control Valve Body Bolts
    G04584287Courtesy of FORD MOTOR CO.
  74. Loosely install the 11 long main control valve body bolts.
  75. Install the EPC solenoid bracket and loosely install the bolt.
    Fig 61: EPC Solenoid Bracket And Bolt
    G03888951Courtesy of FORD MOTOR CO.
  76. NOTE: The main control valve body bolts will be tightened in later steps.
    Fig 62: Locating 12 Short Main Control Valve Body Bolts
    G03882434Courtesy of FORD MOTOR CO.
  77. Loosely install the 12 short main control valve body bolts.
  78. Install the manual control valve detent lever spring and loosely install the bolt.
    Fig 63: Removing Manual Control Valve Detent Lever Spring Bolts
    G04584504Courtesy of FORD MOTOR CO.
  79. Tighten the bolts in the sequence shown.
    • Tighten to 10 Nm (89 lb-in).
      Fig 64: Tightening Sequence Of Bolts
      G04584745Courtesy of FORD MOTOR CO.
  80. Inspect the lead frame for damage.
    • Using the special tool, check all the lead frame solenoid connections. The gauge should fit tightly and not fall out after being inserted.
    • If the special tool passes through any lead frame connector pins or does not feel like it makes a good contact, install a new lead frame.
      Fig 65: Locating Lead Frame Connector Pins
      G04584207Courtesy of FORD MOTOR CO.
  81. Connect the molded lead frame to the solenoids.
    • Connect the bulkhead interconnector by pressing it in place by hand and fully seating the connector in place.
    • Connect the EPC solenoid by pressing it in place by hand and fully seating the connector in place. Make sure that the terminals pass fully through the connector slots.
    • Connect the TCC by pressing it in place by hand and fully seating the connector in place. Make sure that the terminals pass fully through the connector slots.
    • Connect the shift solenoid SSA and SSB by pressing it in place by hand and fully seating the connector in place. Make sure that the terminals pass fully through the connector slots.
      Fig 66: Identifying Molded Lead Frame For Solenoids
      G03888599Courtesy of FORD MOTOR CO.
  82. Install the fluid filter and seal assembly.
    Fig 67: Installing Fluid Filter And Seal Assembly
    G04584748Courtesy of FORD MOTOR CO.
  83. Position the pan magnet into the transmission fluid pan.
    Fig 68: Locating Pan Magnet In Transmission Fluid Pan
    G03888537Courtesy of FORD MOTOR CO.
  84. NOTE: The pan gasket is reusable. Clean and inspect for damage. If not damaged, the gasket should be reused.
  85. Install the fluid pan.
    1. Position the transmission fluid pan and gasket.
    2. Install the transmission fluid pan bolts.
      • Tighten to 14 Nm (10 lb-ft).
        Fig 69: Installing Transmission Fluid Pan Bolts
        G04584750Courtesy of FORD MOTOR CO.
  86. Loosely install the digital transmission range (TR) sensor and bolts.
    Fig 70: Identifying Digital TR Sensor And Bolts
    G04584370Courtesy of FORD MOTOR CO.
  87. NOTE: The tool is designed to fit snugly.
    NOTE: Manual shift lever must be in the NEUTRAL position.
    Fig 71: Aligning Digital TR Sensor Slots Using Special Tool (307-351)
    G04584268Courtesy of FORD MOTOR CO.
  88. Using the special tool, align the digital TR sensor slots.
  89. CAUTION: Tightening one screw before tightening the other may cause the sensor to bind or become damaged.
  90. Tighten the screws in an alternating sequence.
    • Tighten to 9 Nm (80 lb-in).
      Fig 72: Aligning Digital TR Sensor Slots With Special Tool
      G04584269Courtesy of FORD MOTOR CO.
  91. Lightly lubricate the converter hub with clean automatic transmission fluid.
    Fig 73: Lubricating Converter Hub With Clean Automatic Transmission Fluid
    G04584754Courtesy of FORD MOTOR CO.
  92. WARNING: The torque converter can fall out if the transmission is tipped.
    CAUTION: Make sure the converter hub is fully engaged in the front pump support and gear and rotates freely. Do not damage the hub seal.
    CAUTION: If the torque converter slides out, the hub seal may be damaged.
    Fig 74: Installing Torque Converter
    G04584755Courtesy of FORD MOTOR CO.
  93. Using the special tools, install the torque converter.
  94. Lubricate the torque converter pilot hub with multi-purpose grease.
    Fig 75: Lubricating Torque Converter Pilot Hub With Multi-Purpose Grease
    G04584756Courtesy of FORD MOTOR CO.