LEMON Manuals: Even more car manuals for everyone: 1960-2025
Home >> Ford >> 2000 >> Contour SVT >> Repair and Diagnosis >> External Pages >> Different car >> Section 1384 (HVAC Control System - General Information & Diagnostics) >> Diagnosis And Testing >> Climate Control System >> Pinpoint Tests >> Pinpoint Test E: No Communication With The Electronic Automatic Temperature Control Module >> Pinpoint Test E: No Communication With The Electronic Automatic Temperature Control (EATC) Module
April 5, 2026: LEMON Manuals is launched! Read the announcement.

Pinpoint Test E: No Communication With The Electronic Automatic Temperature Control (EATC) Module

WARNING: This page is about a different car, the 2006 Mercury Grand Marquis and 2006 Ford Crown Victoria. However, it is still accessible from the selected car via links, so may be relevant.
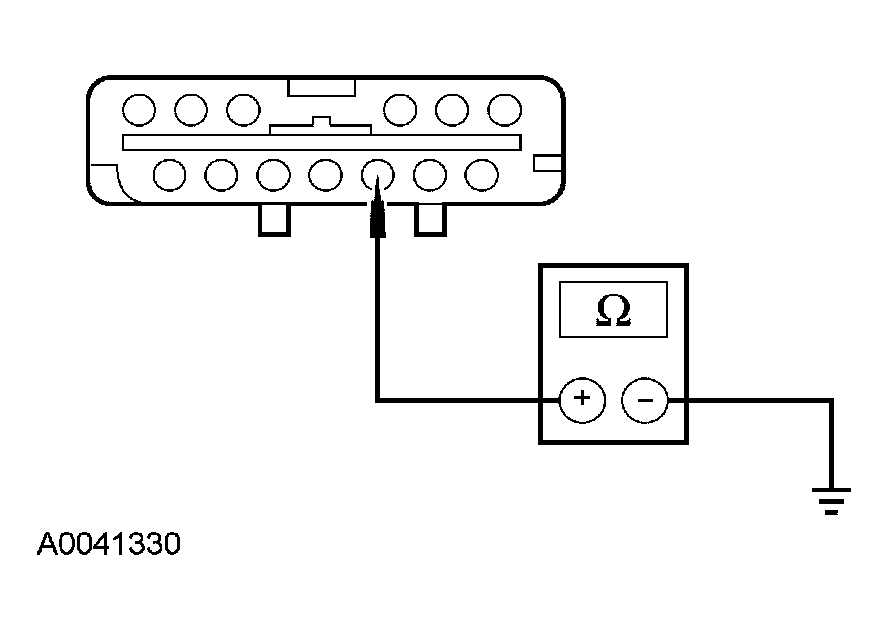
  1. E1 CHECK CIRCUIT 57 (BK) FOR AN OPEN 
    • Disconnect: EATC Module C228a.
    • Measure the resistance between EATC module C228a-3, circuit 57 (BK) and ground.
      Fig 1: Measuring Resistance Between EATC Module C228A-3, Circuit 57 (BK) And Ground
      G04585029Courtesy of FORD MOTOR CO.
    • Is the resistance less than 5 ohms? 

    Yes  : GO to E2.

    No  : REPAIR circuit 57 (BK) for an open. TEST the system for normal operation.

  2. E2 CHECK CIRCUIT 1566 (RD/YE) FOR B+ 
    • Measure the voltage between EATC module C228a-2, circuit 1566 (RD/YE) and ground.
      Fig 2: Measuring Voltage Between EATC Module C228A-2, Circuit 1566 (RD/YE) And Ground
      G04585030Courtesy of FORD MOTOR CO.
    • Is the voltage reading B+? 

    Yes  : GO to E3.

    No  : VERIFY the central junction box (CJB) fuse 3 (10A) is OK. If OK, REPAIR circuit 1566 (RD/YE) for an open. TEST the system for normal operation.

  3. E3 CHECK CIRCUIT 1812 (BN/WH) FOR B+ 
    • Key in ON position.
    • Measure the voltage between EATC module C228a-16, circuit 1812 (BN/WH) and ground.
      Fig 3: Measuring Voltage Between EATC Module C228A-16, Circuit 1812 (BN/WH) And Ground
      G04585031Courtesy of FORD MOTOR CO.
    • Is the voltage reading B+? 

    Yes  : REFER to MODULE COMMUNICATIONS NETWORK to diagnose the network concern.

    No  : VERIFY the central junction box (CJB) fuse 2 (10A) is OK. If OK, REPAIR circuit 1812 (BN/WH) for an open. TEST the system for normal operation.