LEMON Manuals: Even more car manuals for everyone: 1960-2025
Home >> Ford >> 2000 >> Contour SVT >> Repair and Diagnosis >> External Pages >> Different car >> Section 1639 (Engine) >> Assembly >> Engine
April 5, 2026: LEMON Manuals is launched! Read the announcement.

Section 1639 (Engine): Assembly: Engine

WARNING: This page is about a different car, the 2006 Mercury Montego, 2006 Ford Freestyle, and 2006 Ford Five Hundred. However, it is still accessible from the selected car via links, so may be relevant.
SPECIAL TOOL TABLE

G04655915Courtesy of FORD MOTOR CO.
Installer, Crankshaft Vibration Damper 303-102 (T74P-6316-B)
G04655916Courtesy of FORD MOTOR CO.
Installer, Front Cover Oil Seal 303-335 (T88T-6701-A)
G04655917Courtesy of FORD MOTOR CO.
Strap Wrench 303-D055 (D85L-6000-A)
G04655918Courtesy of FORD MOTOR CO.
Installer, Power Steering Pump Pulley 211-185 (T91P-3A733-A)
G04655919Courtesy of FORD MOTOR CO.
Protector, Camshaft Oil Seal 303-463 (T94P-6256-AH)
G04655920Courtesy of FORD MOTOR CO.
Installer, Camshaft Pulley 303-458 (T94P-6312-AH3)
G04655921Courtesy of FORD MOTOR CO.
Installer, Camshaft Oil Seal 303-1139
G04655922Courtesy of FORD MOTOR CO.
Installer, Crankshaft Rear Main Oil Seal 303-178 (T82L-6701-A)
G04655923Courtesy of FORD MOTOR CO.
Installer Bolts, Crankshaft Rear Main Oil Seal 303-384 (T91P-6701-A)
G04655924Courtesy of FORD MOTOR CO.
Lifting Brackets, Engine 134-00243 or equivalent
G04655925Courtesy of FORD MOTOR CO.
Spreader Bar 303-D089 (D93P-6001-A3) or equivalent
MATERIAL TABLE

Item Specification
Silicone Gasket and Sealant TA-30 WSE-M4G323-A4
Motorcraft SAE 5W-20 Premium Synthetic Blend Motor Oil XO-5W20-QSP (in Canada Motorcraft SAE 5W-20 Super Premium Motor Oil CXO-5W20-LSP12) or equivalent WSS-M2C930-A
Silicone Brake Caliper Grease and Dielectric Compound XG-3-A ESE-M1C171-A
Silicone Gasket Remover ZC-30 -
Motorcraft Metal Surface Prep ZC-31 -
Fig 1: Identifying Engine Components (1 Of 2)
G04655926Courtesy of FORD MOTOR CO.
Fig 2: Identifying Engine Components (2 Of 2)
G04655927Courtesy of FORD MOTOR CO.
Fig 3: Exploded View Of Lower Engine Block
G08020421Courtesy of FORD MOTOR CO.
Item Part Number Description
1 6150 Piston compression upper ring (6 required)
2 6152 Piston compression lower ring (6 required)
3 6159 Piston oil control upper segment ring (6 required)
4 6161 Piston oil control spacer (6 required)
5 6159 Piston oil control lower segment ring (6 required)
6 6140 Piston pin retainer (12 required)
7 6135 Piston pin (6 required)
8 6110 Piston (6 required)
9 6200 Connecting rod (6 required)
10 6211 Connecting rod upper bearing (6 required)
11 6211 Connecting rod lower bearing (6 required)
12 6210 Connecting rod cap (6 required)
13 6010 Cylinder block
14 6333 Cylinder block crankshaft main bearing (4 required)
15 6A341 Crankshaft upper thrust bearing
16 6303 Crankshaft
17 6333 Lower cylinder block crankshaft main bearings (3 required)
18 6337 Lower cylinder block crankshaft main thrust bearing
19 6F095 Lower cylinder block

All vehicles 

CAUTION: During engine repair procedures, cleanliness is extremely important. All parts must be thoroughly cleaned and any foreign material, including any material created while cleaning gasket surfaces, that enters the oil passages, coolant passages or the oil pan, can cause engine failure.
NOTE: Assembly of the engine requires various inspections/measurements of the engine components (engine block, crankshaft, connecting rods, pistons and piston rings). These inspections/measurements will aid in determining if the engine components will require replacement. For additional information, refer to ENGINE SYSTEM - GENERAL INFORMATION .
    NOTE: This procedure is for selecting bearings using a new crankshaft.
    Fig 4: Locating Codes
    G03956086Courtesy of FORD MOTOR CO.
  1. Select the crankshaft main bearings for each crankshaft journal.
    1. Read the code on the crankshaft flange.
    2. Read the code on the cylinder block rear face.
    • The first two numbers after the asterisk make up the code for main No. 1 and the next two numbers for main No. 2.
    • The first two numbers after the second asterisk make up the code for main No. 3 and the last two numbers for main No. 4.
  2. Using the chart shown in Fig 5, choose a bearing for each main. Match the block and crankshaft code with its corresponding column or row, by reading across the "crankshaft" row and down the "block" column.
    • For example: If the block code is * 0609* 0711* and the crankshaft code is * 8580* 8082* , main No. 1 should use grade 1 bearings, as determined by the intersection of the 06 block column and the 85 crankshaft row. Mains 2, 3 and 4 should all be grade 2.
    Fig 5: Bearing Selection Chart
    G03956087Courtesy of FORD MOTOR CO.
  3. NOTE: Before assembling the cylinder block, all sealing surfaces must be free of chips, dirt, paint and foreign material. Also, make sure the coolant and oil passages are clear.
    Fig 6: Removing/Installing Upper Crankshaft Main Bearings At Cylinder Block
    G04319820Courtesy of FORD MOTOR CO.
  4. Lubricate the upper crankshaft main bearings with clean engine oil and install the 4 crankshaft main bearings in the cylinder block.
  5. Lubricate the lower crankshaft main bearings with clean engine oil and install the 4 crankshaft main bearings in the lower cylinder block.
    Fig 7: Removing/Installing Lower Crankshaft Main Bearings At Lower Cylinder Block
    G04319819Courtesy of FORD MOTOR CO.
  6. Lubricate the crankshaft thrust bearing with clean engine oil and install in the cylinder block.
    Fig 8: Removing/Installing Crankshaft Thrust Bearing At Cylinder Block
    G04319818Courtesy of FORD MOTOR CO.
  7. If removed, install the crankshaft key into the keyway on the crankshaft.
    Fig 9: Locating Crankshaft Key
    G03898511Courtesy of FORD MOTOR CO.
  8. Apply clean engine oil to the crankshaft main and rod bearing journals.
  9. Position the crankshaft in the cylinder block.
    Fig 10: Locating Crankshaft In Cylinder Block
    G08020429Courtesy of FORD MOTOR CO.
  10. CAUTION: The lower cylinder block must be installed and the bolts tightened within four minutes of applying the sealant.
    NOTE: Clean and degrease both surfaces using metal surface cleaner before applying sealant.
    Fig 11: Applying Gasket And Sealant To Cylinder Block
    G03956092Courtesy of FORD MOTOR CO.
  11. Apply gasket and sealant to the cylinder block as shown.
  12. CAUTION: Fasteners No. 5--8 are studs. Fasteners No. 18--22 are M8 x 1.25 mm x 79.3 mm (0.05 in x 3.12 in) bolts. Fasteners No. 1--4, 17 are M8 x 1.25 mm x 95.3 mm (0.05 in x 3.75 in) bolts. Fasteners 9--12 are M10 x 1.5 mm x 106.8 mm (0.06 in x 4.20 in)/M8 x 1.25 mm x 21.5 mm (0.05 in x 0.84 in) studs. Fasteners 13-16 are M10 x 1.5 mm x 106 mm (0.06 in x 4.17 in) bolts. The bolts and studs must be installed in the correct position or engine damage can result.
    Fig 12: Identifying Lower Cylinder Block Bolts And Studs Tightening Sequence
    G08020431Courtesy of FORD MOTOR CO.
  13. Position the lower cylinder block and install the bolts and studs.
    • Tighten the bolts and studs in the sequence shown in four stages.
    • Stage 1: Tighten fasteners 1--8 to 25 Nm (18 lb-ft).
    • Stage 2: Tighten fasteners 9--16 to 40 Nm (30 lb-ft).
    • Stage 3: Tighten fasteners 1--16 90 degrees.
    • Stage 4: Tighten fasteners 17-22 to 25 Nm (18 lb-ft).
  14. Using the Dial Indicator Gauge with Holding Fixture, measure crankshaft end play.
    • Position the crankshaft to the rear of the cylinder block.
    • Zero the Dial Indicator Gauge with Holding Fixture.
    • Move the crankshaft to the front of the cylinder block. Note and record the crankshaft end play.
    • Acceptable crankshaft end play is 0.100-0.255 mm (0.003-0.010 in). If the crankshaft end play exceeds the specified range, install new parts as necessary.
    Fig 13: Measuring Crankshaft End Play Using Special Tools
    G03956095Courtesy of FORD MOTOR CO.
  15. Using the Crankshaft Rear Main Oil Seal Installer and the Crankshaft Rear Main Oil Seal Installer Bolts, install the crankshaft rear oil seal.
    Fig 14: Installing Rear Main Oil Seal Using Crankshaft Rear Main Oil Seal Installer
    G08020433Courtesy of FORD MOTOR CO.
  16. Install the engine-to-transaxle separator plate.
    Fig 15: Locating Engine-To-Transaxle Separator Plate
    GF0029006Courtesy of FORD MOTOR CO.
  17. Position the flexplate and install the bolts. Tighten to 80 N.m (59 lb-ft).
    Fig 16: Tightening Flexplate Bolts - With Torque Specification
    G03956098Courtesy of FORD MOTOR CO.
  18. Mount the engine on an engine stand.
  19. Using the chart (Fig 17), select the correct piston grade size for the cylinder bores.
    • Measure the cylinder block bore diameter.
    • Mark the outside of the block with the appropriate number(s) to identify bore grade size.
    • Choose the correct piston grade size for the cylinder bore.
    Fig 17: Cylinder Block Bore Diameter Chart
    G08020436Courtesy of FORD MOTOR CO.
  20. CAUTION: Be sure not to scratch the cylinder wall or crankshaft journal with the connecting rod. Push the piston down until the connecting rod bearing seats on the crankshaft journal.
    NOTE: Lubricate the pistons, piston rings, connecting rod bearings and the entire cylinder bores with clean engine oil.
    NOTE: Make sure the piston rings are positioned to specifications for installation. For additional information, refer to PISTON .
    NOTE: Make sure the piston arrow on top is facing toward the front of the engine.
    NOTE: After installation of each piston and connecting rod, rotate the crankshaft to verify smooth operation.
    Fig 18: Installing Piston And Connecting Rod Assemblies Using Special Tools
    G03956099Courtesy of FORD MOTOR CO.
  21. Using the special tools, install the piston and connecting rod assemblies.
  22. NOTE: The rod cap installation must keep the same orientation as marked during disassembly or engine damage may occur.
    Fig 19: Tightening Connecting Rod Caps And Bolts
    G03956100Courtesy of FORD MOTOR CO.
  23. Install the connecting rod caps and the new bolts.
    • Tighten the bolts in two stages.
    • Stage 1: Tighten to 23 Nm (17 lb-ft).
    • Stage 2: Tighten to 43 Nm (32 lb-ft).
  24. Install the oil separator cover, a new gasket and the 2 bolts.
    • Tighten to 10 N.m (89 lb-in).
    Fig 20: Locating Oil Separator Cover Bolts
    G03898510Courtesy of FORD MOTOR CO.
  25. Install the power steering pump bracket and the 3 bolts.
    • Tighten to 25 N.m (18 lb-ft).
    Fig 21: Locating Power Steering Pump Bracket Bolts
    G04655930Courtesy of FORD MOTOR CO.
  26. NOTE:  RH shown, LH similar.
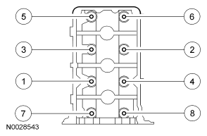
    NOTE: Position the new gaskets and the LH and RH cylinder heads. Install new bolts and tighten in the sequence shown in 6 stages:
    • Stage 1: Tighten to 40 N.m (30 lb-ft).
    • Stage 2: Tighten to 90 N.m (66 lb-ft).
    • Stage 3: Loosen 1 full turn.
    • Stage 4: Tighten to 40 N.m (30 lb-ft).
    • Stage 5: Tighten 90 degrees.
    • Stage 6: Tighten 90 degrees.
    Fig 22: Identifying Cylinder Heads Bolts Tightening Sequence
    G04655931Courtesy of FORD MOTOR CO.
  27. Install the crankshaft damper bolt and rotate the crankshaft key way to the 11 o'clock position to locate top dead center (TDC).
    Fig 23: Locating Crankshaft Damper Bolt
    G03898536Courtesy of FORD MOTOR CO.
  28. Apply clean engine oil to the LH and RH camshaft roller followers.
  29. CAUTION: The camshaft roller followers must be installed in their original positions.
    NOTE: RH shown, LH similar.
    Fig 24: Locating Camshaft Roller Followers
    G03898508Courtesy of FORD MOTOR CO.
  30. Install the LH and RH camshaft roller followers.
  31. Apply clean engine oil to the LH and RH camshafts.
  32. Install the LH and RH camshafts.
    • Locate the camshafts as shown in illustration.
    Fig 25: Locating Camshafts
    G04655934Courtesy of FORD MOTOR CO.
  33. CAUTION:
    1. The camshaft caps must be installed in their original positions or damage to the engine may occur.
    2. Do not install the camshaft journal thrust caps until all of the camshaft bearing caps have been installed, or damage to the thrust caps can occur.
    Fig 26: Identifying LH Camshaft Caps Bolts Tightening Sequence
    G04655935Courtesy of FORD MOTOR CO.
  34. Lubricate the camshaft journal caps with clean engine oil. Position the LH camshaft caps and install the bolts.
    • Tighten in the sequence shown to 10 N.m (89 lb-in).
  35. CAUTION:
    1. The camshaft caps must be installed in their original positions or damage to the engine may occur.
    2. Do not install the camshaft journal thrust caps until all of the camshaft bearing caps have been installed, or damage to the thrust caps can occur.
    Fig 27: Identifying RH Camshaft Caps Bolts Tightening Sequence
    G04655936Courtesy of FORD MOTOR CO.
  36. Position the RH camshaft caps and install the bolts.
    • Tighten in the sequence shown to 10 N.m (89 lb-in).
  37. NOTE: Clean the sealing surface with metal surface prep before installing a new press-in-place gasket.
    Fig 28: Locating Camshaft Oil Seal Retainer Bolts
    G04655937Courtesy of FORD MOTOR CO.
  38. Install the camshaft oil seal retainer and the 3 bolts.
    • Tighten to 10 N.m (89 lb-in).
  39. NOTE: Lubricate the camshaft oil seal with clean engine oil.
    Fig 29: Locating Camshaft Oil Seal On Special Tool
    G04655938Courtesy of FORD MOTOR CO.
  40. Position the new camshaft oil seal on the special tool.
  41. Position the special tool and the camshaft oil seal on the camshaft.
    Fig 30: Locating Camshaft Oil Seal Position
    G04655939Courtesy of FORD MOTOR CO.
  42. Using the special tools, install the camshaft oil seal.
    Fig 31: Identifying Special Tools
    G04655940Courtesy of FORD MOTOR CO.
  43. Remove the crankshaft damper bolt.
    Fig 32: Locating Crankshaft Damper Bolt
    G03898536Courtesy of FORD MOTOR CO.
  44. NOTE: Failure to verify correct timing drive component alignment will result in severe engine damage.
    Fig 33: Locating Crankshaft Sprocket With Timing Mark Facing Out
    G08020458Courtesy of FORD MOTOR CO.
  45. Install the crankshaft sprocket with the timing mark facing out. The timing mark on the LH and RH timing chains will be aligned to this mark during assembly.
  46. NOTE: LH shown, RH similar.
    Fig 34: Identifying Chain Tensioner In Soft-Jawed Vise
    G03898309Courtesy of FORD MOTOR CO.
  47. Position the chain tensioner in a soft-jawed vise.
  48. NOTE: LH shown, RH similar.
    Fig 35: Holding Chain Tensioner Ratchet Lock Mechanism Away From Ratchet Stem
    G03898310Courtesy of FORD MOTOR CO.
  49. Hold the chain tensioner ratchet lock mechanism away from the ratchet stem with a small pick.
  50. CAUTION: During tensioner compression, do not release the ratchet stem until the tensioner piston is fully bottomed in its bore or damage to the ratchet stem will result.
  51. Slowly compress the timing chain tensioner.
  52. Retain the tensioner piston with a 1.5 mm (0.06 in) wire or paper clip.
    Fig 36: Retaining Tensioner Piston With 1.5-mm (0.06-in) Wire Or Paper Clip
    G03898311Courtesy of FORD MOTOR CO.
  53. If timing marks in the timing chains are not evident, use a permanent-type marker to mark the crankshaft and camshaft timing marks on the LH and RH timing chains.
    1. Mark any link to use as the crankshaft timing mark.
    2. Starting with the crankshaft timing mark, count 29 links and mark the link.
    3. Continue counting to link 42 and mark the link.
    Fig 37: Identifying Timing Chains Marks
    G04655946Courtesy of FORD MOTOR CO.
  54. Verify that the LH camshafts are correctly positioned.
    Fig 38: Locating Camshafts Aligning Marks
    G03955709Courtesy of FORD MOTOR CO.
  55. Position the LH timing chain and guide and install the 2 bolts.
    • Tighten to 25 N.m (18 lb-ft).
    • Align the marks on the timing chain with the marks on the camshaft and crankshaft sprockets.
    Fig 39: Identifying Timing Chains Marks & Bolts
    G04655948Courtesy of FORD MOTOR CO.
  56. Install the LH timing chain tensioner arm and the LH timing chain tensioner.
    1. Install the tensioner arm.
    2. Position the tensioner.
    3. Install the 2 bolts.
    • Tighten to 25 N.m (18 lb-ft).
    Fig 40: Identifying Tensioner Arm & Tensioner
    G04655949Courtesy of FORD MOTOR CO.
  57. Install the crankshaft damper bolt and rotate the crankshaft clockwise 120 degrees until the crankshaft keyway is in the 3 o'clock position.
    Fig 41: Locating Crankshaft Keyway
    G03898316Courtesy of FORD MOTOR CO.
  58. Verify that the RH camshafts are correctly positioned.
    Fig 42: Locating Crankshaft Position
    G04655951Courtesy of FORD MOTOR CO.
  59. Install the RH timing chain and chain guide and install the 2 bolts.
    • Tighten to 25 N.m (18 lb-ft).
    • Align the marks on the timing chain with the marks on the camshaft and crankshaft sprockets.
    Fig 43: Locating Timing Chain Marks & Bolts
    G04655952Courtesy of FORD MOTOR CO.
  60. Install the RH timing chain tensioner and tensioner arm.
    1. Install the tensioner arm.
    2. Position the tensioner.
    3. Install the 2 bolts.
    • Tighten to 25 N.m (18 lb-ft).
    Fig 44: Identifying Tensioner Arm And Tensioner
    G04655953Courtesy of FORD MOTOR CO.
  61. Remove the LH and RH timing chain tensioner piston retaining wires.
  62. Rotate the crankshaft counterclockwise 120 degrees to top dead center (TDC).
  63. CAUTION: Failure to verify correct timing drive component alignment will result in severe engine damage.
    Fig 45: Locating Crankshaft Timing Marks
    G04655954Courtesy of FORD MOTOR CO.
  64. Verify the timing with the following steps.
    1. There should be 12 chain links between the camshaft timing marks.
    2. There should be 27 chain links between the camshaft and the crankshaft timing marks.
    3. There should be 30 chain links between the camshaft and the crankshaft timing marks.
  65. Remove the crankshaft damper bolt.
    Fig 46: Identifying Damper Bolt
    G03898296Courtesy of FORD MOTOR CO.
  66. CAUTION: This pulse wheel is used in several different engines. Install the pulse wheel with the keyway in the slot stamped "30" or "30RFF" only (orange in color).
    Fig 47: Identifying Ignition Pulse Wheel
    G03898322Courtesy of FORD MOTOR CO.
  67. Install the ignition pulse wheel.
  68. CAUTION: Only use hand tools when removing or installing the spark plugs, damage can occur to the cylinder head or spark plug.
    Fig 48: Locating Spark Plugs
    G03898297Courtesy of FORD MOTOR CO.
  69. Install the LH and RH spark plugs.
    • Tighten to 15 N.m (11 lb-ft).
  70. Install 3 new gaskets in the engine front cover.
  71. NOTE:
    1. Clean the sealing surfaces with silicone gasket remover and metal surface prep before applying gasket and sealant.
    2. The front cover must be installed and the bolts tightened within 4 minutes of sealant application.
    Fig 49: Locating Gaskets In Engine Front Cover
    G04655958Courtesy of FORD MOTOR CO.
  72. Apply a 6 mm (0.24 in) dot of silicone gasket and sealant to the cylinder block-to-lower cylinder block and cylinder head mating surfaces.
  73. Position the engine front cover. Install the 14 bolts and the stud bolt.
    • Tighten in the sequence shown to 25 N.m (18 lb-ft).
    Fig 50: Identifying Engine Front Cover Bolts Tightening Sequence
    G04655959Courtesy of FORD MOTOR CO.
  74. Install the belt tensioner and the bolt.
    • Tighten to 45 N.m (33 lb-ft).
    Fig 51: Locating Belt Tensioner Bolt
    G04655960Courtesy of FORD MOTOR CO.
  75. NOTE: Apply clean engine oil to the seal lip and seal bore before installing the seal.
    Fig 52: Installing Crankshaft Seal Using Special Tools (303-335 And 303-102)
    G03898281Courtesy of FORD MOTOR CO.
  76. Using the special tool, install a new crankshaft front seal.
  77. NOTE:
    1. Clean the keyway and slot using metal surface cleaner before applying silicone gasket and sealant.
    2. The crankshaft damper must be installed and the bolt tightened within 4 minutes of sealant application.
    Fig 53: Applying Silicone Gasket And Sealant
    G03898275Courtesy of FORD MOTOR CO.
  78. Apply silicone gasket and sealant to the end of the crankshaft damper keyway slot.
  79. NOTE: Lubricate the outside diameter sealing surfaces with clean engine oil.
    Fig 54: Identifying Special Tools
    G04655963Courtesy of FORD MOTOR CO.
  80. Using the special tools, install the crankshaft pulley.
  81. Using the special tool to hold the crankshaft pulley, install the bolt and washer and tighten in 4 stages.
    • Stage 1: Tighten to 120 N.m (89 lb-ft).
    • Stage 2: Loosen 1 full turn (360 degrees).
    • Stage 3: Tighten to 50 N.m (37 lb-ft).
    • Stage 4: Tighten to 90 N.m (66 lb-ft).
    Fig 55: Identifying Crankshaft Pulley Bolt & Special Tools
    G04655964Courtesy of FORD MOTOR CO.
  82. If equipped, install the block heater.
    • Tighten to 14 N.m (10 lb-ft).
    Fig 56: Locating Block Heater
    G04655965Courtesy of FORD MOTOR CO.
  83. Install the oil pressure sender.
    • Tighten to 14 N.m (10 lb-ft).
    Fig 57: Locating Oil Pressure Sender
    G04655966Courtesy of FORD MOTOR CO.
  84. Install the oil pan baffle and the 8 nuts.
    • Tighten the M8 nuts to 15 N.m (11 lb-ft) and then rotate 45 degrees.
    • Tighten the M6 nuts to 5 N.m (44 lb-in) and then rotate 45 degrees.
    Fig 58: Locating Oil Pan Baffle Nut
    G04655967Courtesy of FORD MOTOR CO.
  85. NOTE: Lubricate the new oil pump screen and pickup tube O-ring seal with clean engine oil.
    Fig 59: Locating Pickup Tube Bolts
    G04655968Courtesy of FORD MOTOR CO.
  86. Position the oil pump screen and pickup tube and install the 2 bolts.
    • Tighten to 10 N.m (89 lb-in).
  87. Install the radio interference capacitor and the bolt.
    • Tighten to 8 N.m (71 lb-in).
    Fig 60: Locating Radio Interference Capacitor Bolts
    G04655969Courtesy of FORD MOTOR CO.
  88. Install the coolant bypass tube and the 2 bolts.
    • Tighten to 10 N.m (89 lb-in).
    Fig 61: Locating Coolant Bypass Tube Bolts
    G04655970Courtesy of FORD MOTOR CO.
  89. NOTE: The center coolant pump uses a sealing washer and must be replaced whenever the bolt is removed.
    NOTE: The hole in the coolant pump for the center coolant pump bolt is threaded. Once the center coolant pump is unscrewed from the camshaft, it must also be unscrewed from the coolant pump.
  90. Remove the center coolant pump bolt from the coolant pump and discard the sealing washer.
    • Install a new sealing washer on the center coolant pump bolt, then install the center coolant pump bolt in the coolant pump.
  91. Install the coolant pump and the 4 bolts. Tighten in 4 stages:
    • Stage 1: Tighten the coolant pump center bolt to 4 N.m (35 lb-in).
    • Stage 2: Loosely install the 3 coolant pump outer bolts.
    • Stage 3: Tighten the coolant pump center bolt to 25 N.m (18 lb-ft).
    • Stage 4: Tighten the 3 coolant pump outer bolts to 10 N.m (89 lb-in).
    Fig 62: Locating Coolant Pump Bolts
    G04655971Courtesy of FORD MOTOR CO.
  92. NOTE: Install a new O-ring seal on the thermostat housing and lubricate with clean engine oil
    Fig 63: Locating Thermostat Housing Bolts
    G04655972Courtesy of FORD MOTOR CO.
  93. Install the thermostat housing and the 2 bolts.
    • Tighten to 10 N.m (89 lb-in).
  94. CAUTION: Do not use metal scrapers, wire brushes, power abrasive discs or other abrasive means to clean the sealing surfaces. These tools cause scratches and gouges which make leak paths. Use a plastic scraping tool to remove all traces of old sealant.
  95. Clean the LH and RH valve cover sealing surfaces.
  96. NOTE: The valve cover must be installed and the bolts and stud bolts tightened within 4 minutes of sealant application.
  97. Apply a 5 mm (0.19 in) dot of silicone gasket sealant to the front cover-to-RH cylinder head joints.
  98. NOTE: Install a new gasket in the valve cover.
    Fig 64: Identifying RH Valve Cover Bolts Tightening Sequence
    G04655973Courtesy of FORD MOTOR CO.
  99. Position the RH valve cover. Install the 9 bolts and 5 stud bolts.
    • Tighten in the sequence shown to 10 N.m (89 lb-in).
  100. NOTE: The valve cover must be installed and the bolts and stud bolts tightened within 4 minutes of sealant application.
  101. Apply a 5 mm (0.19 in) dot of silicone gasket sealant to the front cover-to-LH cylinder head joints.
  102. NOTE: Install a new gasket in the valve cover.
    Fig 65: Identifying LH Valve Cover Bolts Tightening Sequence
    G04655974Courtesy of FORD MOTOR CO.
  103. Position the LH valve cover. Install the 6 bolts and 8 stud bolts.
    • Tighten in the sequence shown to 10 N.m (89 lb-in).
  104. Install the RH and LH ignition coils and the 6 bolts.
    • Tighten to 6 N.m (53 lb-in).
    Fig 66: Locating Ignition Coils
    G04655975Courtesy of FORD MOTOR CO.
  105. Install 6 new LH exhaust manifold studs.
    • Tighten to 12 N.m (9 lb-ft).
    Fig 67: Locating Exhaust Manifold Studs
    G03898429Courtesy of FORD MOTOR CO.
  106. Position a new gasket and the LH exhaust manifold and converter. Install the 6 new nuts.
    • Tighten to 20 N.m (15 lb-ft).
    Fig 68: Locating Exhaust Manifold Nuts
    G04655977Courtesy of FORD MOTOR CO.
  107. Install 6 new RH exhaust manifold studs.
    • Tighten to 12 N.m (9 lb-ft).
    Fig 69: Locating Exhaust Manifold Studs
    G03898429Courtesy of FORD MOTOR CO.
  108. Position a new gasket and the RH exhaust manifold and converter. Install the 6 new nuts.
    • Tighten to 20 N.m (15 lb-ft).
    Fig 70: Locating Exhaust Manifold Nut
    G04655979Courtesy of FORD MOTOR CO.
  109. Install the RH engine insulator bracket and the 4 bolts.
    • Tighten to 55 N.m (41 lb-ft).
    Fig 71: Locating Engine Insulator Bracket Bolts
    G04655980Courtesy of FORD MOTOR CO.
  110. Install the generator, nuts and the bolt.
    • Tighten to 48 N.m (35 lb-ft).
    Fig 72: Locating Generator Nuts & Bolt
    G04655981Courtesy of FORD MOTOR CO.
  111. NOTE: Install a new O-ring seal on the M22 bolt and lubricate with clean engine oil.
    Fig 73: Locating Oil Filter Adapter Bolts
    G04655982Courtesy of FORD MOTOR CO.
  112. Position the oil filter adapter and loosely install the bolts. Tighten in 3 stages:
    • Stage 1: Tighten the M22 bolt to 25 N.m (18 lb-ft).
    • Stage 2: Tighten the M8 bolt to 25 N.m (18 lb-ft).
    • Stage 3: Tighten the M22 bolt to 155 N.m (114 lb-ft).
  113. Install a new oil filter.
    • Tighten to 16 N.m (12 lb-ft).
    Fig 74: Locating Oil Filter
    G04655983Courtesy of FORD MOTOR CO.
  114. NOTE: Install a new O-ring seal on the oil level indicator tube and lubricate with clean engine oil.
    Fig 75: Locating Oil Level Indicator Tube & Stud Bolt
    G04655984Courtesy of FORD MOTOR CO.
  115. Install the oil level indicator tube and the stud bolt.
    • Tighten to 9 N.m (80 lb-in).
  116. Position the engine wiring harness.
  117. Connect the bypass and the coolant pump hoses.
    Fig 76: Locating Bypass & Coolant Pump Hoses
    G04655985Courtesy of FORD MOTOR CO.
  118. Connect the engine coolant temperature (ECT) sensor and the radio interference capacitor electrical connectors.
    Fig 77: Locating Engine Coolant Temperature Sensor & Radio Interference Capacitor Connectors
    G04655986Courtesy of FORD MOTOR CO.
  119. Connect the LH ignition coil electrical connectors and attach the wiring retainers.
    Fig 78: Locating Ignition Coil Electrical Connectors & Wiring Retainers
    G04655987Courtesy of FORD MOTOR CO.
  120. Connect the crankshaft position sensor (CKP) electrical connector and attach the wiring retainer.
    Fig 79: Locating Crankshaft Position Sensor Electrical Connectors & Wiring Retainers
    G04655988Courtesy of FORD MOTOR CO.
  121. Attach the ground wire and install the nut.
    • Tighten to 20 N.m (15 lb-ft).
    Fig 80: Locating Ground Wire Installation Nut
    G04655989Courtesy of FORD MOTOR CO.
  122. Connect the generator wiring and install the nut.
    • Attach the wiring retainer.
    • Tighten to 8 N.m (71 lb-in).
    Fig 81: Locating Wiring Retainer
    G04655990Courtesy of FORD MOTOR CO.
  123. Connect the RH ignition coil electrical connectors and attach the wiring retainers.
    Fig 82: Locating Ignition Coil Electrical Connectors And Wiring Retainers
    G04655991Courtesy of FORD MOTOR CO.
  124. Position the wiring conduit on the valve cover studs and install the nut.
    • Tighten to 6 N.m (53 lb-in).
    Fig 83: Locating Nut
    G04655992Courtesy of FORD MOTOR CO.
  125. NOTE: If the engine is repaired or replaced because of upper engine failure, typically including valve or piston damage, check the intake manifold for metal debris. If metal debris is found, install a new intake manifold. Failure to follow these instructions can result in engine damage.
    NOTE: Clean the sealing surfaces with metal surface prep before installing the upper and lower intake manifold.
    Fig 84: Locating Intake Manifold Bolts Tightening Sequence
    G04655993Courtesy of FORD MOTOR CO.
  126. Position the new gaskets and the upper and lower intake manifold. Install the bolts.
    • Tighten in the sequence shown to 10 N.m (89 lb-in).
  127. Position the power steering pump, reservoir bracket and tubes. Install the 3 nuts.
    • Tighten to 25 N.m (18 lb-ft).
    Fig 85: Locating Nut
    G04655994Courtesy of FORD MOTOR CO.
  128. Install the power steering fluid reservoir bracket nut.
    • Tighten to 9 N.m (80 lb-in).
    Fig 86: Locating Power Steering Fluid Reservoir Bracket Nut
    G04655995Courtesy of FORD MOTOR CO.
  129. Position the power steering fluid reservoir and install the 2 nuts.
    • Tighten to 9 N.m (80 lb-in).
    Fig 87: Locating Power Steering Fluid Reservoir Nuts
    G04655996Courtesy of FORD MOTOR CO.
  130. Position the power steering tube bracket and install the bolt.
    • Tighten to 7 N.m (62 lb-in).
    Fig 88: Locating Power Steering Tube Bracket Bolt
    G04655997Courtesy of FORD MOTOR CO.
  131. Position the power steering tube bracket and install the bolt.
    • Tighten to 7 N.m (62 lb-in).
    Fig 89: Locating Power Steering Tube Bracket Bolt
    G04655998Courtesy of FORD MOTOR CO.
  132. Connect the RH HO2S and attach the retainer.
    Fig 90: Locating HO2S Connector & Retainer
    G04655999Courtesy of FORD MOTOR CO.
  133. Connect the fuel charging wiring harness electrical connector.
    Fig 91: Locating Fuel Charging Wiring Harness Electrical Connector
    G04656000Courtesy of FORD MOTOR CO.
  134. Connect the fuel rail pressure and temperature sensor vacuum tube and electrical connector.
    Fig 92: Locating Fuel Rail Pressure, Temperature Sensor Vacuum Tube & Electrical Connector
    G04656001Courtesy of FORD MOTOR CO.
  135. Install and connect the positive crankcase ventilation (PCV) tube.
    Fig 93: Locating Positive Crankcase Ventilation (PCV) Tube
    G04656002Courtesy of FORD MOTOR CO.
  136. Connect the throttle body electrical connector.
    Fig 94: Locating Throttle Body Electrical Connector
    G04656003Courtesy of FORD MOTOR CO.
  137. Connect the exhaust gas recirculation (EGR) system module electrical connector.
    Fig 95: Locating Exhaust Gas Recirculation (EGR) System Module Electrical Connector
    G04656004Courtesy of FORD MOTOR CO.
  138. Position the EGR system module tube.
    • Tighten to 40 N.m (30 lb-ft).
    Fig 96: Locating EGR System Module Tube
    G04656005Courtesy of FORD MOTOR CO.
  139. Connect the camshaft position sensor (CMP) electrical connector, attach the wiring retainers and install the 2 wiring conduit nuts.
    • Tighten to 6 N.m (53 lb-in).
    Fig 97: Locating Camshaft Position Sensor (CMP) Electrical Connector
    G04656006Courtesy of FORD MOTOR CO.
  140. Connect the oil pressure sensor electrical connector.
    Fig 98: Locating Oil Pressure Sensor Electrical Connector
    G04656007Courtesy of FORD MOTOR CO.
  141. Connect the LH heated oxygen sensor (HO2S) electrical connector and attach the wiring retainer.
    Fig 99: Locating Heated Oxygen Sensor (HO2S) Electrical Connector & Wiring Retainer
    G04656008Courtesy of FORD MOTOR CO.
  142. Install the A/C compressor bracket and the 5 bolts.
    • Tighten to 25 N.m (18 lb-ft).
    Fig 100: Locating A/C Compressor Bracket Bolts
    G04656009Courtesy of FORD MOTOR CO.
  143. Install the A/C compressor, 2 nuts and 2 bolts.
    • Tighten to 25 N.m (18 lb-ft).
    Fig 101: Locating A/C Compressor Nuts And Bolts
    G04656010Courtesy of FORD MOTOR CO.
  144. Freestyle only 

  145. Install the A/C compressor and the bolt.
    • Tighten to 25 N.m (18 lb-ft).
    Fig 102: Locating A/C Compressor Bolt
    G04656011Courtesy of FORD MOTOR CO.
  146. Install the A/C compressor shield, 2 nuts and the bolt.
    • Tighten to 25 N.m (18 lb-ft).
    Fig 103: Locating A/C Compressor Shield Nuts & Bolt
    G04656012Courtesy of FORD MOTOR CO.
  147. All vehicles 

  148. Connect the LH catalyst monitor sensor electrical connector and attach the wiring retainer.
    Fig 104: Locating Catalyst Monitor Sensor Electrical Connector
    G04656013Courtesy of FORD MOTOR CO.
  149. Connect the A/C compressor electrical connector.
    Fig 105: Locating A/C Compressor Electrical Connector
    G04656014Courtesy of FORD MOTOR CO.
  150. Rotate the tensioner counterclockwise and install the accessory drive belt.
    Fig 106: Installing Accessory Drive Belt
    G04656015Courtesy of FORD MOTOR CO.
  151. Freestyle only 

  152. Install the A/C compressor pulley shield and the 3 retainers.
    Fig 107: Locating A/C Compressor Pulley Shield
    G04656016Courtesy of FORD MOTOR CO.
  153. All vehicles 

  154. Install the special tool to the RH cylinder head.
    Fig 108: View Of Special Tool On RH Cylinder Head
    G03990013Courtesy of FORD MOTOR CO.
  155. Install the special tool to the LH cylinder head.
    Fig 109: Special Tool Installed Onto LH Cylinder Head
    G03990012Courtesy of FORD MOTOR CO.
  156. NOTE: When installing the lower half of the lifting bracket it will be easier to loosely install the upper bolt first then install the lower bolt.
    Fig 110: Identifying Lower Half Of Lifting Hook
    G03990010Courtesy of FORD MOTOR CO.
  157. Install the lower half of the special tool.
  158. Install the upper half of the special tool.
    Fig 111: Identifying Upper Half Of Lifting Hook
    G03990011Courtesy of FORD MOTOR CO.
  159. Using the special tools and a suitable engine crane, remove the engine from the engine stand.
    Fig 112: Identifying Special Tools
    G04656021Courtesy of FORD MOTOR CO.