LEMON Manuals: Even more car manuals for everyone: 1960-2025
Home >> Ford >> 2000 >> Contour SVT >> Repair and Diagnosis >> External Pages >> Different car >> Section 2202 (Engine System - General Information) >> General Procedures >> Core Plug Replacement
April 5, 2026: LEMON Manuals is launched! Read the announcement.

Core Plug Replacement

WARNING: This page is about a different car, the 2008 Ford RV Cutaway, 2008 Ford Econoline, 2008 Ford E450 Super Duty, and 2008 Ford Cutaway. However, it is still accessible from the selected car via links, so may be relevant.
Special Tools

Illustration Tool Name Tool Number
GF0000218
Slide Hammer 100-001 (T50T-100-A)
Material

Item Specification
LOCTITE® Retaining Compound 620 High Temperature
Loctite 620/Permatex 62050
WSK-N2G349-A9
Threadlock 262
TA-26
WSK-M2G351-A6
NOTE: It is necessary to use Loctite® Retaining Compound 620 High Temperature sealant on all 3 valve modular engine cylinder head cup plugs. If not used, the cylinder head cup plugs could leak or seep, causing serious engine damage.

All core plugs 

    NOTE: Cylinder block core plug shown, cylinder head core plug similar.
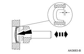
  1. Use the Slide Hammer or a suitable tool to remove the core plug.
  2. Fig 1: Identifying Cylinder Block Core Plug
    GF0040881Courtesy of FORD MOTOR CO.
    NOTE: Oversize plugs are identified by the OS stamped in the flat located on the cup side of the plug.
  3. Inspect the core plug bore for any damage that would interfere with the correct sealing of the plug. If the core plug bore is damaged, bore for the next oversize plug.
  4. Cup-type 

    NOTE: Use care during this procedure so as not to disturb or distort the cup sealing surface.
    NOTE: When installed, the flanged edge must be below the chamfered edge of the bore to effectively seal the bore.
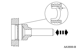
  5. Coat the cup-type core plug and bore lightly with sealant and install the core plug.
    • Use a suitable tool to seat the cup-type core plug.
  6. Fig 2: Seating Cup-Type Cylinder Block Core Plug
    GF0000220Courtesy of FORD MOTOR CO.

    Expansion-type 

    NOTE: Do not contact the crown when installing an expansion-type core plug. This could expand the plug before seating and result in leakage.
  7. Coat the expansion-type core plug and bore lightly with sealant and install the core plug.
    • Use a suitable tool to seat the expansion-type core plug.
  8. Fig 3: Seating Cup-Type Cylinder Block Core Plug
    GF0000221Courtesy of FORD MOTOR CO.