LEMON Manuals: Even more car manuals for everyone: 1960-2025
Home >> Ford >> 2000 >> Contour SVT >> Repair and Diagnosis >> External Pages >> Different car >> Section 2202 (Engine System - General Information) >> General Procedures >> Piston Pin Diameter
April 5, 2026: LEMON Manuals is launched! Read the announcement.

Piston Pin Diameter

WARNING: This page is about a different car, the 2008 Ford RV Cutaway, 2008 Ford Econoline, 2008 Ford E450 Super Duty, and 2008 Ford Cutaway. However, it is still accessible from the selected car via links, so may be relevant.
NOTE: Refer to SPECIFICATIONS .
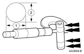
  1. Measure the piston pin diameter in 2 directions at the points shown. Verify the diameter is within specification.
  2. Fig 1: Measuring Piston Pin Diameter
    GF0000196Courtesy of FORD MOTOR CO.