LEMON Manuals: Even more car manuals for everyone: 1960-2025
Home >> Ford >> 2000 >> Contour SVT >> Repair and Diagnosis >> External Pages >> Different car >> Section 2680 (Manual Transaxle) >> Installation >> Transaxle >> Material
April 5, 2026: LEMON Manuals is launched! Read the announcement.

Section 2680 (Manual Transaxle): Installation: Transaxle: Material

WARNING: This page is about a different car, the 2011 Mercury Milan and 2011 Ford Fusion. However, it is still accessible from the selected car via links, so may be relevant.
Item Specification
Premium Long-Life Grease
XG-1-C or XG-1-K (US); CXG-1-C (Canada)
ESA-M1C75-B
SAE 75W-90 API GL-4 Gear Oil
XT-4-QGL
WSS-M2C203-A1
Threadlock and Sealer
TA-25
WSK-M2G351-A5
WARNING: Do not breathe dust or use compressed air to blow dust from storage containers or friction components. Remove dust using government-approved techniques. Friction component dust may be a cancer and lung disease hazard. Exposure to potentially hazardous components may occur if dusts are created during repair of friction components, such as brake pads and clutch discs. Exposure may also cause irritation to skin, eyes and respiratory tract, and may cause allergic reactions and/or may lead to other chronic health effects. If irritation persists, seek medical attention or advice. Failure to follow these instructions may result in serious personal injury.
    NOTE: Wipe off excess grease. The splines should have a thin film of grease only. Excess grease can contaminate the clutch facing and affect clutch function.
  1. Apply a very small amount of grease on the input shaft splines.
  2. Secure the transaxle to a suitable transmission jack with a safety strap. Raise and position the transaxle behind the engine.
  3. Install the clutch housing-to-oil pan bolt.
    • Tighten to 48 Nm (35 lb-ft).
    Fig 1: Locating Clutch Housing-To-Oil Pan Bolt
    G07786815Courtesy of FORD MOTOR CO.
  4. Install the 2 oil pan-to-clutch housing bolts.
    • Tighten to 48 Nm (35 lb-ft).
    Fig 2: Locating Oil Pan-To-Clutch Housing Bolts
    G07786816Courtesy of FORD MOTOR CO.
  5. Install the 4 lower transaxle-to-engine bolts.
    • Tighten to 48 Nm (35 lb-ft).
  6. Apply threadlock and sealer to the threads and install the 2 transmission lower mount nuts and bolt to the transaxle. Do not tighten the fasteners at this time.
  7. Position the clutch slave cylinder to the clutch release arm and install the bolts.
    • Tighten to 20 Nm (177 lb-in).
    Fig 3: Locating Clutch Slave Cylinder Mounting Bolts
    G07786817Courtesy of FORD MOTOR CO.
  8. Install the clutch tube hydraulic line bracket bolts.
    • Tighten to 22 Nm (16 lb-ft).
    Fig 4: Locating Clutch Tube Hydraulic Line Bracket Bolts
    G07786818Courtesy of FORD MOTOR CO.
  9. Install the starter motor. For additional information, refer to STARTING SYSTEM article.
  10. Place the subframe assembly on the Powertrain Lift and raise the subframe into the installed position.
    Fig 5: Positioning Powertrain Lift Under Subframe Assembly
    G07786819Courtesy of FORD MOTOR CO.
  11. NOTE: LH shown in illustration, RH similar.
    Fig 6: Locating Front Subframe Nut
    G07786820Courtesy of FORD MOTOR CO.
  12. Install the front subframe nuts.
    • Tighten to 150 Nm (111 lb-ft).
  13. NOTE: LH shown in illustration, RH similar.
    Fig 7: Locating Subframe Brackets Mounting Bolts
    G07786821Courtesy of FORD MOTOR CO.
  14. Position the subframe brackets and install the bolts finger-tight.
  15. NOTE: LH shown in illustration, RH similar.
    Fig 8: Locating Subframe Nut
    G07786822Courtesy of FORD MOTOR CO.
  16. Install the subframe nuts.
    • Tighten to 150 Nm (111 lb-ft).
  17. NOTE: LH shown in illustration, RH similar.
    Fig 9: Locating Subframe Bracket-To-Body Bolts
    G07786823Courtesy of FORD MOTOR CO.
  18. Tighten the subframe bracket-to-body bolts to 103 Nm (76 lb-ft).
  19. NOTE: LH shown in illustration, RH similar.
    Fig 10: Locating Stabilizer Bar Links Nuts
    G07786824Courtesy of FORD MOTOR CO.
  20. Install the stabilizer bar links and nuts on the struts.
    • Tighten to 40 Nm (30 lb-ft).
  21. Install the 2 roll restrictor bracket bolts.
    • Tighten to 90 Nm (66 lb-ft).
    Fig 11: Locating Roll Restrictor Bracket Bolts
    G07786825Courtesy of FORD MOTOR CO.
  22. Install the Electronic Power Assist Steering (EPAS) system wiring harness ground and the bolt behind the RH splash shield.
    • Tighten to 12 Nm (106 lb-in).
    Fig 12: Locating EPAS System Wiring Harness Ground Mounting Bolt
    G07786826Courtesy of FORD MOTOR CO.
  23. Attach the EPAS system wiring harness pin-type retainer to the subframe under the LH fender splash shield.
    Fig 13: Locating LH Fender Splash Shield Retainer
    G07786827Courtesy of FORD MOTOR CO.
  24. Attach the 2 EPAS system wiring harness pin-type retainers to the subframe.
    Fig 14: Locating EPAS System Wiring Harness Pin-Type Retainers
    G07786828Courtesy of FORD MOTOR CO.
  25. Connect the 2 in-line EPAS system electrical connectors at the front of the subframe.
    Fig 15: Locating Electronic Power Assist Steering System Electrical Connectors
    G07786829Courtesy of FORD MOTOR CO.
  26. Install the LH halfshaft and the intermediate shaft. For additional information, refer to FRONT DRIVE HALFSHAFTS article.
  27. Install the LH splash shield and the 6 pin-type retainers (4 shown in illustration).
    Fig 16: Locating RH Fender Splash Shield 6 Pin-Type Retainers
    G07786830Courtesy of FORD MOTOR CO.
  28. Position the LH fender splash shield and install the 4 screws.
    Fig 17: Locating LH Fender Splash Shield Mounting Screws
    G07786831Courtesy of FORD MOTOR CO.
  29. Install the RH splash shield and the 6 pin-type retainers (4 shown in illustration).
    Fig 18: Locating RH Fender Splash Shield And Mounting Retainers
    G07786832Courtesy of FORD MOTOR CO.
  30. Position the RH fender splash shield and install the 4 screws.
    Fig 19: Locating RH Fender Splash Shield Mounting Screws
    G07786833Courtesy of FORD MOTOR CO.
  31. Install the exhaust flexible pipe. For additional information, refer to EXHAUST SYSTEM -- FUSION, MILAN & MKZ article.
  32. Connect the reverse lamp switch electrical connector.
  33. Connect the Output Shaft Speed (OSS) sensor electrical connector.
    Fig 20: View Of Vehicle Speed Sensor (VSS) Electrical Connector
    G07786834Courtesy of FORD MOTOR CO.
  34. Fill the transaxle with clean gear oil. For additional information, refer to TRANSAXLE DRAINING AND FILLING  in this service information.
  35. Install the splash shield and the 7 bolts.
    • Tighten to 9 Nm (80 lb-in).
    Fig 21: Locating Splash Shield Bolts
    G07786835Courtesy of FORD MOTOR CO.
  36. NOTE: The steering gear/dash seal must be fully seated in the steering valve tower groove before the retaining clips are fully engaged into the body. If the steering gear/dash seal is not seated to the steering gear valve tower groove and the clips are not fully engaged to the body, water and foreign material may enter the passenger compartment and damage the vehicle interior can occur.
    Fig 22: Locating Steering Gear/Dash Seal Mounting Clips
    G07786836Courtesy of FORD MOTOR CO.
  37. Install the steering gear/dash seal.
    • Apply hand force to the center of the seal, install the steering gear/dash seal onto the steering gear valve tower until the seal is fully seated in the valve tower groove. Install the steering gear/dash seal until the retaining clips are fully engaged into the body.
  38. Install the steering column shaft onto the steering gear and install a new bolt.
    • Tighten to 20 Nm (177 lb-in).
    Fig 23: View Of Steering Column Shaft Mounting Bolt
    G07786837Courtesy of FORD MOTOR CO.
  39. Install the steering joint cover and the 2 nuts.
    Fig 24: Locating Steering Joint Cover And Mounting Nuts
    G07786838Courtesy of FORD MOTOR CO.
  40. NOTE: If one or both of the mount studs were removed or came out, do not reinstall the old stud(s). Install a new stud(s). Make sure they are properly seated in the case.
  41. Tighten the transaxle rear support insulator nuts and bolt to specification.
    • Tighten to 80 Nm (59 lb-ft).
  42. Install the 3 upper transaxle-to-engine bolts.
    • Tighten to 48 Nm (35 lb-ft).
  43. Attach the wire harness to the transaxle.
  44. Remove the Engine Support Bar.
    Fig 25: Identifying Engine Support Bar
    G07786839Courtesy of FORD MOTOR CO.
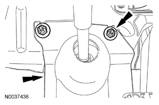
  45. Install the gearshift and shift cables onto the transaxle bracket and gearshift control assembly. Make sure the cables are engaged in the shift bracket and fully installed on the gearshift control assembly.
    Fig 26: Locating Transaxle Bracket Shift Cables
    G07786840Courtesy of FORD MOTOR CO.
  46. Install the battery tray and battery. For additional information, refer to BATTERY, MOUNTING & CABLES -- FUSION, MILAN & MKZ article.
  47. Install the Air Cleaner (ACL) assembly. For additional information, refer to INTAKE AIR DISTRIBUTION & FILTERING - 2.5L -- FUSION & MILAN (EXCEPT HYBRID) article.
  48. If the input shaft was replaced, use the scan tool to perform the Misfire Monitor Neutral Profile Correction procedure, following the on-screen instructions.
  49. Check the vehicle for normal operation.