LEMON Manuals: Even more car manuals for everyone: 1960-2025
Home >> Ford >> 2000 >> Contour SVT >> Repair and Diagnosis >> External Pages >> Different car >> Section 552 (Engine - 4.6L) >> Assembly >> Engine
April 5, 2026: LEMON Manuals is launched! Read the announcement.

Section 552 (Engine - 4.6L): Assembly: Engine

WARNING: This page is about a different car, the 2004 Mercury Mountaineer and 2004 Ford Explorer. However, it is still accessible from the selected car via links, so may be relevant.
Fig 1: Identifying Special Service Tool (1 Of 2)
G03181465Courtesy of FORD MOTOR CO.
Fig 2: Identifying Special Service Tool (2 Of 2)
G03181466Courtesy of FORD MOTOR CO.
MATERIAL SPECIFICATION CHART

Item Specification
SAE 5W-20 Premium Synthetic Blend Motor Oil XO-5W20-QSP or equivalent WSS-M2C153-H
Metal Surface Cleaner F4AZ-19A536-RA or equivalent WSE-M5B392-A
Silicone Gasket and Sealant F7AZ-19554-EA or equivalent WSE-M4G323-A4
Premium Engine Coolant VC-7-A (in Oregon VC-7-B) or equivalent WSS-M97B41-A1
Silicone Brake Caliper Grease and Dielectric Compound D7AZ-19A331-A (Motorcraft XG-3) or equivalent WSS-M97B51-A1
Instant Adhesive E8AZ-19554-A or equivalent WSK-M2G402-A4
NOTE: During engine assembly it may become necessary to check bearing clearances, end play, etc. For additional information, refer to ENGINE SYSTEM-GENERAL INFORMATION .
NOTE: For additional information, refer to the exploded views under DESCRIPTION AND OPERATION .
  1. Read the first character code information on the cylinder block face (1) and record the information.
    Fig 3: Locating Cylinder Block Face Code Information
    G03181467Courtesy of FORD MOTOR CO.
  2. Read the first character on the No. 7 crankshaft counterweight and note it.
    Fig 4: Identifying No. 7 Crankshaft Counterweight
    G03181468Courtesy of FORD MOTOR CO.
  3. Using the data recorded earlier and the Bearing Select Fit Chart, Standard Bearings chart determine the required bearing grade for each main bearing.
    • Read the first letter of the engine block main bearing code and the first letter of the crankshaft main bearing code.
    • Read down the column below the engine block main bearing code letter, and across the row next to the crankshaft main bearing code letter, until the two intersect. This is the required bearing grade fro the number one crankshaft main bearing.
    • As an example, if the engine block code letter is "F" and the crankshaft code letter is "D," the correct bearing grade for this main bearing is a "2."
    • Repeat this process for the remaining four main bearings.
    Fig 5: Bearing Select Fit Chart (1 Of 2)
    G03181469Courtesy of FORD MOTOR CO.
    Fig 6: Bearing Select Fit Chart (2 Of 2)
    G03181470Courtesy of FORD MOTOR CO.
  4. If oversize bearings are being used, use the procedure in the previous step and the Bearing Select Fit Chart, Oversize Bearings chart to determine the required bearing grade for each main bearing.
  5. NOTE: Before assembling the cylinder block, all sealing surfaces must be free of chips, dirt, paint and foreign material. Also, make sure the coolant and oil passages are clear.
  6. Lubricate with clean engine oil and install the crankshaft upper main bearings into the cylinder block.
  7. Install the crankshaft onto the upper thrust bearing and main bearings.
    Fig 7: Installing Crankshaft Onto Upper Thrust Bearing
    G03181471Courtesy of FORD MOTOR CO.
  8. NOTE: To aid in assembly, apply petroleum jelly to the back of the crankshaft thrust washer.
    NOTE: The oil groove on the thrust washer must face toward the rear of the engine (crankshaft surface).
    Fig 8: Installing Rear Main Bearing Cap
    G03181472Courtesy of FORD MOTOR CO.
  9. Install the rear main bearing cap.
  10. Install the crankshaft lower main bearings, thrust bearing and thrust washer into the main bearing caps. Locate the main bearing cap on the cylinder block and tap into place using a plastic or dead-blow hammer.
    Fig 9: Installing Crankshaft Lower Main Bearings
    G03181473Courtesy of FORD MOTOR CO.
  11. Push the crankshaft forward to seat the crankshaft thrust washer and hold the crankshaft in the forward position.
    Fig 10: Identifying Crankshaft Forward Position
    G03181474Courtesy of FORD MOTOR CO.
  12. NOTE: Make sure to tighten the bolts in four stages.
    Fig 11: Identifying Bolt Tightening Sequence (1 Of 4)
    G03181475Courtesy of FORD MOTOR CO.
  13. Tighten the bolts 1 through 20 in the sequence shown.
  14. Tighten the bolts 1 through 10 in the sequence shown.
    Fig 12: Identifying Bolt Tightening Sequence (2 Of 4)
    G03181476Courtesy of FORD MOTOR CO.
  15. Tighten the bolts 11 through 20 in the sequence shown.
    Fig 13: Identifying Bolt Tightening Sequence (3 Of 4)
    G03181477Courtesy of FORD MOTOR CO.
  16. Tighten the bolts in the sequence shown.
    Fig 14: Identifying Bolt Tightening Sequence (4 Of 4)
    G03181478Courtesy of FORD MOTOR CO.
  17. Install and tighten the cross-mounted bolts in two stages.
    • Stage 1: Tighten to 40 Nm (30 lb-ft).
    • Stage 2: Tighten an additional 90 degrees.
    Fig 15: Tightening Cross-Mounted Bolts
    G03181479Courtesy of FORD MOTOR CO.
  18. Check the piston to cylinder block and piston ring clearances. For additional information, refer to ENGINE SYSTEM-GENERAL INFORMATION .
  19. Install the piston rings.
    Fig 16: Installing Piston Rings
    G03181480Courtesy of FORD MOTOR CO.
  20. Position the piston rings as illustrated.
    Fig 17: Positioning Piston Rings
    G03181481Courtesy of FORD MOTOR CO.
  21. CAUTION: Do not scratch the cylinder walls or crankshaft journals with the connecting Rod.
    NOTE: The following piston installation steps are for all eight connecting rods, rod caps and pistons. Only one connecting rod, rod cap and piston is shown.
    Fig 18: Installing Connecting Rod With Upper Connecting Rod Bearing
    G03181482Courtesy of FORD MOTOR CO.
  22. Use the special tools to install the connecting rod with upper connecting rod bearing (6211) in place.
    • Lubricate the piston and ring with clean engine oil.
    • Lubricate the rod bearings with clean engine oil.
  23. CAUTION: Do not scratch the cylinder walls or crankshaft journals with the connecting rod.
    Fig 19: Installing Connecting Rod On Crankshaft Journal
    G03181483Courtesy of FORD MOTOR CO.
  24. Once the connecting rod is seated on the crankshaft journal, remove the special tool.
  25. CAUTION: The rod cap installation must keep the same orientation as marked during disassembly.
    NOTE: The connecting rod caps are of the "cracked" design and must mate with the connecting rod ends. Excessive bearing clearance will result if not mated correctly.
  26. Position the lower bearing and connecting rod cap, and install the new bolts loosely.
  27. NOTE: Main caps are not shown for clarity.
    Fig 20: Installing Lower Bearing And Connecting Rod Cap
    G03181484Courtesy of FORD MOTOR CO.
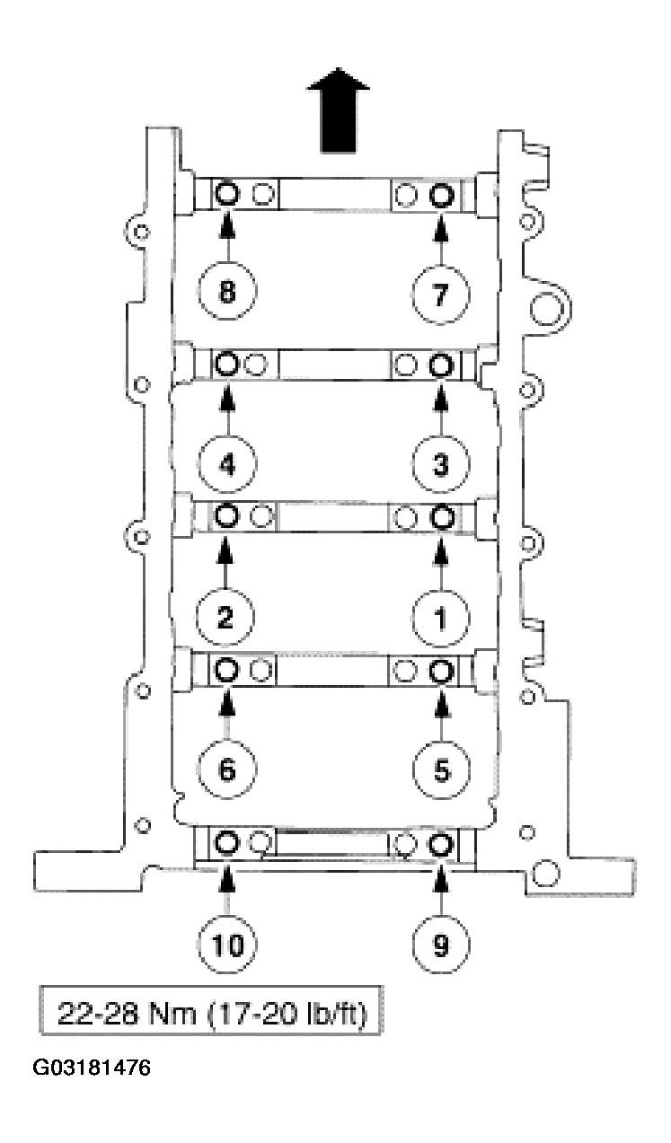
  28. Tighten the bolts in three stages, using the sequence shown.
    • Stage 1: Tighten to 23 Nm (17 lb-ft).
    • Stage 2: Tighten to 43 Nm (32 lb-ft).
    • Stage 3: Tighten an additional 90-120 degrees.
  29. Position the oil pump and install the bolts loosely. Tighten the bolts in the sequence shown.
    Fig 21: Installing Oil Pump
    G03181485Courtesy of FORD MOTOR CO.
  30. CAUTION: Make sure all coolant residue and foreign material is cleaned from the block surface and the cylinder bore.
    CAUTION: The gasket sealing surfaces on the cylinder head and the cylinder block must be clean. For additional information, refer to CYLINDER HEADS .
    CAUTION: The use of the sealing aids (aviation cement, copper spray and glue) is not permitted. The gasket must be installed dry.
    CAUTION: The new gasket has a film coating which is crucial to the gasket's ability to seal correctly. Do not scratch the gasket.
    NOTE: RH shown, LH similar.
    Fig 22: Installing Head Gaskets Over Dowel Pins
    G03181486Courtesy of FORD MOTOR CO.
  31. Install the head gaskets over the dowel pins.
  32. CAUTION: Cylinder head machining or milling is not authorized by the Ford Motor Company. Cylinder head flatness must be within 0.0254 mm (0.001 in) across a 38.1 mm (1.5 in) square area.
    CAUTION: The gasket sealing surfaces on the cylinder head and the cylinder block must be clean. For additional information, refer to CYLINDER HEADS .
    CAUTION: The use of sealing aids (aviation cement, copper spray and glue) is not permitted. The gasket must be installed dry.
    CAUTION: Do not allow the dowels to scratch the sealing surface of the cylinder head during cylinder head installation.
    NOTE: The new cylinder head bolts must be lightly oiled with a rag, and allowed to drain for a few minutes prior to installation.
    Fig 23: Identifying Bolt Tightening (1 Of 2)
    G03181487Courtesy of FORD MOTOR CO.
  33. Tighten the LH cylinder head bolts in six stages in the sequence shown.
    1. Tighten the bolts to 40 Nm (30 lb-ft).
    2. Tighten the bolts an additional 90 degrees (1/4 turn).
    3. Back out all the bolts one full turn (360 degrees).
    4. Tighten the bolts to 40 Nm (30 lb-ft).
    5. Tighten the bolts an additional 90 degrees (1/4 turn).
    6. Tighten the bolts an additional 90 degrees (1/4 turn).
  34. CAUTION: Cylinder head machining or milling is not authorized by the Ford Motor Company. Cylinder head flatness must be within 0.0254 mm (0.001 in) across a 38.1 mm (1.5 in) square area.
    CAUTION: The gasket sealing surfaces on the cylinder head and the cylinder block must be clean. For additional information, refer to CYLINDER HEADS .
    CAUTION: The use of sealing aids (aviation cement, copper spray and glue) is not permitted. The gasket must be installed dry.
    CAUTION: Do not allow the dowels to scratch the sealing surface of the cylinder head during cylinder head installation.
    NOTE: The new cylinder head bolts must be lightly oiled with a rag, and allowed to drain for a few minutes prior to installation.
    Fig 24: Identifying Bolt Tightening (2 Of 2)
    G03181488Courtesy of FORD MOTOR CO.
  35. Tighten the RH cylinder head bolts in six stages in the sequence shown.
    1. Tighten the bolts to 40 Nm (30 lb-ft).
    2. Tighten the bolts an additional 90 degrees (1/4 turn).
    3. Back out all the bolts one full turn (360 degrees).
    4. Tighten the bolts to 40 Nm (30 lb-ft).
    5. Tighten the bolts an additional 90 degrees (1/4 turn).
    6. Tighten the bolts an additional 90 degrees (1/4 turn).
  36. NOTE: Lubricate O-ring seal with clean engine oil.
    Fig 25: Installing Oil Level Indicator Tube
    G03181489Courtesy of FORD MOTOR CO.
  37. Install the oil level indicator tube.
    • Install a new O-ring seal on the oil level indicator tube.
    • Install the oil level indicator tube.
    • Install the bolt.
  38. Install the RH exhaust manifold gaskets and the exhaust manifold. Tighten the nuts in the shown.
    Fig 26: Installing RH Exhaust Manifold Gaskets And Exhaust Manifold
    G03181490Courtesy of FORD MOTOR CO.
  39. Install the RH exhaust manifold heat shield and the bolts.
    Fig 27: Installing RH Exhaust Manifold Heat Shield
    G03181491Courtesy of FORD MOTOR CO.
  40. Install the LH exhaust manifold and the exhaust manifold gaskets. Tighten the nuts in the sequence shown.
    Fig 28: Installing LH Exhaust Manifold Gaskets And Exhaust Manifold
    G03181492Courtesy of FORD MOTOR CO.
  41. Install the LH exhaust manifold heat shield and the bolts.
    Fig 29: Installing LH Exhaust Manifold Heat Shield
    G03181493Courtesy of FORD MOTOR CO.
  42. CAUTION: Timing chain procedures must be followed exactly or damage to valves and pistons will result.
    CAUTION: Do not compress the ratchet assembly. This will damage the ratchet assembly.
    Fig 30: Compressing Tensioner Plunger
    G03181494Courtesy of FORD MOTOR CO.
  43. Compress the tensioner plunger, using an edge of a vise.
  44. Using a small screwdriver or pick, push back and hold the ratchet mechanism.
    Fig 31: Pushing Back Ratchet Mechanism
    G03181495Courtesy of FORD MOTOR CO.
  45. While holding the ratchet mechanism, push the ratchet arm back into the tensioner housing.
    Fig 32: Pushing Ratchet Arm Into Tensioner Housing
    G03181496Courtesy of FORD MOTOR CO.
  46. Install a paper clip into the hole in the tensioner housing to hold the ratchet assembly and plunger in during installation.
    Fig 33: Installing Paper Clip Into Tensioner Housing To Hold Ratchet Assembly And Plunger
    G03181497Courtesy of FORD MOTOR CO.
  47. Remove the tensioner from the vise.
  48. If the copper links are not visible, mark one link on one end and one link on the other end, and use as timing marks.
    Fig 34: Identifying Copper Links
    G03181498Courtesy of FORD MOTOR CO.
  49. Position the crankshaft with the special tool.
    Fig 35: Positioning Crankshaft With Special Tool
    G03181499Courtesy of FORD MOTOR CO.
  50. Install the crankshaft sprocket, make sure the timing mark faces forward.
    Fig 36: Installing Crankshaft Sprocket
    G03181500Courtesy of FORD MOTOR CO.
  51. Install the timing chain guides.
    1. Position the LH timing chain guide.
    2. Install and tighten the bolts.
    3. Position the RH timing chain guide.
    4. Install and tighten the bolts.
    Fig 37: Installing Timing Chain Guides
    G03181501Courtesy of FORD MOTOR CO.
  52. Rotate the RH camshaft sprocket until the timing mark is approximately at the 11 o'clock position. Rotate the LH camshaft sprocket until the timing mark is approximately at the 12 o'clock position.
    Fig 38: Identifying Timing Marks On Camshafts
    G03181502Courtesy of FORD MOTOR CO.
  53. Install the timing chains.
    • Install the LH (inner) timing chain on the crankshaft sprocket, aligning the copper link with the dot on the crankshaft sprocket.
    • Install the LH (inner) timing chain on the camshaft sprocket, aligning the copper link with the dot on the camshaft sprocket.
    • Install the RH (outer) timing chain on the crankshaft sprocket, aligning the copper link with the dot on the crankshaft sprocket.
    • Install the RH (outer) timing chain on the camshaft sprocket, aligning the copper link with the dot on the camshaft sprocket.
    Fig 39: Installing Timing Chains
    G03181503Courtesy of FORD MOTOR CO.
  54. NOTE: The LH timing chain tensioner arm has a bump near the dowel hole, for identification.
    Fig 40: Removing LH And RH Timing Chain Tensioner Arm
    G03181504Courtesy of FORD MOTOR CO.
  55. Position the LH and RH timing chain tensioner arm on the dowel pins.
  56. Position the RH timing chain tensioner and install the bolts.
    Fig 41: Locating RH Timing Chain Tensioner
    G03181505Courtesy of FORD MOTOR CO.
  57. Position the LH timing chain tensioner and install the bolts.
    Fig 42: Locating LH Timing Chain Tensioner
    G03181506Courtesy of FORD MOTOR CO.
  58. Remove both the RH and LH retaining pins from the timing chain tensioners.
    Fig 43: Removing RH And LH Retaining Pins
    G03181507Courtesy of FORD MOTOR CO.
  59. As a post-check, make sure the copper (marked) links on the timing chains line up with the timing marks on the crankshaft and camshaft sprockets.
    Fig 44: Identifying Timing Marks On Crankshaft And Camshaft Sprockets
    G03181508Courtesy of FORD MOTOR CO.
  60. Position the crankshaft sensor ring on the crankshaft.
    Fig 45: Positioning Crankshaft Sensor Ring On Crankshaft
    G03181509Courtesy of FORD MOTOR CO.
  61. NOTE: If the bolt is not secured within four minutes, the sealant must be removed and the sealing area cleaned with metal surface cleaner. Failure to follow this procedure can cause future oil leakage.
    Fig 46: Applying Silicone Gasket And Sealant
    G03181510Courtesy of FORD MOTOR CO.
  62. Apply a bead of silicone gasket and sealant along the head-to-block surface as specified.
  63. Install new engine front cover gaskets on the engine front cover. Position the engine front cover. Install the fasteners finger-tight.
    Fig 47: Installing Engine Front Cover
    G03181511Courtesy of FORD MOTOR CO.
  64. Tighten the front cover bolts and stud bolts in the sequence shown.
    Fig 48: Tightening Sequence Of Front Cover Bolts And Stud Bolts
    G03181512Courtesy of FORD MOTOR CO.
  65. Lubricate the front cover and the front oil seal inner lip with clean engine oil.
    Fig 49: Installing Front Cover And Front Oil Seal Inner Lip
    G03181513Courtesy of FORD MOTOR CO.
  66. Using the special tool, install the front oil seal into the engine front cover.
    Fig 50: Installing Front Oil Seal Into Engine Front Cover
    G03181514Courtesy of FORD MOTOR CO.
  67. NOTE: If not secured within four minutes, sealant must be removed and the sealing area cleaned with metal surface cleaner. Failure to follow this procedure can cause future oil leakage.
    Fig 51: Applying Silicone Gasket And Sealant
    G03181515Courtesy of FORD MOTOR CO.
  68. Apply silicone gasket and sealant to the Woodruff key slot on the crankshaft pulley.
  69. Using the special tool, install the crankshaft pulley.
    Fig 52: Installing Crankshaft Pulley
    G03181516Courtesy of FORD MOTOR CO.
  70. NOTE: Use special tool 303-D055 to hold the crankshaft pulley.
    Fig 53: Installing Bolt And Washer
    G03181517Courtesy of FORD MOTOR CO.
  71. Install the bolt and washer. Tighten the bolt in four stages.
    • Stage 1: Tighten to 90 Nm (66 lb-ft).
    • Stage 2: Loosen 360 degrees.
    • Stage 3: Tighten to 50 Nm (37 lb-ft).
    • Stage 4: Tighten an additional 90 degrees.
  72. Rotate the camshaft until the lobe is in the upward position.
    Fig 54: Identifying Camshaft Lobe In Upward Position
    G03181518Courtesy of FORD MOTOR CO.
  73. Install the special tool between the valve spring coils to prevent valve stem seal damage.
    Fig 55: Installing Special Tool Between Valve Spring Coils
    G03181519Courtesy of FORD MOTOR CO.
  74. Use the special tool to compress the valve spring and install the camshaft roller followers.
    Fig 56: Installing Camshaft Roller Followers
    G03181520Courtesy of FORD MOTOR CO.
  75. Install the spark plugs.
    Fig 57: Installing Spark Plugs
    G03181521Courtesy of FORD MOTOR CO.
  76. Inspect the LH valve cover gasket. If the gasket is damaged, remove and discard the gasket. Clean the valve cover gasket groove with soap and water or a suitable solvent.
  77. If a new gasket is being installed, apply instant adhesive completely around the gasket groove in the valve cover.
    Fig 58: Applying Silicone In Gasket Groove Of Valve Cover
    G03181522Courtesy of FORD MOTOR CO.
  78. NOTE: If not secured within four minutes, sealant must be removed and the sealing area cleaned with metal surface cleaner. Failure to follow this procedure can cause future oil leakage.
    Fig 59: Applying Silicone Where Engine Front Cover Meets Cylinder Head
    G03181523Courtesy of FORD MOTOR CO.
  79. Apply silicone gasket and sealant to the left valve cover gasket surface, in two places, where the engine front cover meets the cylinder head.
  80. Install the left valve cover and tighten the bolts in the sequence shown.
    Fig 60: Installing Valve Cover
    G03181524Courtesy of FORD MOTOR CO.
  81. Inspect the RH valve cover gasket. If the gasket is damaged, remove and discard the gasket. Clean the valve cover gasket groove with soap and water or a suitable solvent.
  82. If a new gasket is being installed, apply instant adhesive completely around the gasket groove in the valve cover.
    Fig 61: Applying Adhesive Completely Around Gasket Groove In Valve Cover
    G03181525Courtesy of FORD MOTOR CO.
  83. NOTE: If not secured within four minutes, sealant must be removed and the sealing area cleaned with metal surface cleaner. Failure to follow this procedure can cause future oil leakage.
    Fig 62: Applying Silicone Gasket And Sealant
    G03181526Courtesy of FORD MOTOR CO.
  84. Apply silicone gasket and sealant to the right valve cover gasket surface, in two places, where the engine front cover meets the cylinder head.
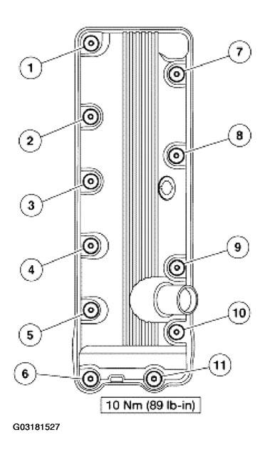
  85. Install the right valve cover and tighten the bolts in the sequence shown.
    Fig 63: Installing Right Valve Cover
    G03181527Courtesy of FORD MOTOR CO.
  86. Install the oil pump screen cover and tube spacer.
    Fig 64: Installing Oil Pump Screen Cover And Tube Spacer
    G03181528Courtesy of FORD MOTOR CO.
  87. NOTE: Oil scraper not shown for clarity.
    Fig 65: Identifying Oil Pump Screen Cover And Tube
    G03181529Courtesy of FORD MOTOR CO.
  88. Position the oil pump screen cover and tube and install the bolts.
  89. NOTE: If the rear crankshaft seal retaining plate is not secured within four minutes, the sealant must be removed and the sealing area cleaned with metal surface cleaner. Allow to dry until there is no sign of wetness, or four minutes, whichever is longer. Failure to follow this procedure can cause future oil leakage.
    NOTE: The silicone must be applied on the groove along the retainer plate.
    Fig 66: Applying Silicone Gasket And Sealant
    G03181530Courtesy of FORD MOTOR CO.
  90. Apply a 4 mm (0.16 in) bead of silicone gasket and sealant around the rear oil seal retainer sealing surface.
  91. Install the rear oil seal retainer and loosely install the six bolts.
    Fig 67: Installing Rear Oil Seal Retainer
    G03181531Courtesy of FORD MOTOR CO.
  92. Tighten the bolts in the sequence shown.
    Fig 68: Identifying Bolt Tightening Sequence
    G03181532Courtesy of FORD MOTOR CO.
  93. NOTE: If the oil pan is not secured within four minutes, the sealant must be removed and the sealing areas cleaned with metal surface cleaner. Failure to follow this procedure can cause future oil leakage.
    Fig 69: Applying Silicone Gasket And Sealant (1 Of 2)
    G03181533Courtesy of FORD MOTOR CO.
  94. Apply silicone gasket and sealant in two places.
  95. NOTE: If the oil pan is not secured within four minutes, the sealant must be removed and the sealing areas cleaned with metal surface cleaner. Failure to follow this procedure can cause future oil leakage.
    Fig 70: Applying Silicone Gasket And Sealant (2 Of 2)
    G03181534Courtesy of FORD MOTOR CO.
  96. Apply silicone gasket and sealant in two places.
  97. Position the new oil pan gasket and the oil pan and loosely install the bolts.
    Fig 71: Installing Oil Pan Gasket And Oil Pan
    G03181535Courtesy of FORD MOTOR CO.
  98. Tighten the bolts in three stages, in the sequence shown.
    • Stage 1: Tighten to 2 Nm (18 lb-in).
    • Stage 2: Tighten to 20 Nm (15 lb-ft).
    • Stage 3: Tighten an additional 60 degrees.
    Fig 72: Identifying Oil Pan Bolt Tightening Sequence
    G03181536Courtesy of FORD MOTOR CO.
  99. Install the RH engine support insulator bracket and the bolts.
    Fig 73: Installing RH Engine Support Insulator Bracket
    G03181537Courtesy of FORD MOTOR CO.
  100. Install the LH engine support insulator bracket and the bolts.
    Fig 74: Installing LH Engine Support Insulator Bracket
    G03181538Courtesy of FORD MOTOR CO.
  101. Install the coolant tube and the nut.
    • Inspect and install new O-ring seals as necessary.
    • Lubricate the O-ring seals with clean engine coolant.
    Fig 75: Installing Coolant Tube And Nut
    G03181539Courtesy of FORD MOTOR CO.
  102. Install the knock sensor (KS) and the bolts.
    Fig 76: Installing Knock Sensor (KS) And Bolts
    G03181540Courtesy of FORD MOTOR CO.
  103. Connect the heater coolant hose.
    Fig 77: Connecting Heater Coolant Hose
    G03181541Courtesy of FORD MOTOR CO.
  104. Install the ground wire and bolt.
    Fig 78: Installing Ground Wire And Bolt
    G03181542Courtesy of FORD MOTOR CO.
  105. Install new intake manifold gaskets.
    Fig 79: Installing Intake Manifold Gaskets
    G03181543Courtesy of FORD MOTOR CO.
  106. Install the intake manifold and tighten the bolts in the sequence shown.
    Fig 80: Installing Intake Manifold
    G03181544Courtesy of FORD MOTOR CO.
  107. NOTE: Lubricate the O-ring seal with clean engine coolant.
    Fig 81: Installing Thermostat Housing And Bolts
    G03181545Courtesy of FORD MOTOR CO.
  108. Install the thermostat housing and the bolts.
  109. NOTE: Apply dielectric compound to the inside of the coil boots.
    Fig 82: Installing Ignition Coils
    G03181546Courtesy of FORD MOTOR CO.
  110. Install all eight ignition coils and the bolts.
  111. Position the fuel charging wiring harness on the top of the engine.
    • Connect the harness locators to the engine.
    Fig 83: Connecting Harness Locators To Engine
    G03181547Courtesy of FORD MOTOR CO.
  112. Position the starter wiring harness and connect the wiring harness retainers.
    Fig 84: Connecting Wiring Harness Retainers
    G03181548Courtesy of FORD MOTOR CO.
  113. Connect the ground wire.
    Fig 85: Connecting Ground Wire
    G03181549Courtesy of FORD MOTOR CO.
  114. Install the bolt.
    Fig 86: Installing Bolt
    G03181550Courtesy of FORD MOTOR CO.
  115. Connect the fuel charging wiring harness retainers and the electrical connectors.
    Fig 87: Connecting Fuel Charging Wiring Harness Retainers And Electrical Connectors
    G03181551Courtesy of FORD MOTOR CO.
  116. Connect the fuel charging wiring harness retainers and the electrical connectors.
    Fig 88: Connecting Fuel Charging Wiring Harness Retainers And Electrical Connectors
    G03181552Courtesy of FORD MOTOR CO.
  117. Install the throttle body adapter and bolts.
    Fig 89: Installing Throttle Body Adapter And Bolts
    G03181553Courtesy of FORD MOTOR CO.
  118. Connect the coolant hose.
    Fig 90: Connecting Coolant Hose (1 Of 2)
    G03181554Courtesy of FORD MOTOR CO.
  119. Connect the coolant hoses.
    Fig 91: Connecting Coolant Hose (2 Of 2)
    G03181555Courtesy of FORD MOTOR CO.
  120. Connect the KS electrical connector and the wiring harness pin-type retainer.
    Fig 92: Connecting KS Electrical Connector And Wiring Harness Pin-Type Retainer
    G03181556Courtesy of FORD MOTOR CO.
  121. Connect the cylinder head temperature (CHT) sensor electrical connector.
    Fig 93: Connecting Cylinder Head Temperature (CHT) Sensor Electrical Connector
    G03181557Courtesy of FORD MOTOR CO.
  122. Connect the EGR system module and fuel pressure sensor electrical connectors.
    Fig 94: Connecting EGR System Module And Fuel Pressure Sensor Electrical Connectors
    G03181558Courtesy of FORD MOTOR CO.
  123. Position the vacuum harness on the engine and connect the EGR system module and fuel pressure sensor vacuum fittings.
    Fig 95: Installing Fuel Pressure Sensor Vacuum Fittings
    G03181559Courtesy of FORD MOTOR CO.
  124. Install the positive crankcase ventilation (PCV) tube and connect the vacuum tube to the throttle body adapter.
    Fig 96: Installing Positive Crankcase Ventilation (PCV) Tube
    G03181560Courtesy of FORD MOTOR CO.
  125. Connect the throttle position (TP) sensor and the electronic throttle body electrical connectors.
    Fig 97: Connecting Throttle Position (TP) Sensor
    G03181561Courtesy of FORD MOTOR CO.
  126. Install the brake booster vacuum hose and bolt.
    Fig 98: Installing Brake Booster Vacuum Hose And Bolt
    G03181562Courtesy of FORD MOTOR CO.
  127. Install the EGR tube to the exhaust manifold and to the EGR system module.
    Fig 99: Installing EGR Tube To Exhaust Manifold
    G03181563Courtesy of FORD MOTOR CO.
  128. CAUTION: Do not rotate the coolant pump housing once the coolant pump has been positioned in the cylinder block. Damage to the O-ring seal will occur.
    Fig 100: Installing Coolant Pump Into Engine Block
    G03181564Courtesy of FORD MOTOR CO.
  129. Install the water pump.
    1. Lubricate the new O-ring seal using engine coolant and install the O-ring seal onto the coolant pump.
    2. Position the coolant pump into the engine block.
    3. Install the bolts.
  130. Position the coolant pump pulley on the coolant pump and install the bolts.
    Fig 101: Installing Coolant Pump Pulley On Coolant Pump
    G03181565Courtesy of FORD MOTOR CO.
  131. Install the crankshaft position (CKP) sensor and the bolts.
    Fig 102: Installing Crankshaft Position (CKP) Sensor And Bolts
    G03181566Courtesy of FORD MOTOR CO.
  132. Install the drive belt tensioner and the bolts.
    Fig 103: Installing Drive Belt Tensioner
    G03181567Courtesy of FORD MOTOR CO.
  133. Install the camshaft position (CMP) sensor and connect the electrical connector.
    Fig 104: Installing Camshaft Position (CMP) Sensor And Connect Electrical Connector
    G03181568Courtesy of FORD MOTOR CO.
  134. Install the generator and the bolts.
    Fig 105: Installing Generator And Bolts
    G03181569Courtesy of FORD MOTOR CO.
  135. Install the upper generator bracket and the bolts.
    Fig 106: Installing Upper Generator Bracket And Bolts
    G03181570Courtesy of FORD MOTOR CO.
  136. Connect the electrical connectors and attach the wiring harness retainer.
    Fig 107: Connecting Electrical Connectors
    G03181571Courtesy of FORD MOTOR CO.
  137. Install the idler pulleys and the bolts.
    Fig 108: Installing Idler Pulleys
    G03181572Courtesy of FORD MOTOR CO.
  138. Install the upper radiator hose bracket and the radio interference capacitor.
    Fig 109: Installing Upper Radiator Hose Bracket
    G03181573Courtesy of FORD MOTOR CO.
  139. Install the A/C compressor and the nuts.
    Fig 110: Installing A/C Compressor And Nuts
    G03181574Courtesy of FORD MOTOR CO.
  140. Attach the wiring harness retainer to the A/C tube.
    Fig 111: Attaching Wiring Harness Retainer To A/C Tube
    G03181575Courtesy of FORD MOTOR CO.
  141. Position the electrical harness and connect the retainers.
    Fig 112: Positioning Electrical Harness
    G03181576Courtesy of FORD MOTOR CO.
  142. Install the crankcase air inlet tube.
    Fig 113: Installing Crankcase Air Inlet Tube
    G03181577Courtesy of FORD MOTOR CO.
  143. Connect the A/C compressor and CKP sensor electrical connectors.
    Fig 114: Connecting A/C Compressor And CKP Sensor Electrical Connectors
    G03181578Courtesy of FORD MOTOR CO.
  144. Install the power steering reservoir bracket, radio interference capacitor, ground cable and nut.
    Fig 115: Installing Power Steering Reservoir Bracket
    G03181579Courtesy of FORD MOTOR CO.
  145. Using the special tool, install a new seal on the power steering pressure (PSP) hose fitting.
    Fig 116: Installing Seal On Power Steering Pressure (PSP) Hose Fitting
    G03181580Courtesy of FORD MOTOR CO.
  146. Install the power steering pump and the bolts.
    Fig 117: Installing Power Steering Pump And Bolts
    G03181581Courtesy of FORD MOTOR CO.
  147. Connect the return and pressure hoses to the power steering pump.
    Fig 118: Connecting Power Steering Pump
    G03181582Courtesy of FORD MOTOR CO.
  148. Install the power steering hose support bracket and the nuts.
    Fig 119: Installing Power Steering Hose Support Bracket And Nuts
    G03181583Courtesy of FORD MOTOR CO.
  149. NOTE: Clean and inspect the mating surfaces, and install new gaskets.
    Fig 120: Connecting Oil Pressure Electrical Connector
    G03181584Courtesy of FORD MOTOR CO.
  150. Position the oil filter adapter, install the bolts and connect the oil pressure electrical connector.
  151. Install the oil filter.
  152. Install the wiring harness bracket and nuts.
    Fig 121: Installing Wiring Harness Bracket And Nuts
    G03181585Courtesy of FORD MOTOR CO.
  153. Install the drive belt.
  154. NOTE: RH is shown, LH is similar.
    Fig 122: Installing Engine Lift Brackets
    G03181586Courtesy of FORD MOTOR CO.
  155. Install the engine lift brackets.
  156. Attach the special tool to a floor crane and the engine, and remove the engine from the engine stand.
    Fig 123: Removing Engine From Engine Stand
    G03181587Courtesy of FORD MOTOR CO.
  157. Using the special tools, install the crankshaft rear seal.
    Fig 124: Installing Crankshaft Rear Seal
    G03181588Courtesy of FORD MOTOR CO.
  158. Using the special tools, install the crankshaft rear oil slinger.
    Fig 125: Installing Crankshaft Rear Oil Slinger
    G03181589Courtesy of FORD MOTOR CO.
  159. Install the spacer plate.
    Fig 126: Installing Spacer Plate
    G03181590Courtesy of FORD MOTOR CO.
  160. Position the flexplate and install the bolts in two stages:
    • Stage 1: Loosely install the bolts.
    • Stage 2: Tighten the bolts in sequence shown.
    Fig 127: Installing Flexplate
    G03181591Courtesy of FORD MOTOR CO.