LEMON Manuals: Even more car manuals for everyone: 1960-2025
Home >> Ford >> 2000 >> Excursion 2WD V10-6.8L VIN S >> Repair and Diagnosis >> Cruise Control >> Cruise Control Servo Cable >> Service and Repair
April 5, 2026: LEMON Manuals is launched! Read the announcement.

Cruise Control Servo Cable: Service and Repair

REMOVAL
1. Remove the air cleaner outlet tube. For additional information, refer to Fuel Delivery and Air Induction.







2. Remove the accelerator control splash shield.
1 Release the tab.
2 Remove the splash shield.







3. Disconnect the speed control actuator cable.
1 Disconnect the speed control actuator cable from the throttle body cam and position aside.
2 Depress the retaining clips to remove the cable from the bracket.







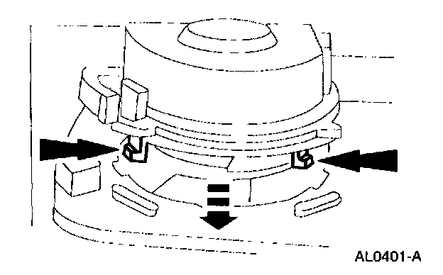
4. Remove the speed control actuator cable cap from the speed control servo.
^ Push in the locking arm on the speed control actuator cable cap then rotate the cap counterclockwise.







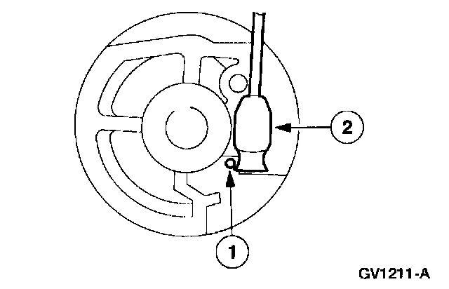
5. Disconnect the speed control core wire end from the speed control servo pulley.
1 Depress the spring retainer.
2 Slide the core wire end out of the speed control servo pulley.

INSTALLATION







1. Insert the speed control cable slug into the speed control servo pulley slot.
1 Gently compress the speed control servo spring.
2 Insert the speed control cable slug into the speed control servo pulley slot.







2. Release the compressed spring while aligning the speed control actuator cable cap tabs with the slots in the speed control servo housing.

CAUTION: Make sure the rubber seal is fully seated onto the speed control actuator cable cap.

NOTE: Incorrect wrapping of the speed control actuator cable around the speed control servo pulley may result in a high idle condition.







3. Rotate the speed control actuator cable cap until the locking arm engages.







4. Connect the speed control actuator cable to the throttle body cam.
1 Connect the speed control actuator cable to the throttle body cam by snapping it in place.
2 Position the speed control actuator cable in the bracket.







5. Install the accelerator control splash shield.