LEMON Manuals: Even more car manuals for everyone: 1960-2025
Home >> Ford >> 2000 >> Excursion 2WD V10-6.8L VIN S >> Repair and Diagnosis >> Heating and Air Conditioning >> Compressor HVAC >> Compressor Clutch >> Service and Repair
April 5, 2026: LEMON Manuals is launched! Read the announcement.

Compressor Clutch: Service and Repair

Clutch and Clutch Field Coil - 5.4L, 6.8L




SPECIAL SERVICE TOOL(S)

REMOVAL
1. Remove the A/C compressor; refer to Air Conditioning Compressor.






2. Remove the A/C clutch hub retaining bolt.
1 Hold the A/C clutch hub with the Compressor Clutch Holding Tool.
2 Remove the bolt.






3. Remove the A/C clutch and the A/C clutch hub spacer.
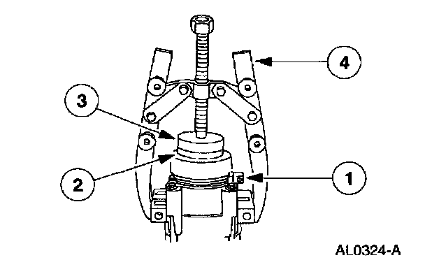
1 Thread an 8 x 1.25 mm bolt into the A/C clutch hub spacer to force it from the compressor shaft.
2 Lift the A/C clutch and the A/C clutch hub spacer from the compressor shaft.






4.Remove the pulley snap ring.






5. Remove the A/C clutch pulley.






6. Remove the A/C clutch field coil.
1 Note the location of the A/C clutch field coil electrical connector.
2 Install the Field Coil Remover on the nose opening of the A/C compressor.
3 Install the Differential Bearing Core Remover.
4 Remove the A/C clutch field coil.

CAUTION: Do not use air tools. The A/C clutch field coil can be easily damaged.

INSTALLATION
1. Clean the A/C clutch field coil and the pulley bearing mounting surfaces.






2. Install the A/C clutch field coil.
1 Place the A/C clutch field coil on the A/C compressor with the A/C clutch field coil electrical connector properly positioned.
2 Place the Field Coil Replacer on the A/C clutch field coil.
3 Place the Coil Replacer on the Field Coil Replacer.
4 Use the 2-Jaw Puller to install the A/C clutch field coil until bottomed completely against the A/C compressor.

CAUTION: Do not use air tools. The A/C clutch field coil can be easily damaged.






3. Install the A/C clutch pulley.

NOTE: The A/C clutch pulley is a tight fit on the A/C compressor head; it must be properly aligned during installation






4. Install the pulley snap ring with the bevel side out.






5. Place one nominal thickness A/C clutch hub spacer inside the clutch hub spline opening.






6. Install the A/C clutch.






7. Install the A/C clutch hub retaining bolt.
1 Hold the A/C clutch hub with the Compressor Clutch Holding Tool.
2 Tighten the bolt.





Compressor Clutch Components:






8. Measure and adjust the clutch air gap by removing or adding the A/C clutch hub spacer.
9. Install the A/C compressor; refer to Air Conditioning Compressor.