LEMON Manuals: Even more car manuals for everyone: 1960-2025
Home >> Ford >> 2000 >> Excursion 6.8 S, RWD >> Repair and Diagnosis (Single Page) >> Transmission >> Automatic Trans >> Shift Interlock System >> System Tests >> LINCOLN LS >> Electrical Components
April 5, 2026: LEMON Manuals is launched! Read the announcement.

Electrical Components

Verify customer complaint. Visually inspect the following electrical components of the shift lock system:

NOTE: Some Lincoln LS models are equipped with an Interactive Vehicle Dynamics (IVD) system. IVD is an Anti-lock Brake System (ABS) incorporating Traction Control (TC) and stability assist. See appropriate wiring diagram to diagnose electrical circuits and identify fuses and circuit numbers. See WIRING DIAGRAMS .

  1. Check Front Electronic Module (FEM) DTCs

    Ensure ignition switch is turned to OFF position and gearshift lever is in "P" position. Connect scan tool to DLC. Turn ignition switch to ON position. Retrieve FEM DTCs. If any DTCs for Brake Pedal Position (BPP) switch are present, see EXTERIOR LIGHTS article in ACCESSORIES & EQUIPMENT. If no DTCs for BPP switch are present, go to next step.
  2. Check VPWR Circuit (Yellow/Violet Wire) For Voltage

    Turn ignition switch to OFF position. Disconnect brake shift interlock actuator 2-pin harness connector C322 (located behind dash panel, near steering column). See Fig 1. Turn ignition switch to ON position. Apply brake pedal and hold. Measure voltage between chassis ground and brake shift interlock actuator harness connector C322 terminal No. 2 (Yellow/Violet wire). If voltage is more than 10 volts, go to step  5. If voltage is 10 volts or less, go to next step.
    Fig 1: Identifying Brake Shift Interlock Harness Connector Terminals
    G00023440Courtesy of FORD MOTOR CO.
  3. Check VPWR Circuit (Yellow/Violet Wire) For Short To Ground

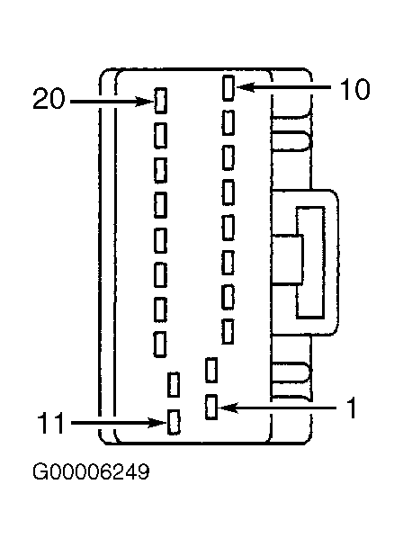
    Turn ignition switch to OFF position. Disconnect FEM 20-pin harness connector C201F. See Fig 2. Measure resistance between chassis ground and brake shift interlock actuator harness connector C322 terminal No. 2 (Yellow/Violet wire). If resistance is more than 10 k/ohms, go to next step. If resistance is 10 k/ohms or less, repair short to ground in Yellow/Violet wire. See WIRING DIAGRAMS . Retest system.
    Fig 2: Identifying FEM Harness Connector Terminals
    G00006249Courtesy of FORD MOTOR CO.
  4. Check VPWR Circuit (Yellow/Violet Wire) For Open

    Measure resistance between brake shift interlock actuator harness connector C322 terminal No. 2 (Yellow/Violet wire) and FEM 20-pin harness connector C201F terminal No. 15 (Yellow/Violet wire). If resistance is less than 5 ohms, replace FEM. Retest system. If resistance is 5 ohms or more, repair open in Yellow/Violet wire. See WIRING DIAGRAMS . Retest system.
  5. Check Ground Circuit (Black Wire) For Open

    Measure resistance between chassis ground and brake shift interlock actuator 2-pin harness connector C322 terminal No. 1 (Black wire). See Fig 1. If resistance is less than 5 ohms, replace brake shift interlock actuator. Retest system. If resistance is 5 ohms or more, repair open in Black wire. See WIRING DIAGRAMS . Retest system.