LEMON Manuals: Even more car manuals for everyone: 1960-2025
Home >> Ford >> 2000 >> Excursion 7.3 F, RWD >> Repair and Diagnosis >> External Pages >> Different car >> Section 1642 (Engine System - General Information) >> General Procedures >> Valve Inspection
April 5, 2026: LEMON Manuals is launched! Read the announcement.

Valve Inspection

WARNING: This page is about a different car, the 2011 Mercury Milan, 2011 Lincoln MKZ, and 2011 Ford Fusion. However, it is still accessible from the selected car via links, so may be relevant.
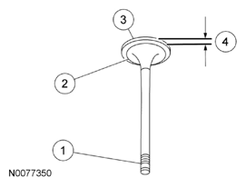
  1. Inspect the following valve areas:
    1. The end of the stem for grooves or scoring.
    2. The valve face and the edge for pits, grooves or scores.
    3. The valve head for signs of burning, erosion, warpage and cracking.
    4. The valve margin for wear.
      Fig 1: Identifying Valve Inspection Areas
      G07780472Courtesy of FORD MOTOR CO.