LEMON Manuals: Even more car manuals for everyone: 1960-2025
Home >> Ford >> 2000 >> Excursion 7.3 F, RWD >> Repair and Diagnosis >> External Pages >> Different car >> Section 39 (Electrical Component Locator) >> Control Units
April 5, 2026: LEMON Manuals is launched! Read the announcement.

Control Units

WARNING: This page is about a different car, the 2005 Lincoln LS. However, it is still accessible from the selected car via links, so may be relevant.
CONTROL UNITS LOCATION

Component Location
ABS Control Module Right front side of engine compartment. See Figure .
Audio/Navigation Control Unit Behind center of dash. See Figure .
Audio Unit Behind center of dash. See Figure .
Climate Controlled Seat Module (Driver Side) Under driver's seat. See Figure .
Climate Controlled Seat Module (Passenger Side) Under right front seat. See Figure .
Driver Air Bag Unit At center of steering wheel. See Figure .
Driver Door Module In driver's door. See Figure .
Driver Seat Module Under driver's seat. See Figure .
EGR System Module (3.9L) At upper right front of engine. See Figure .
Electrochromatic Inside Mirror Unit In center of roof panel. See Figure .
Electronic Automatic Temperature Control (EATC) Module Behind center of dash. See Figure .
Electronic Hidden Antenna Module (EHAM) On rear center of roof. See Figure .
Electronic Park Brake Module At left side of luggage compartment. See Figure .
Electronic Throttle Control (ETC) Module Behind left side of dash. See Figure .
Front Electronic Module (FEM) On left kick panel. See Figure .
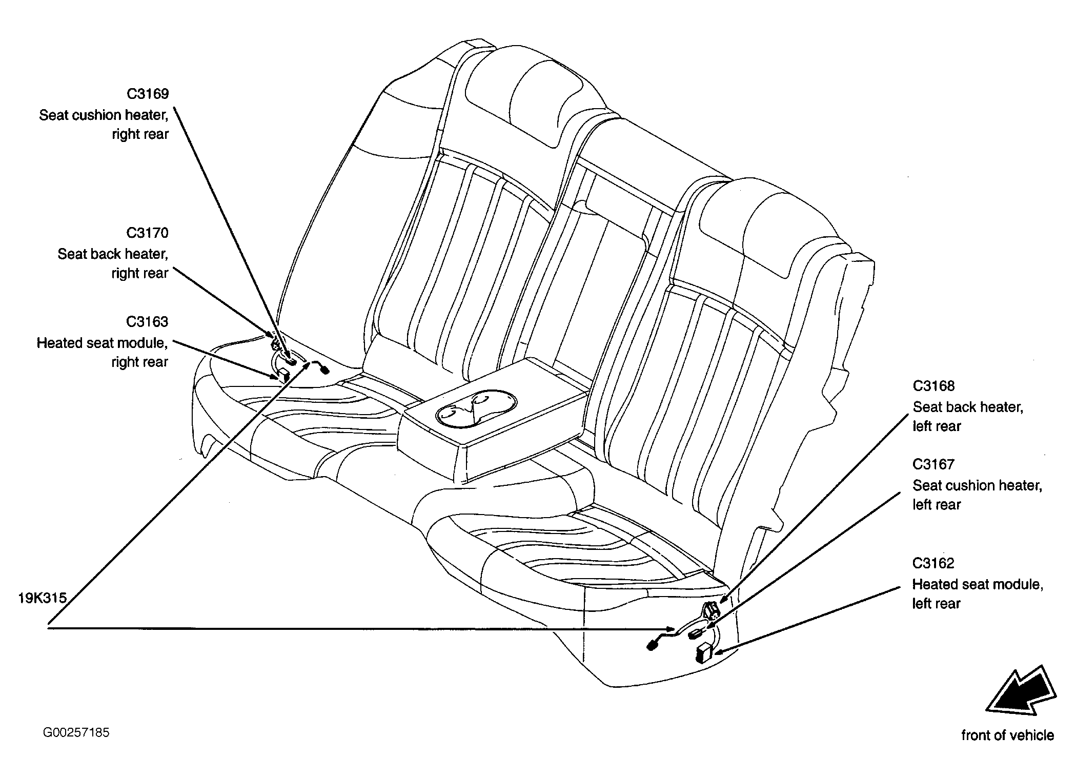
Heated Seat Module (Left Rear) In left rear seat. See Figure .
Heated Seat Module (Right Rear) In right rear seat. See Figure .
Heater Blower Control Module Behind right center of dash. See Figure .
Instrument Panel Dimming Module Behind left side of dash. See Figure .
Navigation Module On package tray. See Figure .
Parking Aid Module (PAM) On left rear of package tray. See Figure .
Passenger Air Bag Module At lower right side of dash. See Figure .
Passive Anti-Theft Transceiver Module Behind center of dash. See Figure .
Powertrain Control Module (PCM) Right rear of engine compartment. See Figure .
Rain Sensor Module In roof panel. See Figure .
Rear Electronic Module (REM) In right side of luggage compartment. See Figure .
Restraints Control Module On center floor pan. See Figure .
Side Air Bag Module (Left) On driver's seat backrest. See Figure .
Side Air Bag Module (Right) On right front seat backrest. See Figure .
Side Air Curtain Module (Driver) On left "A" pillar. See Figure .
Side Air Curtain Module (Passenger) On right "A" pillar. See Figure .
Side Thorax Air Bag Module (Driver) On driver's seat backrest. See Figure .
Side Thorax Air Bag Module (Passenger) On right front seat backrest. See Figure .