LEMON Manuals: Even more car manuals for everyone: 1960-2025
Home >> Ford >> 2000 >> Expedition 2WD V8-4.6L SOHC VIN 6 >> Repair and Diagnosis >> Powertrain Management >> Computers and Control Systems >> Transmission Position Sensor/Switch >> Service and Repair
April 5, 2026: LEMON Manuals is launched! Read the announcement.

Transmission Position Sensor/Switch: Service and Repair

Special Tools:






1. Disconnect the battery ground cable.
2. Raise the vehicle on a hoist.





3. Disconnect the digital TR electrical connector.





4. CAUTION: Do not pry on the swivel tube to disconnect the transmission shift linkage.

Disconnect the manual lever shift control cable.





5. CAUTION: Discard outer manual control lever shaft nut. Do not reuse. The old nut will not retain torque specification.

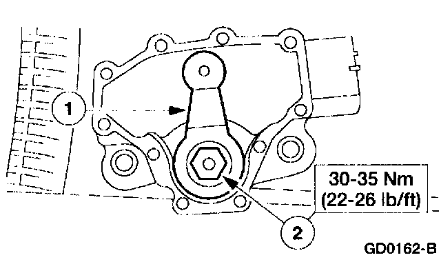
Remove the manual control lever.
1 Remove the nut.
2 Remove the lever.





6. Loosen the digital TR bolts.





7. Note: Manual shift lever must be in the neutral Position.

Use digital Transmission Range (TR) Sensor Alignment Tool, to align the digital TR sensor slots. The tool is designed to fit snug.





8. Tighten the bolts.





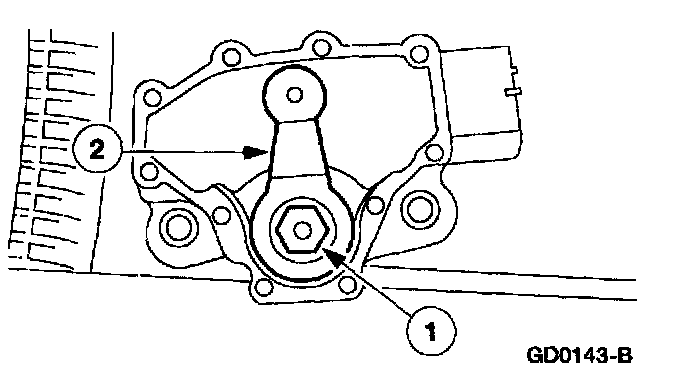
9. Install the manual control lever.
1 Position the manual control lever.
2 Install a new manual lever shaft outer nut.





10. With the manual lever in overdrive connect the shift lever control cable.





11. Install the digital TR sensor electrical connector.
12. Lower the vehicle.
13. Connect the battery ground cable.