LEMON Manuals: Even more car manuals for everyone: 1960-2025
Home >> Ford >> 2000 >> Explorer 2WD V6-4.0L VIN E >> Repair and Diagnosis >> Powertrain Management >> Computers and Control Systems >> Camshaft Position Sensor >> Service and Repair
April 5, 2026: LEMON Manuals is launched! Read the announcement.

Camshaft Position Sensor: Service and Repair

REMOVAL
1. Disconnect the battery ground cable. For additional information, refer to Battery.







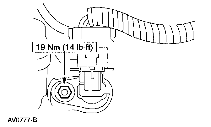
2. Remove the Camshaft Position (CMP) sensor.
1 Disconnect the CMP sensor electrical connector.
2 Remove the CMP sensor stud bolt.
3 Remove the camshaft position sensor.

INSTALLATION







1. To install, reverse the removal procedure.