LEMON Manuals: Even more car manuals for everyone: 1960-2025
Home >> Ford >> 2000 >> Mustang V6-3.8L VIN 4 >> Repair and Diagnosis >> Cruise Control >> Cruise Control Servo >> Service and Repair
April 5, 2026: LEMON Manuals is launched! Read the announcement.

Cruise Control Servo: Service and Repair

REMOVAL
1. Disconnect the battery ground cable.

CAUTION: Electronic modules are sensitive to static electrical charges. If exposed to these charges, damage may result.

2. Remove the LH wheel and tire; refer to Wheels, Tires, and Alignment.







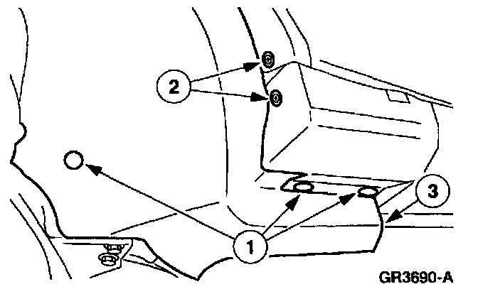
3. Position aside the LR front splash shield.
1 Remove the pin-type retainers.
2 Remove the screws.
3 Position aside the LH front splash shield.







4. Disconnect the speed control servo electrical connector.







5. Depress the locking tab and rotate the speed control actuator cable cap to remove.
6. Disconnect the speed control cable from the throttle nailhead.







7. Disconnect the speed control actuator cable from the speed control servo pulley.
1 Gently push in the retaining spring.
2 Disconnect the speed control cable slug from the speed control servo pulley.







8. Remove the speed control servo.
1 Remove the bolts.
2 Remove the speed control servo.

INSTALLATION







1. To install, reverse the removal procedure.

NOTE: When the battery is disconnected and reconnected, some abnormal drive symptoms may occur while the vehicle relearns its adaptive strategy. The vehicle may need to be driven 16 km (10 ml) or more to relearn the strategy.