LEMON Manuals: Even more car manuals for everyone: 1960-2025
Home >> Ford >> 2000 >> Taurus SEL >> Repair and Diagnosis >> External Pages >> Different car >> Section 1675 (Engine System - General Information) >> General Procedures >> Piston Pin Diameter
April 5, 2026: LEMON Manuals is launched! Read the announcement.

Piston Pin Diameter

WARNING: This page is about a different car, the 2011 Mercury Milan, 2011 Lincoln MKZ, and 2011 Ford Fusion. However, it is still accessible from the selected car via links, so may be relevant.
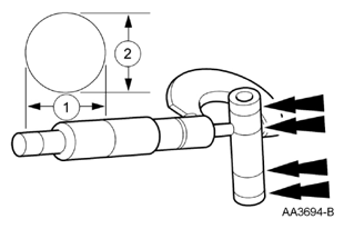
  1. Measure the piston pin diameter in 2 directions at the points shown in the illustration. Verify the diameter is within specification.
    Fig 1: Measuring Piston Pin Diameter Using Micrometer
    G07780458Courtesy of FORD MOTOR CO.