LEMON Manuals: Even more car manuals for everyone: 1960-2025
Home >> Ford >> 2000 >> Taurus V6-3.0L VIN 2 Flex Fuel >> Repair and Diagnosis >> Powertrain Management >> Computers and Control Systems >> Relays and Modules - Computers and Control Systems >> Engine Control Module >> Service and Repair
April 5, 2026: LEMON Manuals is launched! Read the announcement.

Engine Control Module: Service and Repair

REMOVAL
1. Disconnect the battery ground cable. For additional information, refer to Battery.







2. Remove the Powertrain Control Module (PCM) electrical connector.







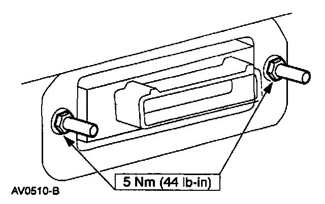
3. Remove the PCM.
^ Remove the nuts.
^ Remove the cover and the PCM.

INSTALLATION
1. To install, reverse the removal procedure.