LEMON Manuals: Even more car manuals for everyone: 1960-2025
Home >> Ford >> 2000 >> Taurus V6-3.0L VIN U >> Repair and Diagnosis >> Power and Ground Distribution >> Fuse Block >> Locations >> Central Junction Box
April 5, 2026: LEMON Manuals is launched! Read the announcement.

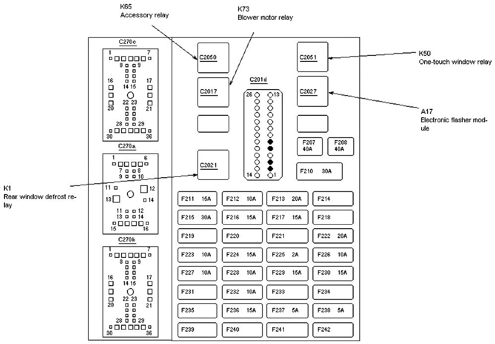
Central Junction Box





ALLDATA Editor's Note: Ford identifies this one component by 2 different names. Users have reported success comparing these images to determine Application/ID or Location of Fuses and Relays with in the Central Junction Box/Passenger Compartment Fuse Panel.
Horn Relay is not removealble. See Fuse F230 (15A).

Central Junction Box/Passenger Compartment Fuse Panel:





Central Junction Box/Passenger Compartment Fuse Panel:





Central Junction Box/Passenger Compartment Fuse Panel Legend:





Central Junction Box/Passenger Compartment Fuse Panel Legend:





Central Junction Box/Passenger Compartment Fuse Panel Legend:






Note:
The fuse panel is located below and to the left of the steering wheel by the brake pedal. Remove the panel cover to access the fuses.