LEMON Manuals: Even more car manuals for everyone: 1960-2025
Home >> Ford >> 2000 >> Windstar V6-3.8L VIN 4 >> Repair and Diagnosis >> Accessories and Optional Equipment >> General Module >> Service and Repair >> Front Electronic Module (FEM)
April 5, 2026: LEMON Manuals is launched! Read the announcement.

Front Electronic Module (FEM)

REMOVAL
1. Disconnect the battery ground cable.

CAUTION:
^ Electronic modules are sensitive to electrical charges. If exposed to these charges, damages may result.
^ Prior to removal of module, it is necessary to upload module configuration information to a scan tool. This information needs to be downloaded into the new module once installed. For additional information, refer to Module Communications Network (Information Bus).







2. Remove the instrument panel lower steering column opening cover.
1 Remove the bolts.
2 Remove the cover.







3. Remove the instrument panel opening cover reinforcement.
1 Remove the bolts.
2 Remove the reinforcement.







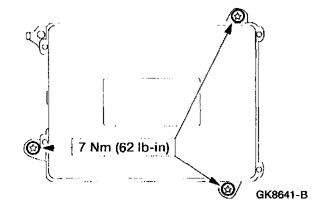
4. Remove the Front Electronic Module (FEM).
1 Disconnect the five electrical connectors.
2 Remove the three bolts.
3 Remove the FEM.

INSTALLATION

















1. To install, reverse the removal procedure.

CAUTION: Once the new module is installed, it is necessary to download the module configuration information from the scan tool into the new module. For additional information, refer to Module Communications Network (Information Bus).

NOTE: When the battery is disconnected and reconnected, some abnormal drive symptoms may occur while the vehicle relearns its adaptive strategy. The vehicle may need to be driven 1O miles (16 km) or more to learn the strategy.