LEMON Manuals: Even more car manuals for everyone: 1960-2025
Home >> Ford >> 2000 >> ZX2 Automatic >> Repair and Diagnosis >> External Pages >> Different car >> Section 1218 (Supplemental Inflatable Restraint System) >> Removal And Installation >> Front Impact Severity Sensor >> Notes
April 5, 2026: LEMON Manuals is launched! Read the announcement.

Front Impact Severity Sensor: Notes

WARNING: This page is about a different car, the 2008 Ford RV Cutaway, 2008 Ford Econoline, 2008 Ford E450 Super Duty, and 2008 Ford Cutaway. However, it is still accessible from the selected car via links, so may be relevant.
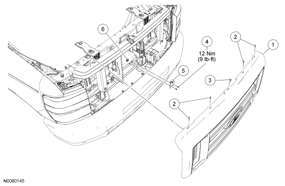
Fig 1: Exploded View Of Front Impact Severity Sensor With Torque Specification
GF0044536Courtesy of FORD MOTOR CO.
Item Part Number Description
1 8200 Radiator grille
2 W713331 Radiator grille scrivets (4 required)
3 - Radiator grille screw
4 W707935 Front impact severity sensor bolt (2 required)
5 14B006 Front impact severity sensor
6 - Front impact severity sensor electrical connector (part of 14290)