LEMON Manuals: Even more car manuals for everyone: 1960-2025
Home >> Ford >> 2000 >> ZX2 Automatic >> Repair and Diagnosis >> External Pages >> Different car >> Section 1623 (Engine System - General Information) >> General Procedures >> Flexplate Inspection
April 5, 2026: LEMON Manuals is launched! Read the announcement.

Flexplate Inspection

WARNING: This page is about a different car, the 2011 Mercury Milan, 2011 Lincoln MKZ, and 2011 Ford Fusion. However, it is still accessible from the selected car via links, so may be relevant.
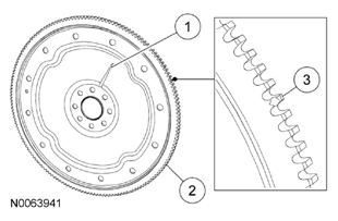
  1. Inspect the flexplate for:
    1. any cracks.
    2. worn ring gear teeth.
    3. chipped or cracked ring gear teeth.
      Fig 1: Identifying Flexplate Inspection Points
      G07780486Courtesy of FORD MOTOR CO.