LEMON Manuals: Even more car manuals for everyone: 1960-2025
Home >> Ford >> 2000 >> ZX2 Automatic >> Repair and Diagnosis >> External Pages >> Different car >> Section 25 (Electrical Component Locator) >> Component Location Graphics
April 5, 2026: LEMON Manuals is launched! Read the announcement.

Component Location Graphics

WARNING: This page is about a different car, the 2005 Lincoln LS. However, it is still accessible from the selected car via links, so may be relevant.
NOTE: Figures may show multiple component locations. Refer to appropriate table for proper figure references.
Fig 1: Left Front Of Engine Compartment
G00360159Courtesy of FORD MOTOR CO.
Fig 2: Right Front Of Engine Compartment
G00257129Courtesy of FORD MOTOR CO.
Fig 3: Left Front Fender
G00257130Courtesy of FORD MOTOR CO.
Fig 4: Right Front Fender
G00257131Courtesy of FORD MOTOR CO.
Fig 5: Right Front Fender
G00257132Courtesy of FORD MOTOR CO.
Fig 6: Left Radiator Support
G00257133Courtesy of FORD MOTOR CO.
Fig 7: Right Radiator Support
G00257134Courtesy of FORD MOTOR CO.
Fig 8: Right Side Of Radiator
G00257135Courtesy of FORD MOTOR CO.
Fig 9: Left Shock Tower
G00257136Courtesy of FORD MOTOR CO.
Fig 10: Right Shock Tower
G00257137Courtesy of FORD MOTOR CO.
Fig 11: Right Side Of Engine
G00257138Courtesy of FORD MOTOR CO.
Fig 12: Lower Right Side Of Engine
G00257139Courtesy of FORD MOTOR CO.
Fig 13: Left Side Of Engine (3.0L)
G00257140Courtesy of FORD MOTOR CO.
Fig 14: Left Side Of Engine (3.9L)
G00257141Courtesy of FORD MOTOR CO.
Fig 15: Front View Of Engine (3.0L)
G00360167Courtesy of FORD MOTOR CO.
Fig 16: Rear View Of Engine (3.0L)
G00360160Courtesy of FORD MOTOR CO.
Fig 17: Front View Of Engine (3.9L)
G00360161Courtesy of FORD MOTOR CO.
Fig 18: Rear View Of Engine (3.9L)
G00257145Courtesy of FORD MOTOR CO.
Fig 19: Left Side Of Transmission
G00257146Courtesy of FORD MOTOR CO.
Fig 20: Rear View Of Dash
G00360162Courtesy of FORD MOTOR CO.
Fig 21: Rear View Of Dash
G00360163Courtesy of FORD MOTOR CO.
Fig 22: Steering Column
G00257149Courtesy of FORD MOTOR CO.
Fig 23: Left Kick Panel
G00257150Courtesy of FORD MOTOR CO.
Fig 24: Lower Left Side Of Dash
G00257151Courtesy of FORD MOTOR CO.
Fig 25: Lower Left Side Of Dash
G00257152Courtesy of FORD MOTOR CO.
Fig 26: Right Kick Panel
G00257153Courtesy of FORD MOTOR CO.
Fig 27: Left Kick Panel
G00257154Courtesy of FORD MOTOR CO.
Fig 28: Right Kick Panel
G00257155Courtesy of FORD MOTOR CO.
Fig 29: Right Kick Panel
G00257156Courtesy of FORD MOTOR CO.
Fig 30: Right Kick Panel
G00257157Courtesy of FORD MOTOR CO.
Fig 31: Right "A" Pillar (Left Side Similar)
G00257158Courtesy of FORD MOTOR CO.
Fig 32: Lower Right Side Of Dash
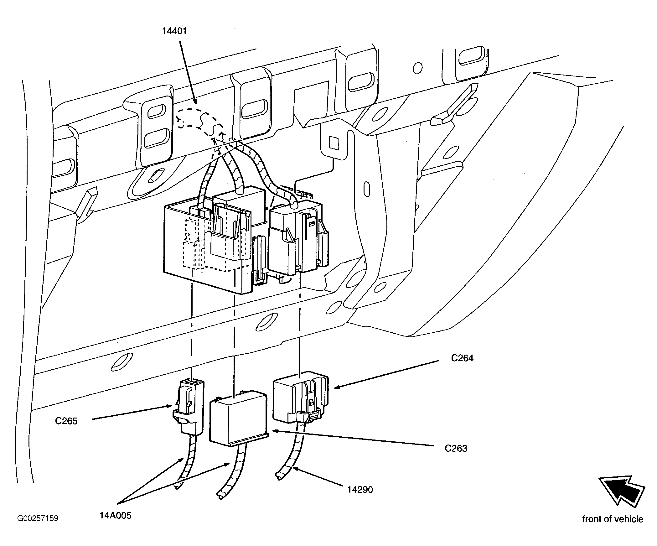
G00257159Courtesy of FORD MOTOR CO.
Fig 33: Upper Right Side Of Dash
G00360164Courtesy of FORD MOTOR CO.
Fig 34: Left Front Seat
G00257161Courtesy of FORD MOTOR CO.
Fig 35: Right Front Seat
G00360165Courtesy of FORD MOTOR CO.
Fig 36: Center Console
G00257163Courtesy of FORD MOTOR CO.
Fig 37: Center Of Floor Pan
G00257164Courtesy of FORD MOTOR CO.
Fig 38: Left Front Side Of Floor
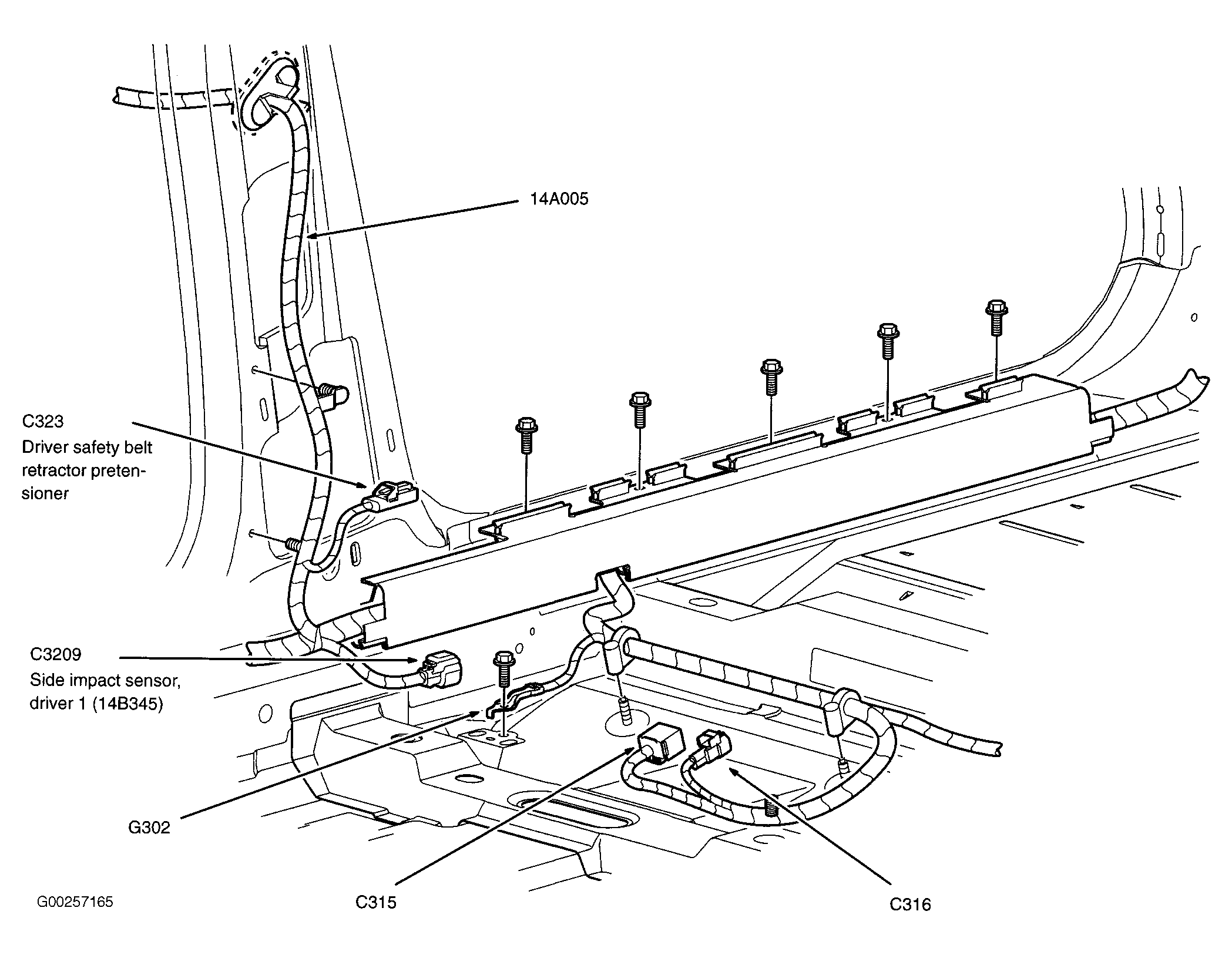
G00257165Courtesy of FORD MOTOR CO.
Fig 39: Left Rear Of Floor
G00257166Courtesy of FORD MOTOR CO.
Fig 40: Right Front Side Of Floor
G00257167Courtesy of FORD MOTOR CO.
Fig 41: Right Rear Of Floor
G00257168Courtesy of FORD MOTOR CO.
Fig 42: Left Front Door
G00257169Courtesy of FORD MOTOR CO.
Fig 43: Right Front Door
G00257170Courtesy of FORD MOTOR CO.
Fig 44: Right Rear Door (Left Side Similar)
G00257171Courtesy of FORD MOTOR CO.
Fig 45: Package Tray
G00257172Courtesy of FORD MOTOR CO.
Fig 46: Right Side Of Package Tray
G00257173Courtesy of FORD MOTOR CO.
Fig 47: Left Side Of Package Tray
G00257174Courtesy of FORD MOTOR CO.
Fig 48: Center Rear Of Roof
G00257175Courtesy of FORD MOTOR CO.
Fig 49: Roof
G00360166Courtesy of FORD MOTOR CO.
Fig 50: Below Rear Seats
G00257177Courtesy of FORD MOTOR CO.
Fig 51: Left Side Of Luggage Compartment
G00257178Courtesy of FORD MOTOR CO.
Fig 52: Left Rear Side Of Luggage Compartment
G00257179Courtesy of FORD MOTOR CO.
Fig 53: Right Side Of Luggage Compartment
G00257180Courtesy of FORD MOTOR CO.
Fig 54: Right Rear Side Of Luggage Compartment
G00257181Courtesy of FORD MOTOR CO.
Fig 55: Right Rear Of Luggage Compartment
G00257182Courtesy of FORD MOTOR CO.
Fig 56: Right Rear Of Luggage Compartment
G00257183Courtesy of FORD MOTOR CO.
Fig 57: Decklid
G00257184Courtesy of FORD MOTOR CO.
Fig 58: Rear Seats
G00257185Courtesy of FORD MOTOR CO.
Fig 59: Battery Junction Box (BJB)
G00262516Courtesy of FORD MOTOR CO.
Fig 60: Auxiliary Junction Box (AJB) (Underhood)
G00262520Courtesy of FORD MOTOR CO.