LEMON Manuals: Even more car manuals for everyone: 1960-2025
Home >> Ford >> 2000 >> ZX2 Standard >> Repair and Diagnosis >> External Pages >> Different car >> Section 1355 (Engine - 3.9) >> Disassembly >> Engine
April 5, 2026: LEMON Manuals is launched! Read the announcement.

Section 1355 (Engine - 3.9): Disassembly: Engine

WARNING: This page is about a different car, the 2005 Lincoln LS. However, it is still accessible from the selected car via links, so may be relevant.
ENGINE DISASSEMBLY SPECIAL TOOLS

G03996315
Remover/Installer, Crankshaft Rear Oil Seal 303-647
G03996702
Adapter for 204-185 204-208 (T95T-5310-AR2)
G03889585
Strap Wrench 303-D055
G03886657
Remover, Crankshaft Vibration Damper 303-009 (T58P-6316-D)
G03898751
Remover, Oil Seal 303-409 (T92C-6700-CH)
G03996387
Aligner, Camshaft 303-530
ENGINE DISASSEMBLY MATERIAL SPECIFICATION

Item Specification
Silicone Gasket Remover ZC-30 -
Motorcraft Metal Surface Prep ZC-31 -
NOTE: For additional information, refer to the exploded views under the engine assembly procedure in this article .
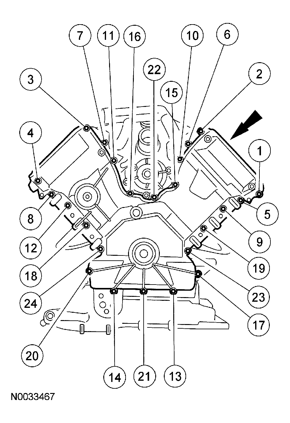
  1. Remove the bolts in the sequence shown.
    • Remove the flexplate.
    Fig 1: Removing Flexplate Bolts In Sequence
    G03996314Courtesy of FORD MOTOR CO.
  2. Using the special tools, remove the rear main seal.
    • Discard the seal.
    Fig 2: Removing Rear Main Seal
    G03996317Courtesy of FORD MOTOR CO.
  3. Install the engine on a suitable engine stand.
  4. Remove the engine block plug to drain the engine coolant.
  5. Remove the 3 bolts, the stud bolt and the RH engine mount bracket.
    Fig 3: Removing RH Engine Mount Bracket Bolts
    G03996594Courtesy of FORD MOTOR CO.
  6. Remove the 3 bolts, the stud bolt and the LH engine mount bracket.
    Fig 4: Removing LH Engine Mount Bracket Bolts
    G03996595Courtesy of FORD MOTOR CO.
  7. Disconnect the oil pressure and oil temperature sensor electrical connectors.
    Fig 5: Locating Oil Pressure And Oil Temperature Sensor Electrical Connectors
    G03996596Courtesy of FORD MOTOR CO.
  8. Remove and discard the oil filter.
  9. CAUTION: A new oil cooler must be installed or severe damage to the engine can occur.
    Fig 6: Removing Bolt And Oil Cooler
    G03996597Courtesy of FORD MOTOR CO.
  10. Remove the bolt and oil cooler.
    • Discard the oil cooler and gasket.
  11. Remove the 3 bolts and the oil filter adapter.
    • Discard the O-ring seals.
    Fig 7: Locating Oil Filter Adapter Mounting Bolts
    G03996598Courtesy of FORD MOTOR CO.
  12. Remove the bolt and the accessory drive belt tensioner.
    Fig 8: Locating Bolt And Accessory Drive Belt Tensioner
    G03996433Courtesy of FORD MOTOR CO.
  13. Remove the 3 bolts and the coolant pump pulley.
    Fig 9: Removing Bolts Coolant Pump Pulley
    G03996435Courtesy of FORD MOTOR CO.
  14. Disconnect the throttle position (TP) sensor electrical connector.
    Fig 10: Identifying Throttle Position (TP) Sensor Electrical Connector
    G03996442Courtesy of FORD MOTOR CO.
  15. Disconnect the fuel pressure sensor electrical connector.
    Fig 11: Locating Fuel Pressure Sensor Electrical Connector
    G03996443Courtesy of FORD MOTOR CO.
  16. Disconnect the electronic throttle body electrical connector.
    Fig 12: Locating Electronic Throttle Body Electrical Connector
    G03996444Courtesy of FORD MOTOR CO.
  17. Disconnect the evaporative emissions (EVAP) tube.
    Fig 13: Locating Evaporative Emissions Tube
    G03996445Courtesy of FORD MOTOR CO.
  18. Disconnect the fuel rail temperature sensor electrical connector.
    Fig 14: Locating Fuel Rail Temperature Sensor Electrical Connector
    G03996446Courtesy of FORD MOTOR CO.
  19. Disconnect the exhaust gas recirculation (EGR) system module electrical connector.
    Fig 15: Disconnecting Exhaust Gas Recirculation System Module Electrical Connector
    G03996447Courtesy of FORD MOTOR CO.
  20. Disconnect the coolant vent hose from the coolant outlet.
    • Remove the coolant vent hose.
    Fig 16: Identifying Coolant Vent Hose To Coolant Outlet
    G03996448Courtesy of FORD MOTOR CO.
  21. Remove the vacuum harness.
    Fig 17: Identifying Vacuum Harness
    G03996449Courtesy of FORD MOTOR CO.
  22. NOTE: LH shown, RH similar.
  23. Remove the LH and RH ignition coil covers.
  24. Remove all silicone sealer and residue from the ignition coil covers.
    Fig 18: Removing All Silicone Sealer And Residue
    G03996439Courtesy of FORD MOTOR CO.
  25. Remove all silicone sealer and residue from the valve cover surface and ignition coil wiring harness.
    Fig 19: Removing All Silicone Sealer And Residue
    G03996440Courtesy of FORD MOTOR CO.
  26. Disconnect the 8 ignition coil electrical connectors.
    Fig 20: Identifying Ignition Coil Electrical Connectors
    G03996441Courtesy of FORD MOTOR CO.
  27. NOTE: LH shown, RH similar.
    Fig 21: Identifying Engine Wiring Harness
    G03996450Courtesy of FORD MOTOR CO.
  28. Disconnect the engine wiring harness retainers from the engine appearance cover support brackets.
  29. Detach the vacuum hose retainers from the LH engine appearance cover support bracket.
    Fig 22: Locating Vacuum Hose Retainers
    G03996451Courtesy of FORD MOTOR CO.
  30. NOTE: RH shown, LH similar.
    Fig 23: Identifying Engine Appearance Cover Brackets And Nuts
    G03996452Courtesy of FORD MOTOR CO.
  31. Remove the 4 nuts and the 2 engine appearance cover brackets.
  32. NOTE: LH shown, RH similar.
    Fig 24: Locating Fuel Injector And Radio Interference Capacitor Electrical Connectors
    G03996269Courtesy of FORD MOTOR CO.
  33. Disconnect the 8 fuel injector and the 2 radio interference capacitor electrical connectors.
  34. Disconnect the knock sensor (KS) and camshaft position (CMP) senor electrical connectors.
    • Detach the pin-type retainers.
    Fig 25: Locating KS And CMP Sensor Electrical Connectors
    G03996454Courtesy of FORD MOTOR CO.
  35. NOTE: RH shown, LH similar.
    Fig 26: Locating VCT Sensor Electrical Connectors
    G03996455Courtesy of FORD MOTOR CO.
  36. Disconnect the 2 variable cam timing (VCT) sensor electrical connectors.
  37. Remove the 5 bolts and the power steering bracket.
    Fig 27: Identifying Power Steering Bracket And Bolts
    G03996456Courtesy of FORD MOTOR CO.
  38. Disconnect the wiring harness retainers from the LH valve cover.
    Fig 28: Locating Wiring Harness Retainers At LH Valve Cover
    G03996457Courtesy of FORD MOTOR CO.
  39. Detach the wiring harness from the front cover.
    Fig 29: Locating Wiring Harness At Front Cover
    G03996458Courtesy of FORD MOTOR CO.
  40. Disconnect the crankshaft position (CKP) sensor electrical connector and wiring harness retainers.
    Fig 30: Identifying CKP Sensor Electrical Connector And Wiring Harness
    G03996459Courtesy of FORD MOTOR CO.
  41. Disconnect the wiring harness retainers from the RH valve cover.
    Fig 31: Locating Wiring Harness Retainers At RH Valve Cover
    G03996622Courtesy of FORD MOTOR CO.
  42. Disconnect the generator electrical connector and wiring harness retainers.
    Fig 32: Identifying Generator Electrical Connector, Wiring Harness And Retainers
    G03996461Courtesy of FORD MOTOR CO.
  43. Remove the heated oxygen sensor (HO2S) electrical connectors from the brackets.
    Fig 33: Locating Heated Oxygen Sensor (HO2S) Electrical Connector Brackets
    G03996462Courtesy of FORD MOTOR CO.
  44. Remove the engine wiring harness from the engine.
  45. Remove the bolt and the CKP sensor.
    Fig 34: Identifying Bolt And CKP Sensor
    G03996486Courtesy of FORD MOTOR CO.
  46. Remove the nut and the oil level indicator tube.
    • Discard the O-ring seal.
    Fig 35: Locating Nut And Oil Level Indicator Tube
    G03996463Courtesy of FORD MOTOR CO.
  47. Remove the 8 bolts and ignition coils.
    Fig 36: Identifying Bolts And Ignition Coils
    G03996464Courtesy of FORD MOTOR CO.
  48. Remove the Crankcase vent tube.
    Fig 37: Identifying Crankcase Vent Tube
    G03996465Courtesy of FORD MOTOR CO.
  49. Remove the bolt, the 2 nuts and the generator.
    Fig 38: Removing Generator Bolts
    G03996629Courtesy of FORD MOTOR CO.
  50. Remove the 4 bolts and the generator bracket.
    Fig 39: Removing Bolts Generator Bracket
    G03996630Courtesy of FORD MOTOR CO.
  51. Remove the 2 bolts and the starter motor.
    Fig 40: Removing Bolts Starter Motor
    G03996631Courtesy of FORD MOTOR CO.
  52. Remove the 2 EGR system module bolts and loosen the EGR tube nut.
    • Remove the EGR system module.
    • Discard the gasket.
    Fig 41: Removing EGR System Module Bolts
    G03996632Courtesy of FORD MOTOR CO.
  53. NOTE: RH shown, LH similar.
    Fig 42: Identifying Radio Interference Ignition Capacitors Mounting Bracket And Nuts
    G03996467Courtesy of FORD MOTOR CO.
  54. Remove the 2 nuts and the 2 radio interference capacitors.
  55. Remove the 4 bolts and the fuel rail with fuel injector assembly.
    Fig 43: Removing Bolts Fuel Rail With Fuel Injector Assembly
    G03996634Courtesy of FORD MOTOR CO.
  56. NOTE: Remove and discard the 16 O-ring seals from the fuel injectors.
    Fig 44: Removing Clips Fuel Injectors From Fuel Rail
    G03996635Courtesy of FORD MOTOR CO.
  57. Remove the clips and the 8 fuel injectors from the fuel rail.
  58. Disconnect the 2 throttle body coolant hoses.
    Fig 45: Locating Throttle Body Coolant Hoses
    G03996468Courtesy of FORD MOTOR CO.
  59. NOTE: The throttle body and adapter are shown removed for clarity. It is not necessary to remove the throttle body and adapter to remove the intake manifold.
    Fig 46: Identifying Intake Manifold Bolts Loosening/Tightening Sequence
    G03996271Courtesy of FORD MOTOR CO.
  60. Remove the 7 bolts and 3 studs in the sequence shown.
    • Remove the intake manifold.
    • Discard the gaskets.
  61. CAUTION: Do not use metal scrapers, wire brushes, power abrasive discs or other abrasive means to clean the sealing surfaces. These tools cause scratches and gouges, which make leak paths. Use a plastic scraping tool to clean the surfaces.
    Fig 47: Identifying Sealing Surfaces
    G03996472Courtesy of FORD MOTOR CO.
  62. Clean the sealing surfaces.
  63. Remove the 4 bolts and the coolant bypass housing.
    • Discard the O-ring seals.
    Fig 48: Removing Bolts Coolant Bypass Housing
    G03996469Courtesy of FORD MOTOR CO.
  64. Remove the 4 bolts and the coolant inlet housing.
    • Discard the O-ring seal.
    Fig 49: Removing Bolts Coolant Inlet Housing
    G03996640Courtesy of FORD MOTOR CO.
  65. Remove the throttle body coolant hose.
    Fig 50: Removing Throttle Body Coolant Hose
    G03996641Courtesy of FORD MOTOR CO.
  66. Remove the 5 bolts and the coolant pump.
    • Discard the gasket.
    Fig 51: Identifying Bolts And Coolant Pump
    G03996642Courtesy of FORD MOTOR CO.
  67. Remove the bolts in the sequence shown and remove the RH valve cover.
    • Discard the gasket.
    Fig 52: RH Valve Cover Bolt Removal Sequence
    G03996473Courtesy of FORD MOTOR CO.
  68. Remove the bolts in the sequence shown and remove the LH valve cover.
    • Discard the gasket.
    Fig 53: LH Valve Cover Bolt Removal Sequence
    G03996474Courtesy of FORD MOTOR CO.
  69. CAUTION: Do not use metal scrapers, wire brushes, power abrasive discs or other abrasive means to clean the sealing surfaces. These tools cause scratches and gouges, which make leak paths. Use a plastic scraping tool to clean the surfaces.
    Fig 54: Removing Gaskets And All Silicone Sealer
    G03996475Courtesy of FORD MOTOR CO.
  70. Remove the gaskets and all silicone sealer. Clean the mating surfaces with silicone gasket remover.
  71. Remove the 2 nuts and the EGR tube.
    • Discard the gasket.
    Fig 55: Locating Nuts And EGR Tube
    G03996476Courtesy of FORD MOTOR CO.
  72. NOTE: LH shown, RH similar.
    Fig 56: Identifying Bolts And Exhaust Manifold Heat Shield
    G03996480Courtesy of FORD MOTOR CO.
  73. Remove the 8 bolts and the 2 exhaust manifold heat shields.
  74. NOTE: LH shown, RH similar.
    Fig 57: Removing Nuts And Exhaust Manifolds
    G03996481Courtesy of FORD MOTOR CO.
  75. Remove the nuts and exhaust manifolds.
    • Discard the nuts.
  76. NOTE: LH shown, RH similar.
    Fig 58: Locating LH Exhaust Manifold Heat Shield Stud Bolt
    G03996482Courtesy of FORD MOTOR CO.
  77. Remove the 2 exhaust manifold heat shield stud bolts.
    • Discard the 2 exhaust manifold gaskets.
  78. Remove the 16 exhaust manifold studs and discard.
  79. Clean and inspect the exhaust manifolds. For additional information, refer to ENGINE SYSTEM-GENERAL INFORMATION .
  80. NOTE: Hold the crankshaft pulley with the special tool while removing the bolt and washer.
    Fig 59: Identifying Special Tool To Hold Pulley
    G03996436Courtesy of FORD MOTOR CO.
  81. Remove and discard the bolt and washer.
  82. Using the special tool, remove the crankshaft damper.
    Fig 60: Removing Crankshaft Damper
    G03996437Courtesy of FORD MOTOR CO.
  83. Using the special tool, remove and discard the front crankshaft seal.
    Fig 61: Removing Front Crankshaft Seal
    G03996310Courtesy of FORD MOTOR CO.
  84. Remove the engine front cover bolts in the sequence shown.
    • Remove the engine front cover.
    • Discard the gaskets.
    Fig 62: Removing Engine Front Cover
    G03996483Courtesy of FORD MOTOR CO.
  85. CAUTION: Do not use metal scrapers, wire brushes, power abrasive discs or other abrasive means to clean the sealing surfaces. These tools cause scratches and gouges, which make leak paths. Use a plastic scraping tool to remove all traces of sealant.
    Fig 63: Cleaning Sealing Surfaces
    G03996328Courtesy of FORD MOTOR CO.
  86. Clean the sealing surfaces.
  87. Remove the 17 bolts and the oil pan.
    • Discard the gasket.
    Fig 64: Removing Bolts Oil Pan
    G03996655Courtesy of FORD MOTOR CO.
  88. CAUTION: Use only hand tools to remove the oil pump screen and tube.
    Fig 65: Removing Oil Pump Screen And Tube
    G03996656Courtesy of FORD MOTOR CO.
  89. Remove the oil pump screen and tube, and the seal.
  90. Remove the 4 bolts and the oil pump.
    Fig 66: Removing Oil Pump Bolts
    G03996657Courtesy of FORD MOTOR CO.
  91. CAUTION: Do not use metal scrapers, wire brushes, power abrasive discs or other abrasive means to clean the sealing surfaces. These tools cause scratches and gouges, which make leak paths. Use a plastic scraping tool to remove all traces of the sealant.
    Fig 67: Removing Sump Body Bolts In Sequence
    G03996658Courtesy of FORD MOTOR CO.
  92. Remove the bolts in the sequence shown and remove the sump body.
  93. Remove the RH and LH VCT bush carriers.
    Fig 68: Identifying RH And LH Variable Cam Timing Bush Carriers, Bolts & Nuts
    G03996382Courtesy of FORD MOTOR CO.
  94. Turn the crankshaft to 45 degrees ATDC. The crankshaft keyway will be in the 6 o'clock position.
  95. Make sure the flats of the camshaft are facing upward. If not, repeat the previous step.
    Fig 69: Checking Flats Of Camshaft Are Facing Upward
    G03996342Courtesy of FORD MOTOR CO.
  96. CAUTION: The flats on the camshaft must completely contact the special service tool or damage to the camshafts can occur. Slowly draw the special tool down evenly until it is fully seated on the camshaft flats.
    Fig 70: Identifying Special Tool On RH Cylinder Head
    G03996343Courtesy of FORD MOTOR CO.
  97. Install the special tool on the RH cylinder head.
  98. CAUTION: An open-end wrench must be used on the hex area of the camshaft or damage to the head will occur.
    Fig 71: Removing Exhaust Camshaft Sprocket Bolt
    G03996344Courtesy of FORD MOTOR CO.
  99. Remove and discard the exhaust camshaft sprocket bolt.
  100. CAUTION: An open-end wrench must be used on the hex area of the camshaft or damage to the head will occur.
    Fig 72: Removing VCT Unit Bolt
    G03996345Courtesy of FORD MOTOR CO.
  101. Remove and discard the VCT unit bolt.
  102. Remove the RH timing chain tensioner.
    1. Push the lever down and install a drill rod to lock the piston.
    2. Remove the bolts and the tensioner.
    Fig 73: Removing RH Timing Chain Tensioner
    G03996346Courtesy of FORD MOTOR CO.
  103. Remove the bolt and the RH tensioner arm.
    Fig 74: Identifying RH Timing Chain Tensioner Arm
    G03996347Courtesy of FORD MOTOR CO.
  104. Remove the bolt and the RH timing chain guide.
    Fig 75: Identifying Bolt And RH Timing Chain Guide
    G03996377Courtesy of FORD MOTOR CO.
  105. Remove the RH primary timing chain.
    Fig 76: Identifying RH Primary Timing Chain
    G03996349Courtesy of FORD MOTOR CO.
  106. Remove the special tool from the RH cylinder head.
    Fig 77: Identifying Special Tool On RH Cylinder Head
    G03996343Courtesy of FORD MOTOR CO.
  107. CAUTION: The flats on the camshaft must completely contact the special service tool or damage to the camshafts can occur. Slowly draw the special tool down evenly until it is fully seated on the camshaft flats.
    Fig 78: Identifying Special Tool On LH Cylinder Head
    G03996351Courtesy of FORD MOTOR CO.
  108. Install the special tool on the LH cylinder head.
  109. CAUTION: An open-end wrench must be used on the hex area of the camshaft or damage to the cylinder head will occur.
    Fig 79: Removing LH VCT Unit Bolt
    G03996352Courtesy of FORD MOTOR CO.
  110. Remove and discard the LH VCT unit bolt and the exhaust camshaft sprocket bolt.
  111. Remove the LH timing chain tensioner.
    1. Push the lever down and install a drill rod to lock the piston.
    2. Remove the 2 bolts and the tensioner.
    Fig 80: Removing LH Timing Chain Tensioner Bolts
    G03996353Courtesy of FORD MOTOR CO.
  112. Remove the nut and the LH tensioner arm.
    Fig 81: Identifying LH Timing Chain Tensioner Arm And Nut
    G03996354Courtesy of FORD MOTOR CO.
  113. Remove the bolt and the LH timing chain guide.
    Fig 82: Identifying LH Timing Chain Guide And Bolt
    G03996355Courtesy of FORD MOTOR CO.
  114. Remove the LH primary timing chain.
    Fig 83: Identifying LH Timing Chain And Crankshaft Gear
    G03996356Courtesy of FORD MOTOR CO.
  115. Remove the crankshaft sprocket.
  116. Collapse the LH secondary timing chain tensioner and install a pin to lock the piston.
    Fig 84: Locating Locking Pin For LH Secondary Timing Chain Tensioner
    G03996359Courtesy of FORD MOTOR CO.
  117. Remove the LH VCT unit, exhaust camshaft sprocket and timing chain as an assembly.
    Fig 85: Identifying LH VCT Unit, Exhaust Camshaft Sprocket And Timing Chain
    G03996360Courtesy of FORD MOTOR CO.
  118. Remove the 2 bolts and the LH secondary timing chain tensioner.
  119. Collapse the RH secondary timing chain tensioner and install a pin to lock the piston.
    Fig 86: Locating Locking Pin For RH Secondary Timing Chain Tensioner
    G03996357Courtesy of FORD MOTOR CO.
  120. Remove the RH VCT unit, exhaust camshaft sprocket and timing chain as an assembly.
    Fig 87: Identifying RH VCT Unit
    G03996358Courtesy of FORD MOTOR CO.
  121. Remove the 2 bolts and the RH secondary timing chain tensioner.
  122. Remove the special tool.
    Fig 88: Removing Special Tool
    G03996388Courtesy of FORD MOTOR CO.
  123. CAUTION: Record the camshaft bearing cap locations. The camshaft bearing caps are positional and must be installed in their original locations and orientation or engine damage can occur.
    Fig 89: Removing LH Camshaft Bearing Caps
    G03996508Courtesy of FORD MOTOR CO.
  124. Remove the LH camshaft bearing caps.
    • Remove the bolts.
    • Remove the LH camshaft bearing caps.
  125. Remove the LH camshafts.
    Fig 90: Positioning LH Camshafts On Camshaft Journals
    G03996392Courtesy of FORD MOTOR CO.
  126. CAUTION: Record the camshaft bearing cap locations. The camshaft bearing caps are positional and must be installed in their original locations and orientation or engine damage can occur.
    Fig 91: Locating RH Camshafts On Camshaft Journals
    G03996512Courtesy of FORD MOTOR CO.
  127. Remove the RH camshaft bearing caps.
    • Remove the bolts.
    • Remove the RH camshaft bearing caps.
  128. Remove the RH camshafts.
    Fig 92: Removing RH Camshafts
    G03996513Courtesy of FORD MOTOR CO.
  129. CAUTION: Do not use any means of marking the shims other than a permanent-type marker. Any scratches or paint on the shims can result in incorrect lash adjustments and severe engine damage.
    CAUTION: Record the shim and bucket tappet location. The shim and bucket tappet are positional and if installed in the incorrect location, engine damage can occur.
  130. Record the location of the valve tappets.
    • Remove the valve tappets.
  131. CAUTION: The cylinder head must be cool before removing it from the engine. Cylinder head warpage can result if a warm or hot cylinder head is removed.
    CAUTION: Place clean shop towels over exposed engine cavities. Carefully remove the towels so foreign material is not dropped into the engine.
    CAUTION: The cylinder head bolts must be discarded and new bolts installed. They are tighten-to-yield designed and cannot be reused.
    CAUTION: Aluminum surfaces are soft and can be scratched easily. Never place the cylinder head gasket surface, unprotected, on a bench surface.
    NOTE: RH shown, LH similar.
    Fig 93: Identifying RH Cylinder Head End Bolts
    G03996510Courtesy of FORD MOTOR CO.
  132. Remove the RH and LH cylinder head end bolts.
    • Discard the bolts.
  133. Remove and discard the bolts from both cylinder heads in the sequence shown.
    • Remove the cylinder heads.
    • Discard the gaskets.
    Fig 94: Removing Cylinder Heads
    G03996511Courtesy of FORD MOTOR CO.
  134. CAUTION: Do not use metal scrapers, wire brushes, power abrasive discs or other abrasive means to clean the sealing surfaces. These tools cause scratches and gouges, which make leak paths. Use a plastic scraping tool to remove all traces of sealant.
    CAUTION: Observe all warnings or cautions and follow all application directions contained on the packaging of the silicone gasket remover and the metal surface prep.
    NOTE: If there is no residual gasket material present, metal surface prep can be used to clean and prepare the surfaces.
  135. Clean the cylinder head-to-cylinder block mating surfaces of both the cylinder head and the cylinder block.
    1. Remove any large deposits of silicone or gasket material with a plastic scraper.
    2. Apply silicone gasket remover, following package directions, and allow to set for several minutes.
    3. Remove the silicone gasket remover with a plastic scraper. A second application of silicone gasket remover may be required if residual traces of silicone or gasket material remain.
    4. Apply metal surface prep, following package directions, to remove any remaining traces of oil or coolant, and to prepare the surfaces to bond with the new gasket. Do not attempt to make the metal shiny. Some staining of the metal surfaces is normal.
  136. NOTE: The straightedge used must be flat within 0.0051 mm (0.0002 in) per foot of tool length.
  137. Support the cylinder head on a bench with the head gasket side up. Inspect all areas of the deck face with a straightedge, paying particular attention to the oil pressure feed area. The cylinder head must not have depressions deeper than 0.0254 mm (0.001 in) across a 38.1 mm (1.5 in) square area, or scratches more than 0.0254 mm (0.001 in).
  138. Remove the bolts and the knock sensor.
Fig 95: Locating Knock Sensors
G03996686Courtesy of FORD MOTOR CO.