LEMON Manuals: Even more car manuals for everyone: 1960-2025
Home >> Ford >> 2000 >> ZX2 Standard >> Repair and Diagnosis >> External Pages >> Different car >> Section 1731 (Engine) >> Disassembly >> Engine
April 5, 2026: LEMON Manuals is launched! Read the announcement.

Section 1731 (Engine): Disassembly: Engine

WARNING: This page is about a different car, the 2006 Mercury Montego, 2006 Ford Freestyle, and 2006 Ford Five Hundred. However, it is still accessible from the selected car via links, so may be relevant.
SPECIAL TOOL(S)

G04655822Courtesy of FORD MOTOR CO.
Slide Hammer 307-005 (T59L-100-B)
G04655823Courtesy of FORD MOTOR CO.
Remover, Crankshaft Rear Oil Seal 303-519 (T95P-6701-EH)
G04655824Courtesy of FORD MOTOR CO.
Strap Wrench 303-D055 (D85L-6000-A)
G04655825Courtesy of FORD MOTOR CO.
Remover, Oil Seal 303-409 (T92C-6700CH)
G04655826Courtesy of FORD MOTOR CO.
3-Jaw Puller 303-D121
MATERIAL

Item Specification
Silicone Gasket Remover ZC-30 -
Motorcraft Metal Surface Prep ZC-31 -
CAUTION: During engine repair procedures, cleanliness is extremely important. Any foreign material, including any material created while cleaning gasket surfaces, that enters the oil passages, coolant passages or the oil pan, can cause engine failure.
NOTE: For additional information, refer to the exploded view under Engine Assembly.

    All vehicles 

  1. Remove the 8 bolts and the flexplate.
    Fig 1: Locating Flexplate Bolts
    G04655827Courtesy of FORD MOTOR CO.
  2. Using the special tools, remove and discard the crankshaft rear oil seal.
    Fig 2: Identifying Special Tools (307-005 And 303-519)
    G03898286Courtesy of FORD MOTOR CO.
  3. Mount the engine on a suitable stand.
  4. Freestyle only 

  5. Remove the 3 retainers and the A/C compressor pulley shield.
    Fig 3: Locating A/C Compressor Pulley Shield Retainers
    G04655829Courtesy of FORD MOTOR CO.
  6. All vehicles 

  7. Rotate the tensioner counterclockwise and remove the accessory drive belt.
    Fig 4: Locating Accessory Drive Belt
    G04655830Courtesy of FORD MOTOR CO.
  8. Disconnect the A/C compressor electrical connector.
    Fig 5: Locating A/C Compressor Electrical Connector
    G04655831Courtesy of FORD MOTOR CO.
  9. Disconnect the LH catalyst monitor sensor electrical connector and detach the wiring retainer.
    Fig 6: Locating Catalyst Monitor Sensor Electrical Connector
    G04655832Courtesy of FORD MOTOR CO.
  10. Freestyle only 

  11. Remove the 2 nuts, the bolt and the A/C compressor shield.
    Fig 7: Locating A/C Compressor Shield Nuts & Bolts
    G04655833Courtesy of FORD MOTOR CO.
  12. Remove the bolt and the A/C compressor.
    Fig 8: Locating A/C Compressor Bolts
    G04655834Courtesy of FORD MOTOR CO.
  13. All vehicles 

  14. Remove the 2 bolts, 2 nuts and the A/C compressor.
    Fig 9: Locating A/C Compressor Nuts & Bolts
    G04655835Courtesy of FORD MOTOR CO.
  15. Remove the 5 bolts and the A/C compressor bracket.
    Fig 10: Locating A/C Compressor Bracket Bolts
    G04655836Courtesy of FORD MOTOR CO.
  16. Disconnect the LH heated oxygen sensor (HO2S) electrical connector and detach the wiring retainer.
    Fig 11: Locating Heated Oxygen Sensor (HO2S) Electrical Connector
    G04655837Courtesy of FORD MOTOR CO.
  17. Disconnect the oil pressure sensor electrical connector.
    Fig 12: Locating Oil Pressure Sensor Electrical Connector
    G04655838Courtesy of FORD MOTOR CO.
  18. Remove the 2 nuts, disconnect the camshaft position sensor (CMP) and detach the retainers.
    Fig 13: Locating Retainers & Nuts
    G04655839Courtesy of FORD MOTOR CO.
  19. Loosen the fittings and remove the exhaust gas recirculation (EGR) system module tube.
    Fig 14: Locating Exhaust Gas Recirculation (EGR) System Module Tube
    G04655840Courtesy of FORD MOTOR CO.
  20. Disconnect the EGR system module electrical connector.
    Fig 15: Locating EGR System Module Electrical Connector
    G04655841Courtesy of FORD MOTOR CO.
  21. Disconnect the throttle body electrical connector.
    Fig 16: Locating Throttle Body Electrical Connector
    G04655842Courtesy of FORD MOTOR CO.
  22. Disconnect and remove the positive crankcase ventilation (PCV) tube.
    Fig 17: Locating Positive Crankcase Ventilation (PCV) Tube
    G04655843Courtesy of FORD MOTOR CO.
  23. Disconnect the fuel rail pressure and temperature sensor vacuum tube and electrical connector.
    Fig 18: Locating Temperature Sensor Vacuum Tube
    G04655844Courtesy of FORD MOTOR CO.
  24. Disconnect the fuel charging wiring harness electrical connector.
    Fig 19: Locating Fuel Charging Wiring Harness Electrical Connector
    G04655845Courtesy of FORD MOTOR CO.
  25. Disconnect the RH HO2S and detach the retainer.
    Fig 20: Locating RH HO2S & Retainer
    G04655846Courtesy of FORD MOTOR CO.
  26. Remove the bolt and detach the power steering tube bracket.
    Fig 21: Locating Power Steering Tube Bracket Bolt (1 Of 2)
    G04655847Courtesy of FORD MOTOR CO.
  27. Remove the bolt and detach the power steering tube bracket.
    Fig 22: Locating Power Steering Tube Bracket Bolt (2 Of 2)
    G04655848Courtesy of FORD MOTOR CO.
  28. Remove the 2 nuts and detach the power steering fluid reservoir.
    Fig 23: Locating Power Steering Fluid Reservoir Nuts
    G04655849Courtesy of FORD MOTOR CO.
  29. Remove the power steering fluid reservoir bracket nut.
    Fig 24: Locating Power Steering Fluid Reservoir Bracket Nut
    G04655850Courtesy of FORD MOTOR CO.
  30. Remove the 3 nuts and the power steering pump, reservoir and tubes.
    Fig 25: Locating Power Steering Pump Nuts
    G04655851Courtesy of FORD MOTOR CO.
  31. Remove the 8 bolts and the upper and lower intake manifold.
    • Remove and discard the gaskets.
    Fig 26: Locating Upper & Lower Intake Manifold Bolts
    G04655852Courtesy of FORD MOTOR CO.
  32. Remove the nut and position the wiring conduit aside.
    Fig 27: Locating Wiring Conduit Nut
    G04655853Courtesy of FORD MOTOR CO.
  33. Disconnect the RH ignition coil electrical connectors and detach the wiring retainers.
    Fig 28: Locating Ignition Coil Electrical Connectors & Wiring Retainers
    G04655854Courtesy of FORD MOTOR CO.
  34. Remove the nut and disconnect the generator wiring.
    • Detach the wiring retainer.
    Fig 29: Locating Generator Wiring Nut
    G04655855Courtesy of FORD MOTOR CO.
  35. Remove the nut and detach the ground wire.
    Fig 30: Locating Ground Wire Nut
    G04655856Courtesy of FORD MOTOR CO.
  36. Disconnect the crankshaft position sensor (CKP) electrical connector and detach the wiring retainer.
    Fig 31: Locating Crankshaft Position Sensor (CKP) Electrical Connector & Wiring Retainers
    G04655857Courtesy of FORD MOTOR CO.
  37. Disconnect the LH ignition coil electrical connectors and detach the wiring retainers.
    Fig 32: Locating Ignition Coil Electrical Connectors & Wiring Retainers
    G04655858Courtesy of FORD MOTOR CO.
  38. Disconnect the engine coolant temperature (ECT) sensor and the radio interference capacitor electrical connectors.
    Fig 33: Locating Engine Coolant Temperature (ECT) Sensor
    G04655859Courtesy of FORD MOTOR CO.
  39. Disconnect the bypass and the coolant pump hoses.
    Fig 34: Locating Coolant Pump Hoses Clamp
    G04655860Courtesy of FORD MOTOR CO.
  40. Remove the engine wiring harness.
  41. Remove the stud bolt and the oil level indicator tube.
    • Remove and discard the O-ring seal.
    Fig 35: Locating Stud Bolt & Oil Level Indicator Tube
    G04655861Courtesy of FORD MOTOR CO.
  42. Remove and discard the oil filter.
    Fig 36: Locating Oil Filter
    G04655862Courtesy of FORD MOTOR CO.
  43. Remove the 4 bolts and the oil filter adapter.
    • Remove and discard the O-ring seal from the M22 bolt.
    Fig 37: Locating Oil Filter Adapter Bolts
    G04655863Courtesy of FORD MOTOR CO.
  44. Remove the 2 nuts, bolt and the generator.
    Fig 38: Locating Generator, Nuts & Bolts
    G04655864Courtesy of FORD MOTOR CO.
  45. Remove the 4 bolts and the RH engine insulator bracket.
    Fig 39: Locating Engine Insulator Bracket Bolts
    G04655865Courtesy of FORD MOTOR CO.
  46. Remove and discard the 6 RH exhaust manifold nuts.
    Fig 40: Locating Exhaust Manifold Nuts
    G04655866Courtesy of FORD MOTOR CO.
  47. Remove the RH exhaust manifold.
    • Remove and discard the gasket.
  48. Remove and discard the 6 RH exhaust manifold studs.
    Fig 41: Locating Exhaust Manifold Studs
    G03898429Courtesy of FORD MOTOR CO.
  49. Remove and discard the 6 LH exhaust manifold nuts.
    Fig 42: Locating Exhaust Manifold Nuts
    G04655868Courtesy of FORD MOTOR CO.
  50. Remove the LH exhaust manifold.
    • Remove and discard the gasket.
  51. Remove and discard the 6 LH exhaust manifold studs.
    Fig 43: Locating Exhaust Manifold Studs
    G03898429Courtesy of FORD MOTOR CO.
  52. Remove the 6 bolts and the RH and LH ignition coils.
    Fig 44: Locating RH & LH Ignition Coils
    G04655870Courtesy of FORD MOTOR CO.
  53. Remove the 6 bolts, 8 stud bolts and the LH valve cover.
    • Remove and discard the gasket.
    Fig 45: Locating LH Valve Cover Bolt
    G04655871Courtesy of FORD MOTOR CO.
  54. Remove the 9 bolts, 5 stud bolts and the RH valve cover.
    • Remove and discard the gasket.
    Fig 46: Locating RH Valve Cover Bolt
    G04655872Courtesy of FORD MOTOR CO.
  55. Remove the 2 bolts and the thermostat housing.
    • Remove and discard the O-ring seal.
    Fig 47: Locating Thermostat Housing Bolts
    G04655873Courtesy of FORD MOTOR CO.
  56. Remove the 4 bolts and the coolant pump.
    Fig 48: Locating Coolant Pump Bolts
    G04655874Courtesy of FORD MOTOR CO.
  57. Remove the 2 bolts and the coolant bypass tube.
    Fig 49: Locating Coolant Bypass Tube Bolts
    G04655875Courtesy of FORD MOTOR CO.
  58. Remove the bolt and the radio interference capacitor.
    Fig 50: Locating Radio Interference Capacitor Bolt
    G04655876Courtesy of FORD MOTOR CO.
  59. Remove the 15 bolts and the oil pan.
    • Remove and discard the gasket.
    Fig 51: Locating Oil Pan Bolts
    G04655877Courtesy of FORD MOTOR CO.
  60. Remove the 2 bolts and the oil pump screen and pickup tube.
    • Remove and discard the O-ring seal.
    Fig 52: Locating Engine Insulator Bracket Bolts
    G04655878Courtesy of FORD MOTOR CO.
  61. Remove the 8 nuts and the oil pan baffle.
    Fig 53: Locating Oil Pan Baffle Nuts
    G04655879Courtesy of FORD MOTOR CO.
  62. Remove the oil pressure sender.
    Fig 54: Locating Oil Pressure Sender
    G04655880Courtesy of FORD MOTOR CO.
  63. If equipped, remove the block heater.
    Fig 55: Locating Block Heater
    G04655881Courtesy of FORD MOTOR CO.
  64. Use the special tool to hold the crankshaft damper and remove the bolt.
  65. Fig 56: Identifying Special Tool & Crankshaft Damper Bolt
    G04655882Courtesy of FORD MOTOR CO.
  66. Using the special tool, remove the crankshaft damper.
    Fig 57: Identifying Special Tool (1 Of 2)
    G04655883Courtesy of FORD MOTOR CO.
  67. Using the special tool, remove and discard the crankshaft front seal from the engine front cover.
    Fig 58: Identifying Special Tool (2 Of 2)
    G04655884Courtesy of FORD MOTOR CO.
  68. Remove the bolt and the belt tensioner.
    Fig 59: Locating Belt Tensioner Bolt
    G04655885Courtesy of FORD MOTOR CO.
  69. CAUTION: Do not use metal scrapers, wire brushes, power abrasive discs or other abrasive means to clean the sealing surface. These tools cause scratches and gouges, which make leak paths. Use a plastic scraping tool to remove all traces of sealant.
    Fig 60: Locating Front Cover Bolts & Stud Bolt
    G04655886Courtesy of FORD MOTOR CO.
  70. Remove the stud bolt, 14 bolts and the front cover.
    • Remove and discard the gaskets.
  71. CAUTION: This pulse wheel is used in several different engines. Install the pulse wheel with the keyway in the slot stamped "30" or "30 RFF" only (orange in color).
    Fig 61: Identifying Ignition Pulse Wheel
    G03898322Courtesy of FORD MOTOR CO.
  72. Remove the ignition pulse wheel.
  73. Install the damper bolt.
    Fig 62: Identifying Damper Bolt
    G03898296Courtesy of FORD MOTOR CO.
  74. CAUTION: Only use hand tools when removing or installing the spark plugs, damage can occur to the cylinder head or spark plug.
    NOTE: LH shown, RH similar.
    Fig 63: Locating Spark Plug
    G04655889Courtesy of FORD MOTOR CO.
  75. Remove the LH and RH spark plugs.
  76. Rotate the crankshaft clockwise to position the crankshaft key way in the 11 o'clock position and position the camshafts in the correct position. This will position the number 1 cylinder at top dead center (TDC).
    • Verify that the camshafts are correctly located. If not, rotate the crankshaft 1 additional turn and recheck.
    Fig 64: Identifying Crankshaft Keyway In 11 O'Clock Position
    G03898298Courtesy of FORD MOTOR CO.
  77. Rotate the crankshaft clockwise 120 degrees to the 3 o'clock position to locate the RH camshafts in the neutral position.
    Fig 65: Identifying Crankshaft Keyway
    G03898299Courtesy of FORD MOTOR CO.
  78. Verify that the RH camshafts are in the neutral position.
    Fig 66: Locating Camshafts Align Marks
    G03898496Courtesy of FORD MOTOR CO.
  79. Remove the RH timing chain tensioner arm.
    1. Remove the 2 bolts.
    2. Remove the tensioner.
    3. Remove the tensioner arm.
    Fig 67: Identifying Tensioner Arm & Tensioner
    G04655893Courtesy of FORD MOTOR CO.
  80. Remove the 2 bolts, RH timing chain guide and the timing chain.
    Fig 68: Locating Timing Chain Guide & Bolts
    G03898302Courtesy of FORD MOTOR CO.
  81. Rotate the crankcase clockwise 600 degrees (1-2/3 turns) to position the crankcase keyway in the 11 o'clock position. This will position the LH camshafts in the neutral position.
    Fig 69: Positioning Crankcase Key Way In 11 O'Clock Position
    G03898303Courtesy of FORD MOTOR CO.
  82. Verify the LH camshafts are in the neutral position.
    Fig 70: Locating Camshafts Aligning Marks
    G03955709Courtesy of FORD MOTOR CO.
  83. Remove the LH timing chain and tensioner arm.
    1. Remove the 2 bolts.
    2. Remove the tensioner.
    3. Remove the tensioner arm.
    Fig 71: Identifying Tensioner Arm & Tensioner
    G04655897Courtesy of FORD MOTOR CO.
  84. Remove the LH timing chain and timing chain guide.
    Fig 72: Locating Timing Chain & Timing Chain Guide
    G03898306Courtesy of FORD MOTOR CO.
  85. Remove the damper bolt and the crankshaft sprockets.
    Fig 73: Locating Damper Bolt & Crankshaft Sprockets
    G03898307Courtesy of FORD MOTOR CO.
  86. Remove the 3 bolts and camshaft oil seal retainer.
    • Remove and discard the press-in-place gasket.
    Fig 74: Locating Camshaft Oil Seal Retainer Bolts
    G04655900Courtesy of FORD MOTOR CO.
  87. Using a suitable press, remove the camshaft oil seal.
    Fig 75: Locating Special Tool
    G04655901Courtesy of FORD MOTOR CO.
  88. CAUTION: Cylinder head camshaft bearing caps are numbered to verify that they are assembled in their original positions. If the numbers cannot be seen, mark the camshaft bearing caps prior to removing them.
    NOTE:
    1. RH shown, LH similar.
    2. The camshaft caps have alignment dowels.
    Fig 76: Identifying Camshaft Cap Bolts Loosening Sequence
    G04655902Courtesy of FORD MOTOR CO.
  89. Loosen the LH and RH camshaft cap bolts in the indicated sequence and remove the camshaft caps.
    • Tap the caps lightly with a soft-faced mallet to loosen the camshaft caps.
  90. Remove the LH and RH camshafts.
  91. CAUTION: The camshaft roller followers must be installed in their original positions.
    NOTE: RH shown, LH similar.
    Fig 77: Locating Camshaft Roller Followers
    G03898508Courtesy of FORD MOTOR CO.
  92. Remove the LH and RH camshaft roller followers.
    • Mark the location of the roller followers using a permanent-type marker.
  93. NOTE: RH shown, LH similar.
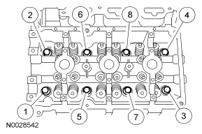
    Fig 78: Identifying Cylinder Heads Bolts Loosening Sequence
    G04655904Courtesy of FORD MOTOR CO.
  94. Loosen the bolts in the indicated sequence and remove the LH and RH cylinder heads.
    • Remove and discard the gaskets and the bolts.
  95. CAUTION: Do not use metal scrapers, wire brushes, power abrasive discs or other abrasive means to clean the sealing surfaces. These tools cause scratches and gouges that make leak paths. Use a plastic scraping tool to remove all traces of the head gasket.
    CAUTION: Observe all warnings or cautions and follow all application directions contained on the packaging of the silicone gasket remover and the metal surface prep.
    NOTE: If there is no residual gasket material present, metal surface prep can be used to clean and prepare the surfaces.
  96. Clean the cylinder head-to-cylinder block mating surface of both the cylinder head and the cylinder block.
    1. Remove any large deposits of silicone or gasket material with a plastic scraper.
    2. Apply silicone gasket remover, following package directions, and allow to set for several minutes.
    3. Remove the silicone gasket remover with a plastic scraper. A second application of silicone gasket remover may be required if residual traces of silicone or gasket material remain.
    4. Apply metal surface prep, following package directions, to remove any traces of oil or coolant, and to prepare the surfaces to bond with the new gasket. Do not attempt to make the metal shiny. Some staining of the metal surfaces is normal.
  97. Support the cylinder head on a bench with the head gasket side up.
  98. NOTE: The straightedge used must be flat within 0.0051 mm (0.0002 in) per foot of tool length.
  99. Inspect all areas of the deck face with a straightedge and feeler gauge. The cylinder head must not have depressions deeper than 0.0254 mm (0.001 in) across a 38.1 mm (1.5 in) square area, or scratches more than 0.0254 mm (0.001 in).
  100. Remove the 3 bolts and the power steering pump bracket.
    Fig 79: Locating Power Steering Pump Bracket Bolts
    G04655905Courtesy of FORD MOTOR CO.
  101. Remove the 2 bolts and the oil separator cover.
    • Remove and discard the gasket.
    Fig 80: Locating Oil Separator Cover Bolts
    G03898510Courtesy of FORD MOTOR CO.
  102. Remove the crankshaft key.
Fig 81: Locating Crankshaft Key
G03898511Courtesy of FORD MOTOR CO.