LEMON Manuals: Even more car manuals for everyone: 1960-2025
Home >> Ford >> 2000 >> ZX2 Standard >> Repair and Diagnosis >> External Pages >> Different car >> Section 469 (Brake System - General Information) >> Diagnosis And Testing >> Brake System >> Connector Reference and Terminal Readings >> Front Electronic Module (FEM) C201e
April 5, 2026: LEMON Manuals is launched! Read the announcement.

Front Electronic Module (FEM) C201e

WARNING: This page is about a different car, the 2004 Lincoln LS. However, it is still accessible from the selected car via links, so may be relevant.
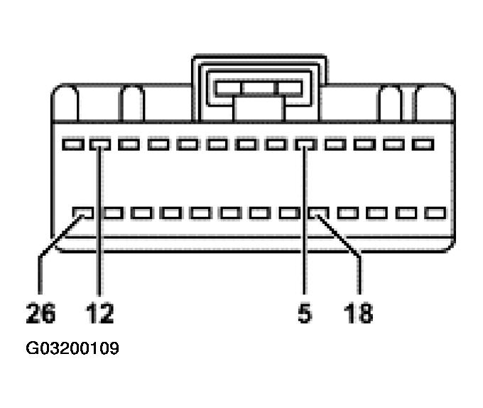
Fig 1: Identifying Front Electronic Module C201E Connector Pins
G03200109Courtesy of FORD MOTOR CO.
C201E CONNECTOR PINS REFERENCE

Pin Number(s) Circuit Designation/Description Normal Condition/Measurement
5 8-AL 18 (WH/RD) pedal position feedback circuit (FEM uses signal to recall pedal position from memory) Voltage varies with pedal position, continuity between FEM and adjustable pedal motor.
12 34-AL 18 (BU/RD) adjustable pedal motor rearward (away from driver) Greater than 10 volts with adjustable pedal motor moves rearward. Provides ground to adjustable pedal motor when adjustable pedal motor moves forward.
18 9-AL 18 (BN/RD) adjustable pedal potentiometer signal ground to FEM, (-), and diagnostic feedback circuit Resistance between 3,600 and 5,400 ohms, 0 voltage, when connected.
26 35-AL 18 (VT/BU) adjustable pedal motor forward (toward driver) Greater than 10 volts with adjustable pedal motor moves forward. Provides ground to adjustable pedal motor when adjustable pedal motor moves rearward.