LEMON Manuals: Even more car manuals for everyone: 1960-2025
Home >> Ford >> 2000 >> ZX2 Standard >> Repair and Diagnosis >> External Pages >> Different car >> Section 610 (HVAC - Climate Control System) >> General Procedures >> Spring Lock Coupling >> Cleaning
April 5, 2026: LEMON Manuals is launched! Read the announcement.

Spring Lock Coupling: Cleaning

WARNING: This page is about a different car, the 2004 Mercury Mountaineer and 2004 Ford Explorer. However, it is still accessible from the selected car via links, so may be relevant.
  1. Fabricate a cleaning tool from a 1/8-inch diameter brazing rod.
    Fig 1: Identifying Dimensions For Making Cleaning Tool
    G03182882Courtesy of FORD MOTOR CO.
  2. Cut an abrasive pad from maroon colored 3M Scotch Brite® with the dimensions corresponding to the coupling size.
    COUPLING AND PAD SIZE

    Coupling Size Pad Size
    3/8 inch 25 x 50 mm (1 x 2 inch)
    1/2 inch 25 x 50 mm (1 x 2 inch)
    5/8 inch 25 x 76 mm (1 x 3 inch)
    3/4 inch 25 x 102 mm (1 x 4 inch)
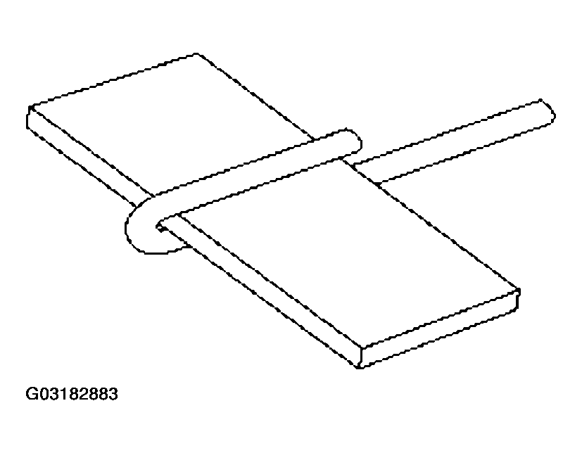
  3. Assemble the pad to the tool.
    Fig 2: Assembling Pad To Tool
    G03182883Courtesy of FORD MOTOR CO.
  4. Coat the abrasive pad with mineral oil.
  5. Roll the pad on the tool and install it in a variable speed drill motor.
  6. CAUTION: Maintain low speed drill rotation when inserting or removing the cleaning tool to prevent axial scratches which may cause future leaks.
    Fig 3: Cleaning Fitting With Lint-Free Cloth
    G03182884Courtesy of FORD MOTOR CO.
  7. Polish for one minute at moderate speed (less than 1,500 RPM) or until the surface is clean and free of scratches or foreign material.
  8. Clean the fitting with a lint-free cloth.
  9. Inspect the surface for grooves or scratches. If grooves and scratches are still present, install a new component.
  10. Clean the O-ring seal grooves with a 300-mm (12-inch) length of natural fiber string.
    • Loop the string around the grooves and pull the string back and forth.
    Fig 4: Cleaning O-Ring Seal Grooves With Natural Fiber String
    G03182885Courtesy of FORD MOTOR CO.
  11. Remove any foreign material from the grooves with a lint-free cloth.