LEMON Manuals: Even more car manuals for everyone: 1960-2025
Home >> Ford >> 2000 >> ZX2 Standard >> Repair and Diagnosis >> External Pages >> Different car >> Section 810 (Component Testing) >> Component Testing >> Moonroof adjust switch
April 5, 2026: LEMON Manuals is launched! Read the announcement.

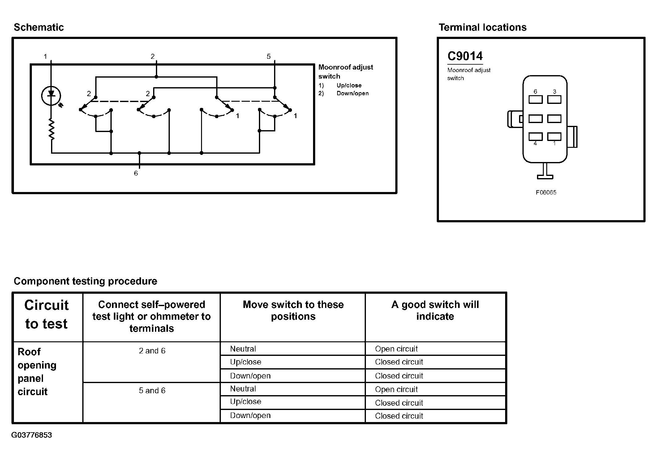
Moonroof adjust switch

WARNING: This page is about a different car, the 2003 Ford Focus. However, it is still accessible from the selected car via links, so may be relevant.
Fig 1: Testing Moonroof Adjust Switch
G03776853Courtesy of FORD MOTOR CO.