LEMON Manuals: Even more car manuals for everyone: 1960-2025
Home >> Ford >> 2000 >> ZX2 Standard >> Repair and Diagnosis >> External Pages >> Different car >> Section 933 (Seat System) >> Removal And Installation >> Seat Control Switch >> Installation
April 5, 2026: LEMON Manuals is launched! Read the announcement.

Seat Control Switch: Installation

WARNING: This page is about a different car, the 2005 Ford RV Cutaway, 2005 Ford Econoline, 2005 Ford E450 Super Duty, and 2005 Ford Cutaway. However, it is still accessible from the selected car via links, so may be relevant.
    1. Install the seat control switch to the front seat back latch lower cover.
    2. Install the screws.
    3. Route the front seat back latch lower cover to the seat.
    4. Position the front seat back latch lower cover to the seat.
      Fig 1: Installing Seat Control Switch To Front Seat Back Latch Lower Cover
      G03890794Courtesy of FORD MOTOR CO.
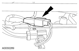
  1. Connect the seat control switch electrical connector.
    Fig 2: Seat Control Switch Electrical Connector
    G03890792Courtesy of FORD MOTOR CO.
  2. Install the front seat back latch cover screw to the underside of the seat.
    Fig 3: Locating Cushion Outboard Side Shield Rear Screw
    G03890796Courtesy of FORD MOTOR CO.
  3. Install the front seat back latch lower cover screw to the front of the seat.
    Fig 4: Locating Cushion Outboard Side Shield Front Screw
    G03890797Courtesy of FORD MOTOR CO.
  4. Install the screw behind the seat back latch handle.
    Fig 5: Locating Screw Behind Seat Back Latch Handle
    G03890789Courtesy of FORD MOTOR CO.
  5. Repower the SRS. For additional information, refer to Supplemental Restraint System (SRS) Depowering and Repowering in the General Procedures portion of SUPPLEMENTAL RESTRAINT SYSTEM .
  6. Check the restraint system for correct operation. For additional information, refer to SAFETY BELT SYSTEM .