LEMON Manuals: Even more car manuals for everyone: 1960-2025
Home >> Ford >> 2001 >> Excursion 2WD V8-7.3L DSL Turbo VIN F >> Repair and Diagnosis >> Relays and Modules >> Relays and Modules - Brakes and Traction Control >> Electronic Brake Control Module >> Service and Repair >> Vehicles Built Before 11/30/00
April 5, 2026: LEMON Manuals is launched! Read the announcement.

Vehicles Built Before 11/30/00

Removal
1. Remove the Electronic Hydraulic Control Unit (EHCU).





2. Disconnect the pump motor electrical connector from the anti-lock brake control module.





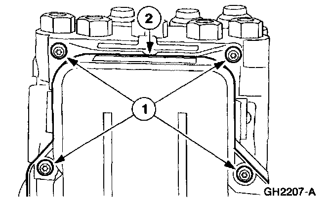
3. Remove the anti-lock brake control module.
1 Remove the screws.
2 Remove the anti-lock brake control module.

Installation





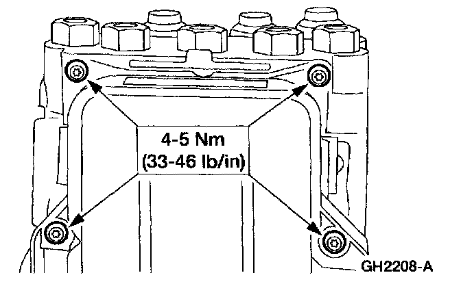
1. To install, reverse the removal procedure.